US12410994 - Polymer-based cartridge casing for subsonic ammunition

cartridgeammunitionpolymer
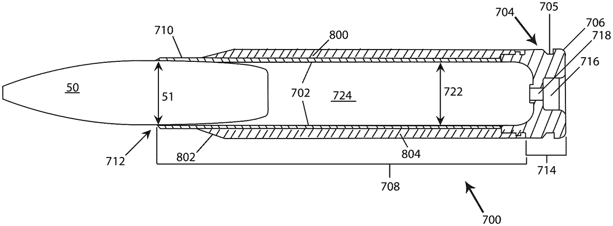
The patent describes a high-strength polymer-based blank cartridge designed for subsonic ammunition, featuring a metal sleeve and a polymer sheath that together create a propellant chamber with a reduced volume compared to standard cartridges. This innovative design aims to enhance performance while maintaining structural integrity and reducing weight.
Claim 1
- A high strength polymer-based blank cartridge comprising: a first end; a shoulder disposed approximate the first end; a second end opposite the first end; an insert engaged to the second end; a metal sleeve integral with the insert, extending continuously from the insert to the shoulder; a polymer sheath covering at least the metal sleeve, the polymer sheath molded directly over an outer surface of the metal sleeve; and a propellant chamber, formed between the shoulder and the insert by at least the metal sleeve, and having an unobstructed and a reduced volume; the reduced volume is reduced in comparison to a propellant chamber of a standard cartridge. a first end; a shoulder disposed approximate the first end; a second end opposite the first end; an insert engaged to the second end; a metal sleeve integral with the insert, extending continuously from the insert to the shoulder; a polymer sheath covering at least the metal sleeve, the polymer sheath molded directly over an outer surface of the metal sleeve; and a propellant chamber, formed between the shoulder and the insert by at least the metal sleeve, and having an unobstructed and a reduced volume; the reduced volume is reduced in comparison to a propellant chamber of a standard cartridge.
Google Patents
https://patents.google.com/patent/US12410994
USPTO PDF
https://image-ppubs.uspto.gov/dirsearch-public/print/downloadPdf/12410994