US12410995 - Diversionary device with electronic trigger and directed high efficiency output

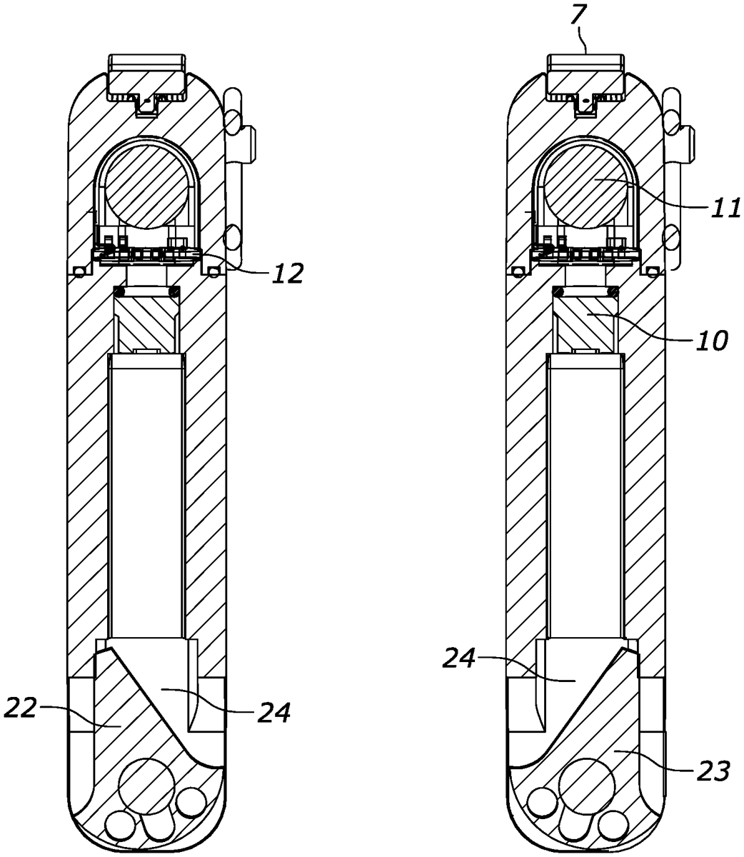
The patent describes a single-use diversionary device featuring a semi-hollow barrel with a pressure-resistant bulkhead and a pivotable gate that directs explosions in multiple directions. It includes electronic delay circuitry housed in a molded cap attached to the closed end of the barrel.
Claim 1
- A single use diversionary device, comprising: a semi-hollow barrel having a closed first end forming a pressure-resistant bulkhead and a second open end that receives one or more powder filled cartridge assemblies; a pivotable gate mounted at the second open end of the barrel and configured to direct an explosion in only one of two possible directions, wherein the pivotable gate is positioned based on an orientation of the diversionary device after the diversionary device is deployed; and a molded cap containing electronic circuitry attached to the closed first end. a semi-hollow barrel having a closed first end forming a pressure-resistant bulkhead and a second open end that receives one or more powder filled cartridge assemblies; a pivotable gate mounted at the second open end of the barrel and configured to direct an explosion in only one of two possible directions, wherein the pivotable gate is positioned based on an orientation of the diversionary device after the diversionary device is deployed; and a molded cap containing electronic circuitry attached to the closed first end.
Google Patents
https://patents.google.com/patent/US12410995
USPTO PDF
https://image-ppubs.uspto.gov/dirsearch-public/print/downloadPdf/12410995