US12416479 - Apparatus for use in a wireless detonator system

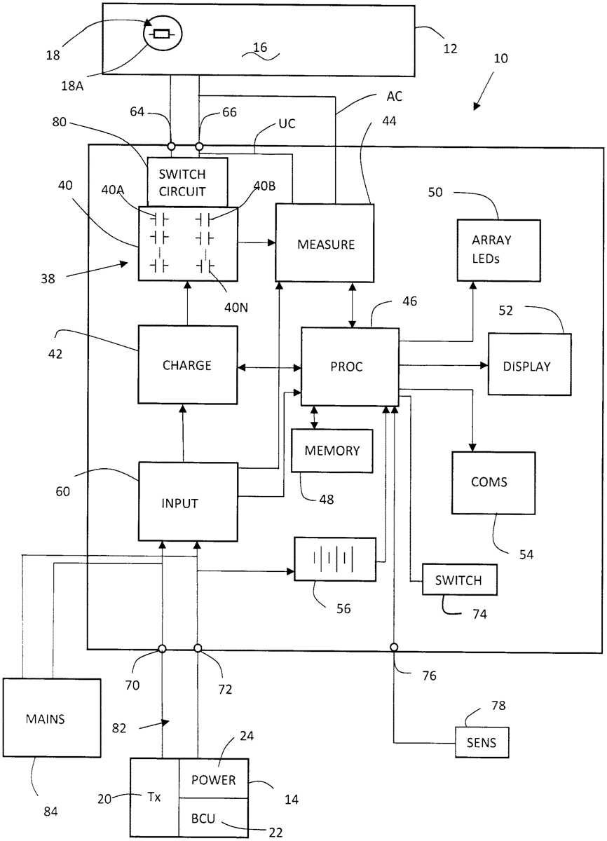
The patent describes an apparatus designed for a wireless detonator system, featuring a portable housing that contains a bank of capacitors, connection terminals for an antenna and transmitter, and a measurement circuit to assess the integrity of these connections. The output device generates signals based on the integrity measurements, enhancing the reliability of the detonator system.
Claim 1
- Apparatus for use in a wireless detonator system, the apparatus including a housing and, mounted in or to the housing, a bank of capacitors, antenna terminals on the capacitors for connection to an antenna, input terminals for connection at least to a transmitter arrangement, a charging circuit for charging the capacitors, a measurement circuit configured to measure the integrity of connections of the antenna made to the antenna terminals and to measure the integrity of connections of the transmitter arrangement made to the input terminals, and an output device, responsive to the measurement circuit, to provide an output signal which is dependent on the integrity measurements.
Google Patents
https://patents.google.com/patent/US12416479
USPTO PDF
https://image-ppubs.uspto.gov/dirsearch-public/print/downloadPdf/12416479