US12416480 - Detonator support device for charging a blasthole, blasting system, method of preparing a detonator support device, explosive material charging vehicle and data medium

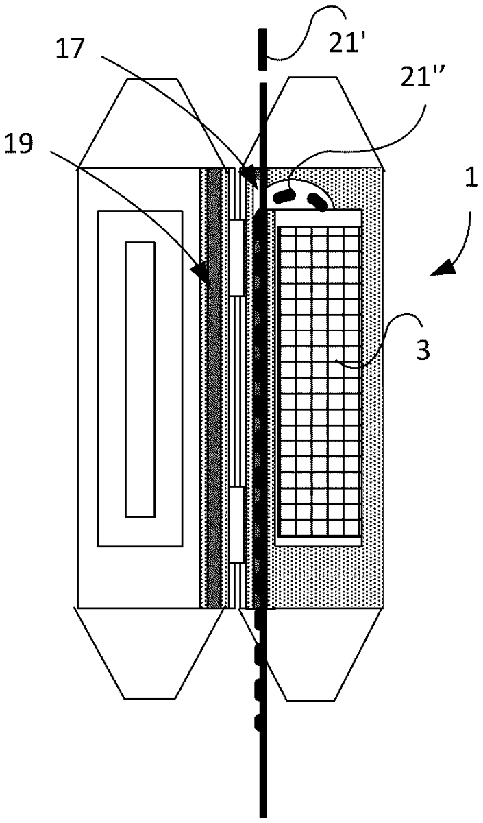
The invention describes a detonator support device designed to internally hold an elongated detonator unit, featuring a hinged design for secure closure and cord engagement. It is adaptable for various blasting charge applications in boreholes and includes a concave recess for accommodating a charging hose.
Claim 1
- A detonator support device configured for internally supporting an elongated detonator unit, the detonator support device is configured to be used for different blasting charge applications and systems in a borehole, the detonator support device exhibits an upper end and a lower end and comprises: a first elongated sidewall hingedly coupled to a second elongated sidewall via a hinge member, a latching member of the detonator support device is configured to secure the first elongated sidewall to the second elongated sidewall in a closed state, a first cord clamping surface of the first elongated sidewall is configured to come in position opposite a second cord clamping surface of the second elongated sidewall in said closed state for engagement with at least one cord member, an exterior of the first or second elongated sidewall is formed with a concave elongated recess extending along a prolongation of the first or second elongated sidewall, the concave elongated recess is configured to encompass a charging hose used for charging the borehole with the detonator support device.
Google Patents
https://patents.google.com/patent/US12416480
USPTO PDF
https://image-ppubs.uspto.gov/dirsearch-public/print/downloadPdf/12416480