US12418056 - System for supplying power to a portable battery using at least one solar panel

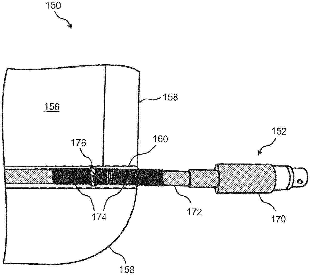
The patent describes a solar-powered system for charging a portable battery pack, featuring a customizable, MOLLE-compatible pouch that houses the battery. It includes flexible leads with a spring mechanism designed to enhance the connection between the battery and its cover.
Claim 1
- A system for charging a battery pack comprising: one or more batteries including a battery cover configured to accommodate wires of one or more flexible leads; and wherein the one or more flexible leads include a wiring portion, wherein a spring is provided around the wiring portion, and wherein the wiring portion and the spring are held in the battery cover such that a portion of the spring extends past the interior surface of the battery cover and a portion of the spring extends past the exterior surface of the battery cover. one or more batteries including a battery cover configured to accommodate wires of one or more flexible leads; and wherein the one or more flexible leads include a wiring portion, wherein a spring is provided around the wiring portion, and wherein the wiring portion and the spring are held in the battery cover such that a portion of the spring extends past the interior surface of the battery cover and a portion of the spring extends past the exterior surface of the battery cover.
Google Patents
https://patents.google.com/patent/US12418056
USPTO PDF
https://image-ppubs.uspto.gov/dirsearch-public/print/downloadPdf/12418056