US12421008 - Adaptable foam grid system for insertion into protective case

The patent describes an adaptable foam grid system designed to secure valuable or fragile items, such as firearms, within a protective case using a lattice grid plate and friction-fit pegs. This system allows for the insertion of objects, which depress certain pegs while securing them laterally with remaining upright pegs, ensuring protection during transport.
Claim 1
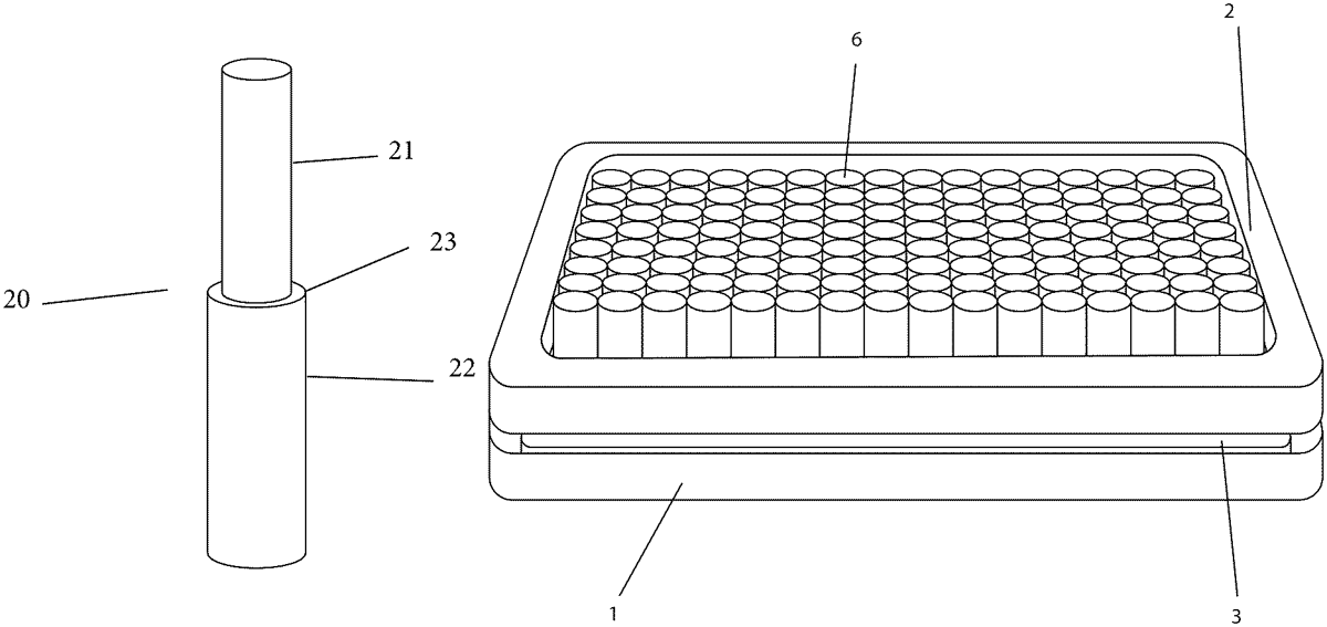
- An insert for protecting a valuable/fragile item in a case, consisting of: a lower support, a grid plate, and a plurality of pegs, wherein the grid plate comprises a lattice that defines a plurality of openings, wherein each of the plurality of openings has an opening width, wherein the plurality of pegs fit within the plurality of openings, wherein each of the plurality of pegs has a peg width, and the peg width is slightly larger than the opening width, such that each of the plurality of pegs is frictionally but movably secured in each opening, wherein the grid plate is located above the lower support such that a negative space is created below the grid plate, wherein an object is pressed into the plurality of pegs, resulting in some depressed pegs being depressed into the negative space and some original pegs remaining in an upright position, wherein the object is secured on an object bottom by the depressed pegs and secured on an object side by the original pegs, where the lower support is a lower perimeter wherein the lower perimeter has two lower side members which define a lower space and wherein the lower space is bounded on four sides by the lower perimeter, and additionally comprising an upper perimeter, wherein the upper perimeter has two upper side members which define an upper space wherein the grid plate is located above the lower support and below the upper perimeter. a lower support, a grid plate, and a plurality of pegs, wherein the grid plate comprises a lattice that defines a plurality of openings, wherein each of the plurality of openings has an opening width, wherein the plurality of pegs fit within the plurality of openings, wherein each of the plurality of pegs has a peg width, and the peg width is slightly larger than the opening width, such that each of the plurality of pegs is frictionally but movably secured in each opening, wherein the grid plate is located above the lower support such that a negative space is created below the grid plate, wherein an object is pressed into the plurality of pegs, resulting in some depressed pegs being depressed into the negative space and some original pegs remaining in an upright position, wherein the object is secured on an object bottom by the depressed pegs and secured on an object side by the original pegs, where the lower support is a lower perimeter wherein the lower perimeter has two lower side members which define a lower space and wherein the lower space is bounded on four sides by the lower perimeter, and additionally comprising an upper perimeter, wherein the upper perimeter has two upper side members which define an upper space wherein the grid plate is located above the lower support and below the upper perimeter.
Google Patents
https://patents.google.com/patent/US12421008
USPTO PDF
https://image-ppubs.uspto.gov/dirsearch-public/print/downloadPdf/12421008