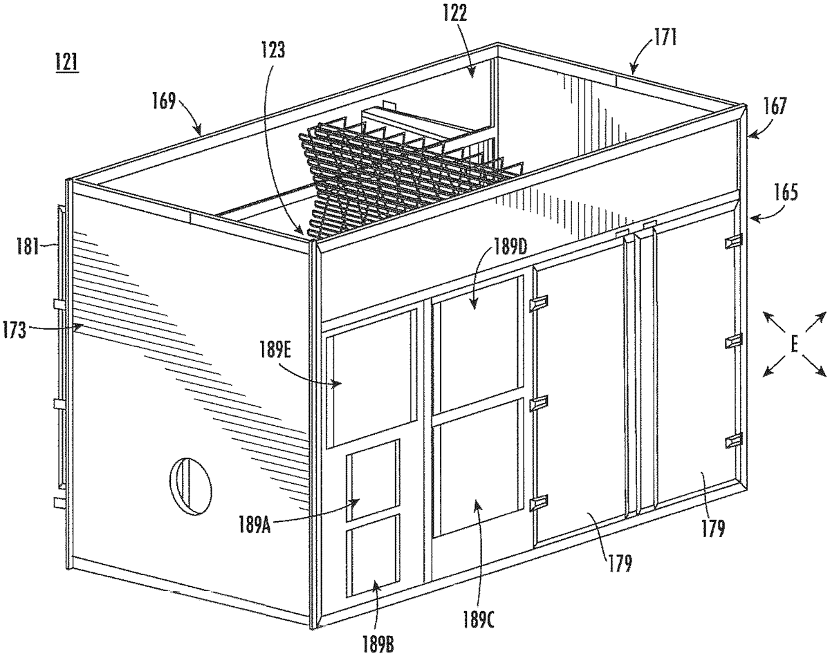
US12421835 - Shield for enclosure assembly of a turbine and related methods

The patent describes a hydraulic fracturing system that includes an enclosure with anti-ballistic materials integrated into its walls to protect the prime mover and other components. This design aims to enhance safety by mitigating the impact of potential ballistic threats during operation.
Claim 1
- A hydraulic fracturing system comprising: one or more water tanks; one or more proppant tanks; a blender configured to receive water from the water tank(s) and proppant from the proppant tank(s); and one or more pumping units, each comprising: a hydraulic fracturing pump that is in fluid communication with: the blender; and one or more wellheads; a prime mover configured to drive the hydraulic fracturing pump; and an enclosure that includes: a body that comprises walls; and one or more anti-ballistic materials; wherein: the prime mover is housed in the body of the enclosure; and for at least one of the walls of the body of the enclosure, at least one of the anti-ballistic material(s) is attached to an inner surface of the wall. one or more water tanks; one or more proppant tanks; a blender configured to receive water from the water tank(s) and proppant from the proppant tank(s); and one or more pumping units, each comprising: a hydraulic fracturing pump that is in fluid communication with: the blender; and one or more wellheads; a prime mover configured to drive the hydraulic fracturing pump; and an enclosure that includes: a body that comprises walls; and one or more anti-ballistic materials; wherein: the prime mover is housed in the body of the enclosure; and for at least one of the walls of the body of the enclosure, at least one of the anti-ballistic material(s) is attached to an inner surface of the wall. a hydraulic fracturing pump that is in fluid communication with: the blender; and one or more wellheads; the blender; and one or more wellheads; a prime mover configured to drive the hydraulic fracturing pump; and an enclosure that includes: a body that comprises walls; and one or more anti-ballistic materials; wherein: the prime mover is housed in the body of the enclosure; and for at least one of the walls of the body of the enclosure, at least one of the anti-ballistic material(s) is attached to an inner surface of the wall. a body that comprises walls; and one or more anti-ballistic materials; wherein: the prime mover is housed in the body of the enclosure; and for at least one of the walls of the body of the enclosure, at least one of the anti-ballistic material(s) is attached to an inner surface of the wall. the prime mover is housed in the body of the enclosure; and for at least one of the walls of the body of the enclosure, at least one of the anti-ballistic material(s) is attached to an inner surface of the wall.
Google Patents
https://patents.google.com/patent/US12421835
USPTO PDF
https://image-ppubs.uspto.gov/dirsearch-public/print/downloadPdf/12421835