US12422210 - Techniques and device structures based upon directional dielectric deposition and bottom-up fill

This patent describes a method for creating void-free material depositions on device structures, utilizing angled dielectric deposition techniques. The process involves forming a dielectric layer on the top surfaces and upper sidewalls of the structures, followed by filling trenches with material.
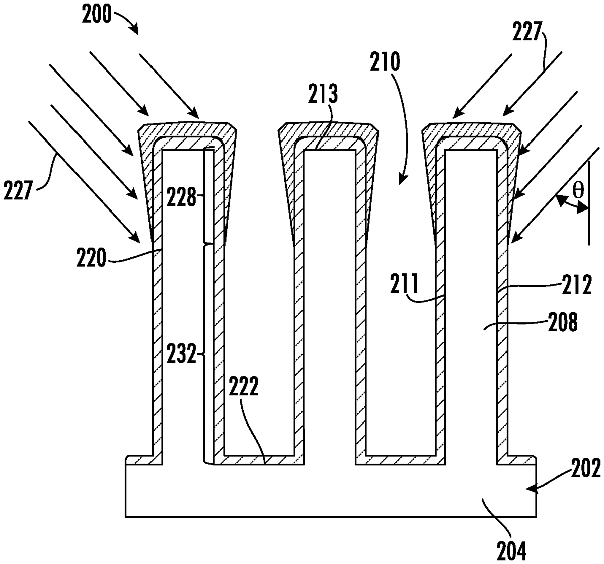
Claim 1
- A method, comprising: providing a plurality of device structures extending from a base, each of the plurality of device structures including a first sidewall opposite a second sidewall; forming a dielectric layer along just a top surface of each of the plurality of device structures and along an upper portion of the first and second sidewalls using an angled deposition delivered to the plurality of device structures at a non-zero angle of inclination relative to a perpendicular extending from an upper surface of the base; and forming a fill material within one or more trenches defined by the plurality of device structures. providing a plurality of device structures extending from a base, each of the plurality of device structures including a first sidewall opposite a second sidewall; forming a dielectric layer along just a top surface of each of the plurality of device structures and along an upper portion of the first and second sidewalls using an angled deposition delivered to the plurality of device structures at a non-zero angle of inclination relative to a perpendicular extending from an upper surface of the base; and forming a fill material within one or more trenches defined by the plurality of device structures.
Google Patents
https://patents.google.com/patent/US12422210
USPTO PDF
https://image-ppubs.uspto.gov/dirsearch-public/print/downloadPdf/12422210