US12422211 - String shooting device

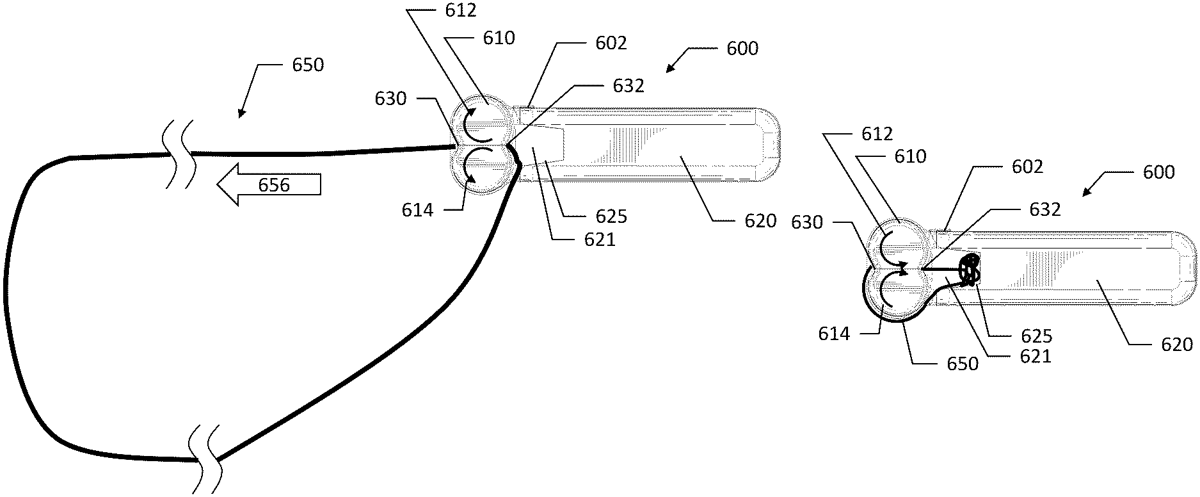
The patent describes a wearable string shooting device that is activated by specific body movements, allowing the user to propel or retrieve a looped string. It features a pair of wheels, one of which is driven, and an actuator that controls the direction of the wheel’s rotation to either launch the string or draw it back into a storage cavity.
Claim 1
- A device for propelling a looped string comprising: a body; a pair of wheels supported by the body, wherein at least one wheel of the pair of wheels is a driven wheel; a cavity sized to receive and store the looped string; and an actuator including a first position that directs the driven wheel to rotate in a first direction to propel the looped string in a direction away from the body and into air, the actuator including a second position that directs the driven wheel to rotate in a second direction, opposite the first direction, to retrieve the looped string by propelling the looped string in the second direction toward the cavity and into the cavity where the looped string is gathered, wherein a length of the looped string within the cavity increases as the looped string is retrieved, wherein a length of the looped string remains within a gap disposed between the pair of wheels when propelled away from the body and into the air and a length of the looped string remains within the gap between the pair of wheels when a portion of the looped string is received within the cavity. a body; a pair of wheels supported by the body, wherein at least one wheel of the pair of wheels is a driven wheel; a cavity sized to receive and store the looped string; and an actuator including a first position that directs the driven wheel to rotate in a first direction to propel the looped string in a direction away from the body and into air, the actuator including a second position that directs the driven wheel to rotate in a second direction, opposite the first direction, to retrieve the looped string by propelling the looped string in the second direction toward the cavity and into the cavity where the looped string is gathered, wherein a length of the looped string within the cavity increases as the looped string is retrieved, wherein a length of the looped string remains within a gap disposed between the pair of wheels when propelled away from the body and into the air and a length of the looped string remains within the gap between the pair of wheels when a portion of the looped string is received within the cavity.
Google Patents
https://patents.google.com/patent/US12422211
USPTO PDF
https://image-ppubs.uspto.gov/dirsearch-public/print/downloadPdf/12422211