US12429302 - Multi-shot airgun

The patent describes a multi-shot airgun featuring a break barrel design that utilizes a rotary magazine to enable the loading of multiple projectiles. This innovative loading system incorporates engagement components to minimize backlash and ensure proper alignment of the projectiles with the barrel during operation.
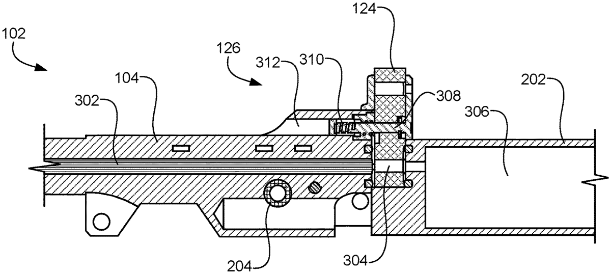
Claim 1
- An airgun comprising: a breech comprising a first face with a port from which a compressed gas can flow; a barrel defining a passageway through the barrel with an opening at a back barrel face with the passageway sized to receive a projectile; a pivot joining the barrel to the breech such that the barrel can be moved between a firing position where the opening is positioned to receive the compressed gas and a cocking position; a rotary magazine comprising: a turret comprising a plurality of projectile holders arranged around a central axis of the turret; a center channel positioned at the central axis of the turret, the turret configured to rotate around the center channel; and a first engagement component positioned around the center channel, the first engagement component configured to reduce backlash and prevent backwards rotation of the turret; and a magazine holder adapted to position a projectile holder of the plurality of projectile holders in alignment with the passageway, the magazine holder comprising: an arbor; a spring; and a second engagement component coupled to the arbor and biased into contact with the rotary magazine by the spring, the second engagement component configured to interface with the first engagement component, wherein: the first engagement component and the second engagement component are configured to cause lateral movement of the rotary magazine as the rotary magazine rotates; the first engagement component and second engagement component enable rotation in a first direction and limit rotation in a second direction opposite the first direction; and the first engagement component and the second engagement component are further configured to interface to bias rotation of the turret such that the plurality of projectile holders are aligned with the passageway. a breech comprising a first face with a port from which a compressed gas can flow; a barrel defining a passageway through the barrel with an opening at a back barrel face with the passageway sized to receive a projectile; a pivot joining the barrel to the breech such that the barrel can be moved between a firing position where the opening is positioned to receive the compressed gas and a cocking position; a rotary magazine comprising: a turret comprising a plurality of projectile holders arranged around a central axis of the turret; a center channel positioned at the central axis of the turret, the turret configured to rotate around the center channel; and a first engagement component positioned around the center channel, the first engagement component configured to reduce backlash and prevent backwards rotation of the turret; and a magazine holder adapted to position a projectile holder of the plurality of projectile holders in alignment with the passageway, the magazine holder comprising: an arbor; a spring; and a second engagement component coupled to the arbor and biased into contact with the rotary magazine by the spring, the second engagement component configured to interface with the first engagement component, wherein: the first engagement component and the second engagement component are configured to cause lateral movement of the rotary magazine as the rotary magazine rotates; the first engagement component and second engagement component enable rotation in a first direction and limit rotation in a second direction opposite the first direction; and the first engagement component and the second engagement component are further configured to interface to bias rotation of the turret such that the plurality of projectile holders are aligned with the passageway. the first engagement component and the second engagement component are configured to cause lateral movement of the rotary magazine as the rotary magazine rotates; the first engagement component and second engagement component enable rotation in a first direction and limit rotation in a second direction opposite the first direction; and the first engagement component and the second engagement component are further configured to interface to bias rotation of the turret such that the plurality of projectile holders are aligned with the passageway.
Google Patents
https://patents.google.com/patent/US12429302
USPTO PDF
https://image-ppubs.uspto.gov/dirsearch-public/print/downloadPdf/12429302