US12429303 - Dual pivot drop thigh mount

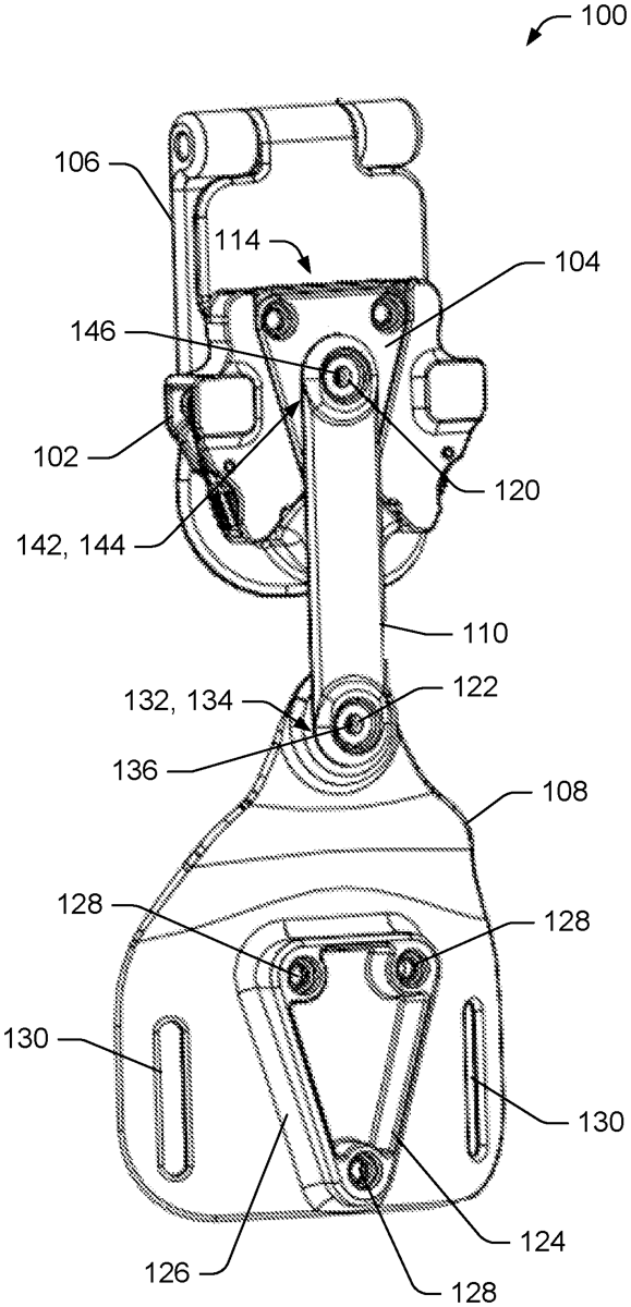
The patent describes a dual pivot drop thigh mount assembly designed to securely hold a handgun or its holster on a user’s thigh, allowing for various configurations. It features a rigid curved plate that conforms to the thigh’s contour and includes pivot points for articulation, enhancing accessibility and comfort.
Claim 1
- A holster mounting assembly, comprising: a drop thigh plate adapted to be coupled to an implement holster, the drop thigh plate comprising a rigid curved plate configured to substantially conform to a contour of a human thigh and including an attachment base with one or more holster mounting attachment points; a drop bar pivotally coupled at one end of the drop bar to an upper portion of the drop thigh plate; and a mount plate pivotally coupled to a second end of the drop bar, wherein the mount plate is adapted to couple the drop thigh plate and drop bar to an article worn by a user. a drop thigh plate adapted to be coupled to an implement holster, the drop thigh plate comprising a rigid curved plate configured to substantially conform to a contour of a human thigh and including an attachment base with one or more holster mounting attachment points; a drop bar pivotally coupled at one end of the drop bar to an upper portion of the drop thigh plate; and a mount plate pivotally coupled to a second end of the drop bar, wherein the mount plate is adapted to couple the drop thigh plate and drop bar to an article worn by a user.
Google Patents
https://patents.google.com/patent/US12429303
USPTO PDF
https://image-ppubs.uspto.gov/dirsearch-public/print/downloadPdf/12429303