US12435959 - Three target thrower system

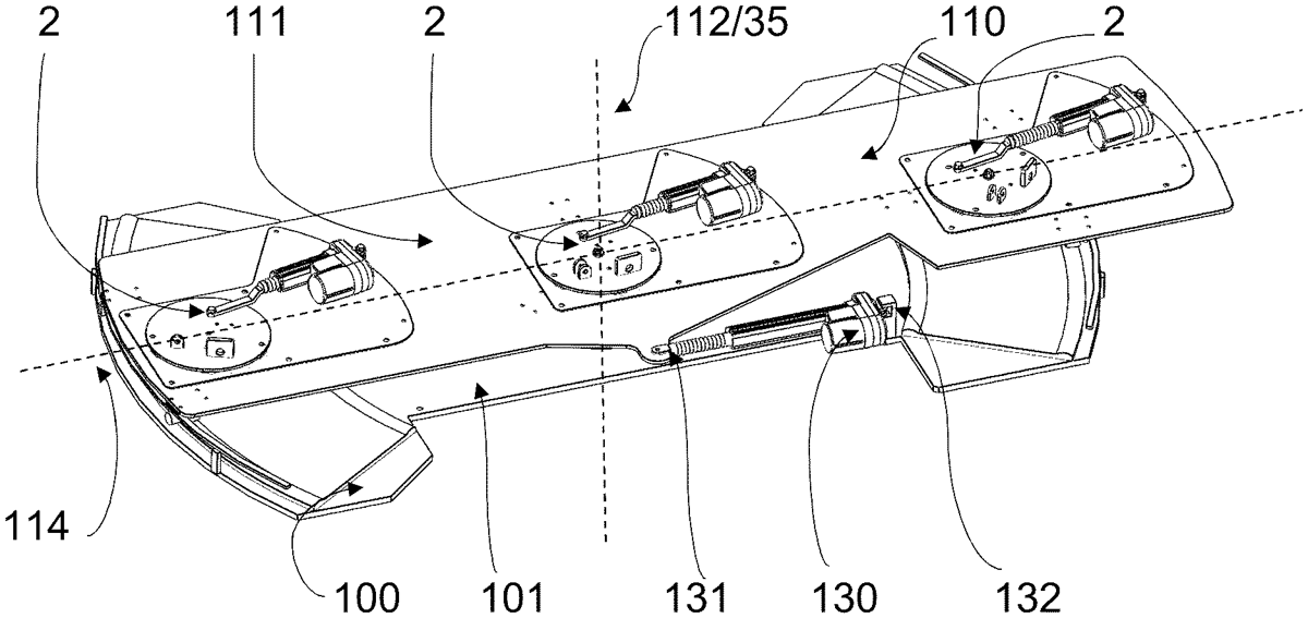
The patent describes a target throwing system for sport shooting that consists of three machines aligned in succession, each featuring a rotating throwing unit and arm. The system is designed with a common base that allows for rotational movement along a base axis, enabling each machine to cover different angular sectors of deflection.
Claim 1
- A target throwing system for sport shooting comprising, successively along a direction of alignment, a first target throwing machine, a second target throwing machine, and a third target throwing machine, each of the first machine, the second machine and the third machine comprising: a throwing unit movable in rotation relative to a base, a throwing arm movable in rotation relative to the throwing unit, a throwing unit movable in rotation relative to a base, a throwing arm movable in rotation relative to the throwing unit, wherein the base is a base common to the first target throwing machine, the second target throwing machine and the third target throwing machine, and in that it includes a stand on which the common base is movable in rotation along a base axis, further wherein each amongst the first machine, the second machine and the third machine is configured to respectively sweep a first angular sector of deflection, a second angular sector of deflection and a third angular sector of deflection, said sectors being different from each other.
Google Patents
https://patents.google.com/patent/US12435959
USPTO PDF
https://image-ppubs.uspto.gov/dirsearch-public/print/downloadPdf/12435959