US12435960 - Articulating inlet for airbreathing extended range projectiles and missiles

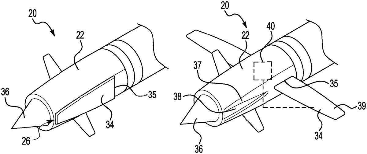
The patent describes a projectile featuring a wing structure that serves dual purposes: as an air intake for propulsion during initial flight and as a lift surface after propulsion ceases. The wings can transition between a folded position for streamlined flight and a deployed position for enhanced lift, allowing for extended range and optimal flight time.
Claim 1
- A projectile comprising: a propulsion body section; and at least one wing movable between a folded position, in which the at least one wing extends along the propulsion body section to define an inlet between a recessed portion of an outer peripheral surface of the propulsion body, and the at least one wing, which is over the recessed portion, during an initial range of flight of the projectile, and a deployed position, in which the at least one wing extends outwardly from the propulsion body section to form a lift surface for the projectile after the initial range of flight. a propulsion body section; and at least one wing movable between a folded position, in which the at least one wing extends along the propulsion body section to define an inlet between a recessed portion of an outer peripheral surface of the propulsion body, and the at least one wing, which is over the recessed portion, during an initial range of flight of the projectile, and a deployed position, in which the at least one wing extends outwardly from the propulsion body section to form a lift surface for the projectile after the initial range of flight.
Google Patents
https://patents.google.com/patent/US12435960
USPTO PDF
https://image-ppubs.uspto.gov/dirsearch-public/print/downloadPdf/12435960