US12442604 - Density altitude reticle

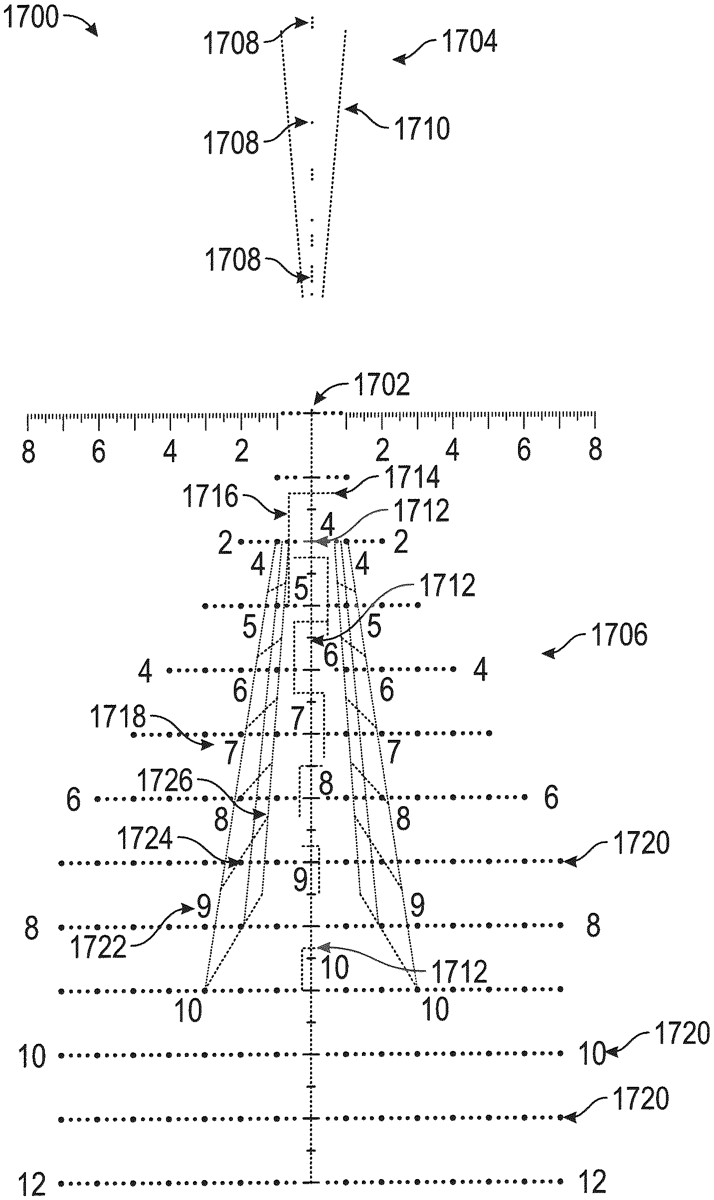
The patent describes a reticle designed for firearms that includes a crosshair, ranging section with target height chevrons, and a targeting section featuring ballistic solution chevrons, density altitude guide, and wind compensation guide. The density altitude guide consists of multiple lines indicating altitude compensation at various heights, while the wind compensation guide provides vertical dotted lines for wind adjustments at corresponding altitudes and distances.
Claim 1
- A reticle, comprising: a crosshair; a ranging section, comprising: a plurality of target height chevrons; and a target shoulder width guide; and a targeting section, comprising: a plurality of center mass ballistic solution chevrons; a plurality of known length (KL) box shoulder bars; a plurality of KL upper torso bars; a density altitude guide; and a wind compensation guide; wherein the density altitude guide comprises a plurality of density altitude guide lines that correspond with distances from a target; wherein each line of the plurality of density altitude guide lines comprises a bottom portion that corresponds to a density altitude compensation at a first altitude, a middle portion that corresponds to a density altitude compensation at a second altitude, and a top portion that corresponds to a density altitude compensation at a third altitude; and wherein the wind compensation guide comprises dotted lines running vertically through the plurality of density altitude guide lines and corresponding with a compensation of wind at an altitude and distance associated with the plurality of density altitude guide lines. a crosshair; a ranging section, comprising: a plurality of target height chevrons; and a target shoulder width guide; and a plurality of target height chevrons; and a target shoulder width guide; and a targeting section, comprising: a plurality of center mass ballistic solution chevrons; a plurality of known length (KL) box shoulder bars; a plurality of KL upper torso bars; a density altitude guide; and a wind compensation guide; wherein the density altitude guide comprises a plurality of density altitude guide lines that correspond with distances from a target; wherein each line of the plurality of density altitude guide lines comprises a bottom portion that corresponds to a density altitude compensation at a first altitude, a middle portion that corresponds to a density altitude compensation at a second altitude, and a top portion that corresponds to a density altitude compensation at a third altitude; and wherein the wind compensation guide comprises dotted lines running vertically through the plurality of density altitude guide lines and corresponding with a compensation of wind at an altitude and distance associated with the plurality of density altitude guide lines. a plurality of center mass ballistic solution chevrons; a plurality of known length (KL) box shoulder bars; a plurality of KL upper torso bars; a density altitude guide; and a wind compensation guide; wherein the density altitude guide comprises a plurality of density altitude guide lines that correspond with distances from a target; wherein each line of the plurality of density altitude guide lines comprises a bottom portion that corresponds to a density altitude compensation at a first altitude, a middle portion that corresponds to a density altitude compensation at a second altitude, and a top portion that corresponds to a density altitude compensation at a third altitude; and wherein the wind compensation guide comprises dotted lines running vertically through the plurality of density altitude guide lines and corresponding with a compensation of wind at an altitude and distance associated with the plurality of density altitude guide lines.
Google Patents
https://patents.google.com/patent/US12442604
USPTO PDF
https://image-ppubs.uspto.gov/dirsearch-public/print/downloadPdf/12442604