US12442605 - Barrel cooling block for a semi-automatic rifle

firearmsemi-automaticcoolingrifle
The patent describes a metal cooling block designed for semi-automatic rifles that enhances barrel cooling and improves shooting precision by 19% to 35%. The cooling block fits within an air-cooling shroud and features a halved cylinder cutout for optimal thermal transfer and easy replacement.
Claim 1
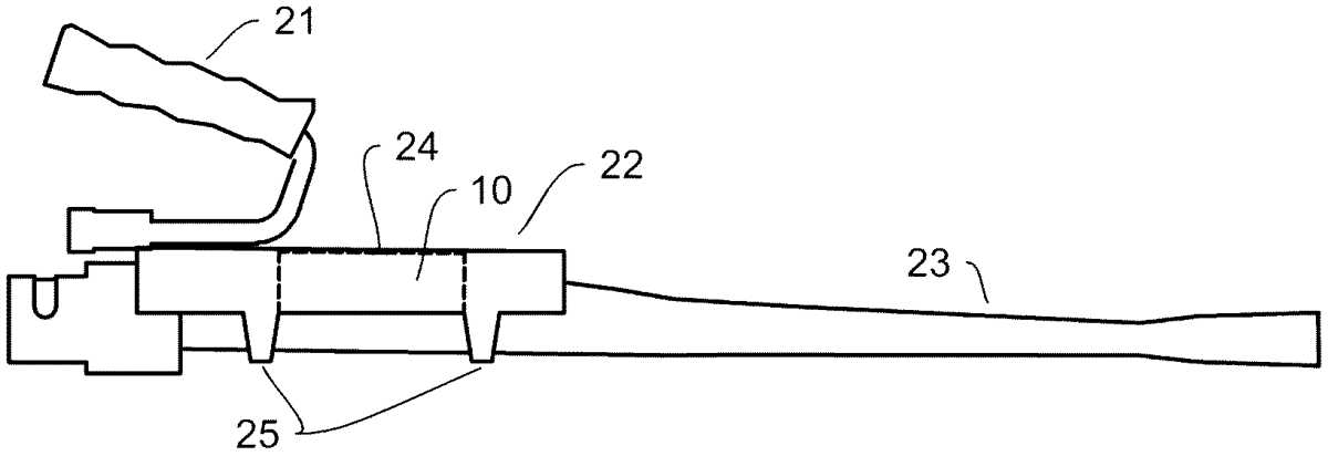
- A metal block cooling system that improves precision of a semi-automatic rifle comprising: A) a metal cooling block having a block height, a block width, and a block length, B) said metal cooling block having a halved cylinder cutout along said block length, said metal cooling block having desirable thermal characteristics for heat transfer and heat absorbing, C) said metal cooling block having a pin positioning hole on a surface opposite of said halved cylinder cutout, D) a shroud positioned above said rifle barrel and attached to said rifle barrel by a pair of shroud spring clips, E) said shroud incorporates a block positioning pin, G) said metal cooling block is positioned on said rifle barrel according to: i) being between said pair of shroud spring clips, ii) by placing said halved cylinder cutout on top of said rifle barrel, and iii) said block positioning pin being inserted into said pin positioning hole, H) whereby said metal cooling block provides additional cooling when said semi-automatic rifle is fired and said metal cooling block provides an improvement in shooting precision by 19% to 35% inclusive. A) a metal cooling block having a block height, a block width, and a block length, B) said metal cooling block having a halved cylinder cutout along said block length, said metal cooling block having desirable thermal characteristics for heat transfer and heat absorbing, C) said metal cooling block having a pin positioning hole on a surface opposite of said halved cylinder cutout, D) a shroud positioned above said rifle barrel and attached to said rifle barrel by a pair of shroud spring clips, E) said shroud incorporates a block positioning pin, G) said metal cooling block is positioned on said rifle barrel according to: i) being between said pair of shroud spring clips, ii) by placing said halved cylinder cutout on top of said rifle barrel, and iii) said block positioning pin being inserted into said pin positioning hole, i) being between said pair of shroud spring clips, ii) by placing said halved cylinder cutout on top of said rifle barrel, and iii) said block positioning pin being inserted into said pin positioning hole, H) whereby said metal cooling block provides additional cooling when said semi-automatic rifle is fired and said metal cooling block provides an improvement in shooting precision by 19% to 35% inclusive.
Google Patents
https://patents.google.com/patent/US12442605
USPTO PDF
https://image-ppubs.uspto.gov/dirsearch-public/print/downloadPdf/12442605