US12442626 - Two-part polymer ammunition casing

ammunitioncasingpolymer
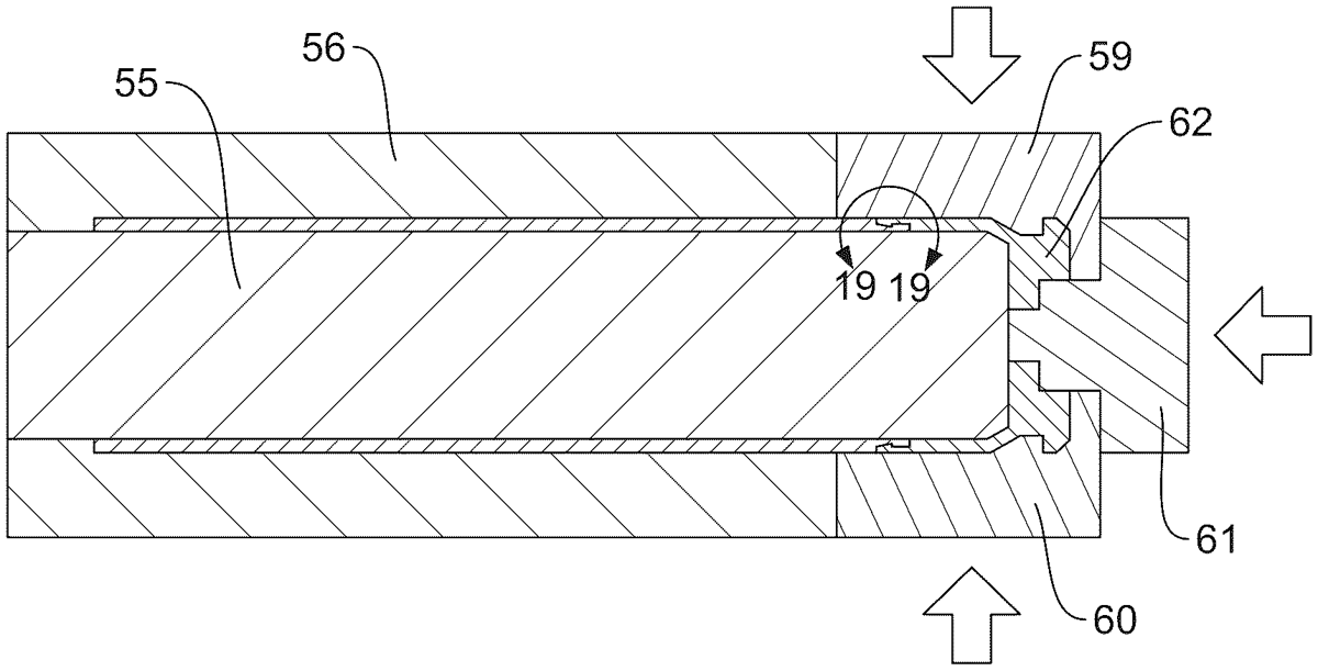
The patent describes a method for manufacturing a two-part polymer ammunition casing using injection molding, where the first part is shaped cylindrically with a mechanical connection at the stepped end. A second part is then molded around the first part’s stepped end, creating a secure, locked assembly that includes a conical tapered region at the projectile end.
Claim 1
- A method of manufacturing a casing for an ammunition cartridge, the method comprising the steps of: providing an injection mold; utilizing the injection mold, injection molding a first polymer forming a first part of the casing, wherein the first part of the casing is generally cylindrically shaped along a longitudinal axis extending from a projectile end opposite a stepped end, the stepped end forming a first end of a mechanical connection; removing at least a portion of the injection mold exposing the stepped end of the first end of the first part; disposing an additional injection mold about the stepped end of the first end of the first part; utilizing the additional injection mold, injection molding a second polymer forming a second part of the casing, wherein the second part includes a second stepped end forming a second end of the mechanical connection; wherein the first end and the second end are mechanically locked together preventing a separation of the first part from the second part; providing a thermal swagging tool; and utilizing the thermal swagging tool, forming a conical tapered region along the projectile end of the first part. providing an injection mold; utilizing the injection mold, injection molding a first polymer forming a first part of the casing, wherein the first part of the casing is generally cylindrically shaped along a longitudinal axis extending from a projectile end opposite a stepped end, the stepped end forming a first end of a mechanical connection; removing at least a portion of the injection mold exposing the stepped end of the first end of the first part; disposing an additional injection mold about the stepped end of the first end of the first part; utilizing the additional injection mold, injection molding a second polymer forming a second part of the casing, wherein the second part includes a second stepped end forming a second end of the mechanical connection; wherein the first end and the second end are mechanically locked together preventing a separation of the first part from the second part; providing a thermal swagging tool; and utilizing the thermal swagging tool, forming a conical tapered region along the projectile end of the first part.
Google Patents
https://patents.google.com/patent/US12442626
USPTO PDF
https://image-ppubs.uspto.gov/dirsearch-public/print/downloadPdf/12442626