US12442627 - Projectile stabilizers, projectiles with stabilizers, and methods of manufacturing

The patent describes a sliding stabilizer for projectiles, which enhances flight stability and accuracy while reducing assembly costs and clearance issues. It includes features such as a circumferential wing and fins that promote rotation during launch, allowing for easy field replacement and improved storage.
Claim 1
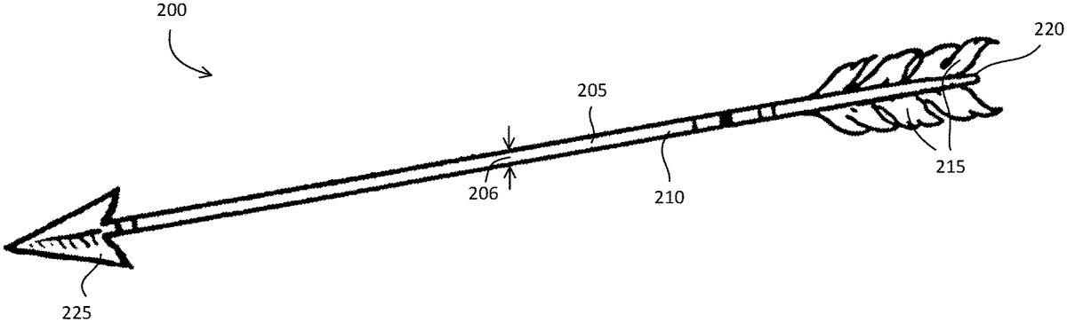
- An arrow including: a shaft, the shaft having an outside diameter, the shaft having a first end and a second end and defining a central axis and a stop proximate the second end; a tip at the first end of the shaft a stabilizer for the arrow placed upon the second end of the shaft, the stabilizer comprising a shaft receptacle that is less than the outside diameter of the prior to the shaft being received within the shaft receptacle, wherein the stabilizer includes a plurality of fins oriented with respect to the central axis such that the stabilizer encourages arrow rotation about the central axis when the arrow is launched, and wherein a breakaway coefficient of friction between an inner surface of the shaft receptacle and an outer surface of the shaft is above a rotational force that the stabilizer exerts on the shaft when the projectile is projected, the stabilizer further comprising a mating feature adapted to engage the stabilizer with the stop. a shaft, the shaft having an outside diameter, the shaft having a first end and a second end and defining a central axis and a stop proximate the second end; a tip at the first end of the shaft a stabilizer for the arrow placed upon the second end of the shaft, the stabilizer comprising a shaft receptacle that is less than the outside diameter of the prior to the shaft being received within the shaft receptacle, wherein the stabilizer includes a plurality of fins oriented with respect to the central axis such that the stabilizer encourages arrow rotation about the central axis when the arrow is launched, and wherein a breakaway coefficient of friction between an inner surface of the shaft receptacle and an outer surface of the shaft is above a rotational force that the stabilizer exerts on the shaft when the projectile is projected, the stabilizer further comprising a mating feature adapted to engage the stabilizer with the stop.
Google Patents
https://patents.google.com/patent/US12442627
USPTO PDF
https://image-ppubs.uspto.gov/dirsearch-public/print/downloadPdf/12442627