US12449244 - Holder device

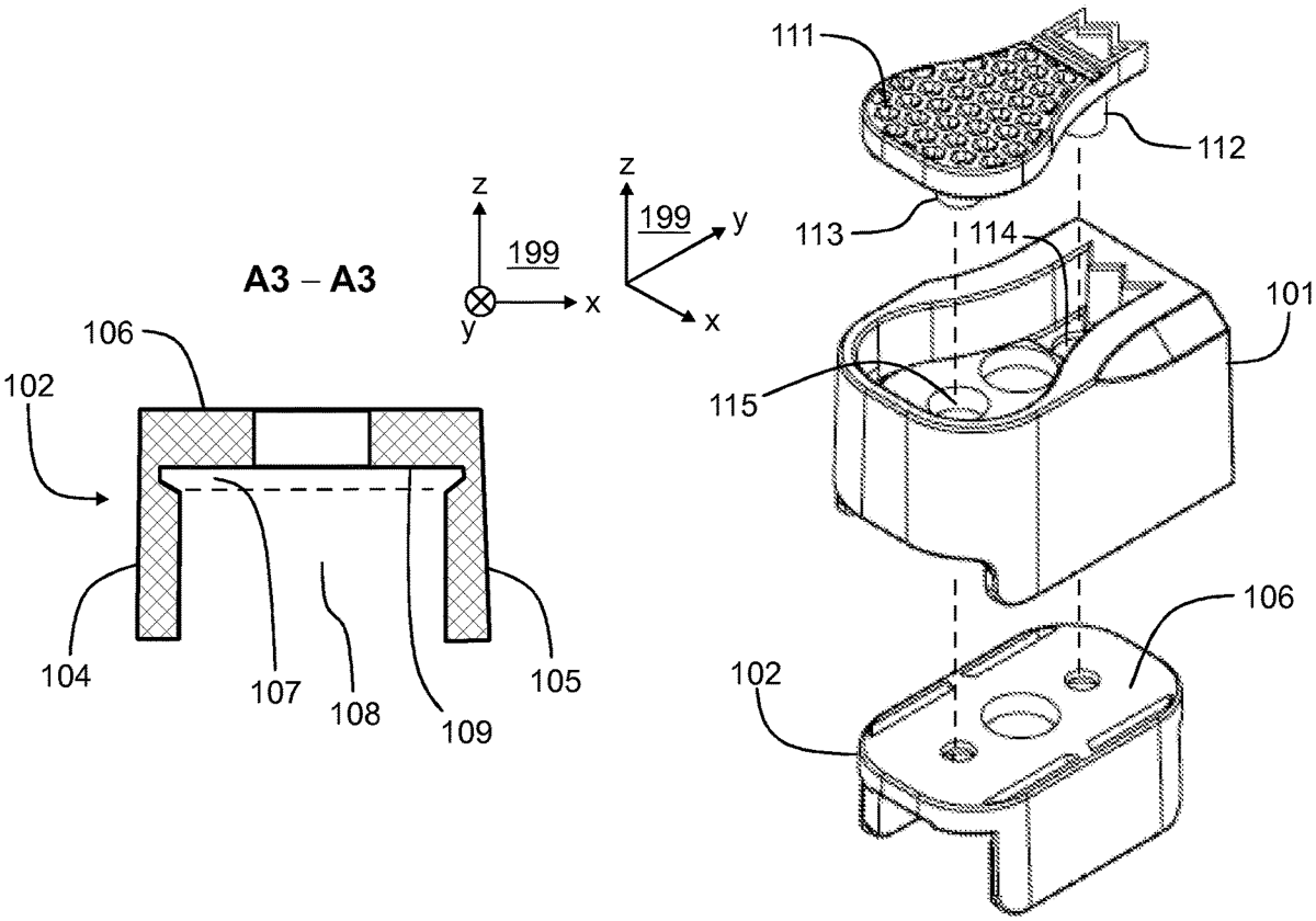
The patent describes a holder device designed to securely hold objects using a moveable carrier element that can transition between two positions, controlled by a force generating system. In the first position, a rim closes the trough to prevent movement of the objects, while in the second position, the trough allows for the longitudinal movement of objects.
Claim 1
- A holder device comprising: a holder body, a carrier element linearly moveable with respect to the holder body and configured to hold one or more objects, and a force generating system configured to generate force tending to move the carrier element in a first direction to a first position with respect to the holder body when the carrier element is in a second position away from the first position, wherein the carrier element comprises two wall sections parallel with and a distance away from each other and an intermediate section connected to the wall sections, the wall sections and the intermediate section constituting a trough having a longitudinal direction perpendicular to the first direction, a wider area closer to a bottom of the trough, and a narrower area farther from the bottom of the trough, wherein a rim of the holder body is configured to close at least the wider area of the trough when the carrier element is in the first position to prevent the one or more objects from moving in the longitudinal direction out from the trough, and the wider area of the trough is farther in a second direction opposite to the first direction than the rim of the holder body when the carrier element is in the second position to allow the one or more objects to be moved in the longitudinal direction out from the trough. a holder body, a carrier element linearly moveable with respect to the holder body and configured to hold one or more objects, and a force generating system configured to generate force tending to move the carrier element in a first direction to a first position with respect to the holder body when the carrier element is in a second position away from the first position, wherein the carrier element comprises two wall sections parallel with and a distance away from each other and an intermediate section connected to the wall sections, the wall sections and the intermediate section constituting a trough having a longitudinal direction perpendicular to the first direction, a wider area closer to a bottom of the trough, and a narrower area farther from the bottom of the trough, wherein a rim of the holder body is configured to close at least the wider area of the trough when the carrier element is in the first position to prevent the one or more objects from moving in the longitudinal direction out from the trough, and the wider area of the trough is farther in a second direction opposite to the first direction than the rim of the holder body when the carrier element is in the second position to allow the one or more objects to be moved in the longitudinal direction out from the trough.
Google Patents
https://patents.google.com/patent/US12449244
USPTO PDF
https://image-ppubs.uspto.gov/dirsearch-public/print/downloadPdf/12449244