US12449245 - Power charge ignition

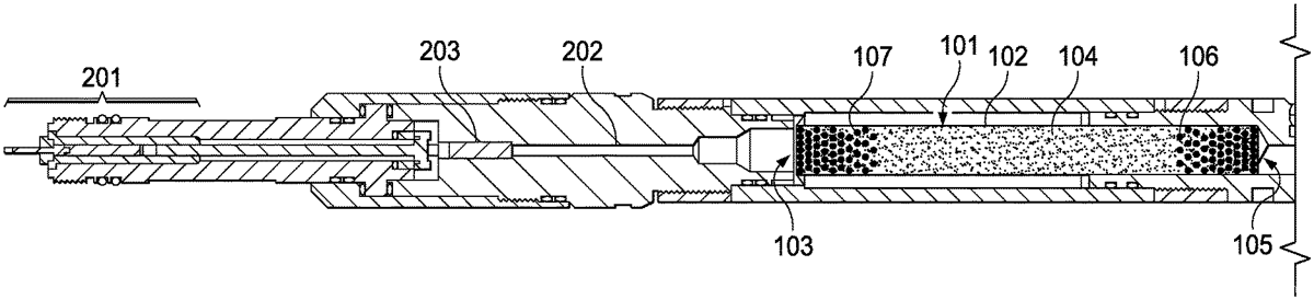
The patent describes a setting tool designed for downhole wellbore applications that utilizes a dual-propellant system, where an ignition propellant is concentrated at one end and gradually mixes with a main propellant. Upon ignition, the resulting pressure drives a piston, facilitating the tool’s operation.
Claim 1
- A setting tool comprising: an igniter; a power charge having a first end, a second end, a mid-section, a main propellant within the housing proximate the mid-section comprising a main propellant, and a first ignition portion within the housing proximate the first end comprising a first mixture of the main propellant and an ignition propellant; and a piston; wherein the igniter ignites the first ignition portion which produces pressure that drives the piston. an igniter; a power charge having a first end, a second end, a mid-section, a main propellant within the housing proximate the mid-section comprising a main propellant, and a first ignition portion within the housing proximate the first end comprising a first mixture of the main propellant and an ignition propellant; and a piston; wherein the igniter ignites the first ignition portion which produces pressure that drives the piston.
Google Patents
https://patents.google.com/patent/US12449245
USPTO PDF
https://image-ppubs.uspto.gov/dirsearch-public/print/downloadPdf/12449245