US12454369 - Vehicle launch system and method

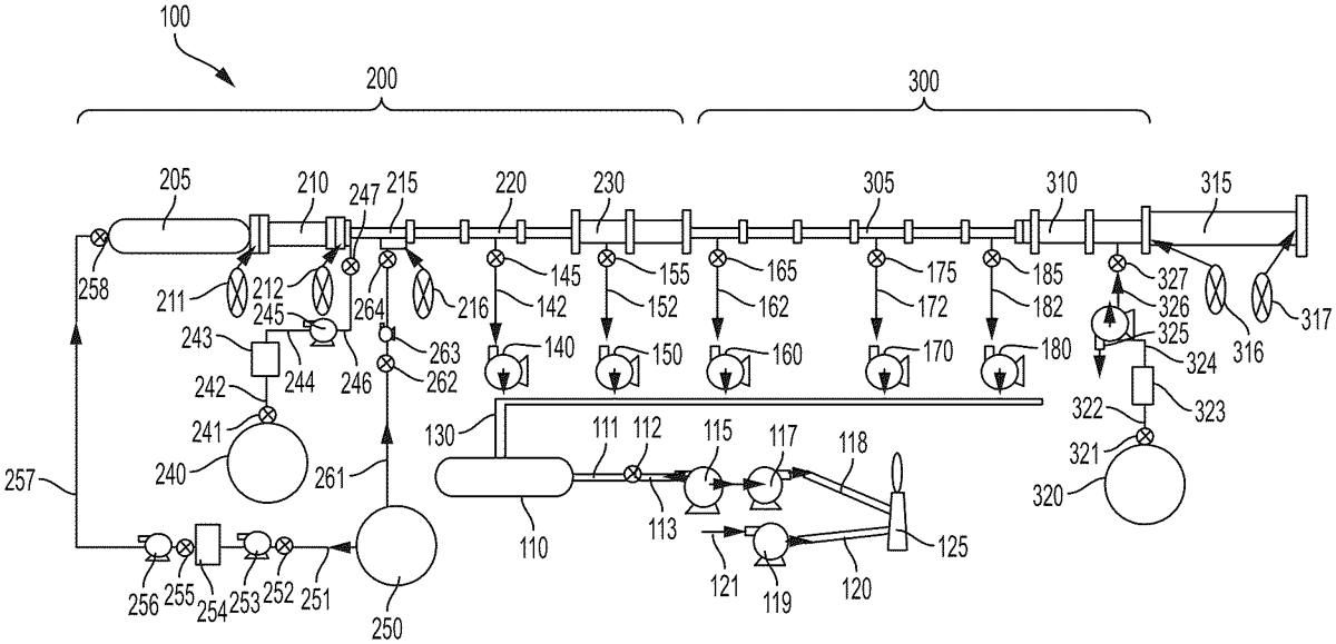
The patent describes a vehicle launch system that includes a preliminary accelerator tube, a flight test tube, and a soft catch mechanism to facilitate the testing and delivery of payloads. The system is designed to evaluate the aerodynamic controls or guidance systems of the vehicle by subjecting it to aerodynamic forces during the launch process.
Claim 1
1 . A system comprising: a vehicle including, as a part thereof, aerodynamic controls or guidance systems; a preliminary accelerator tube configured to accelerate the vehicle therethrough; a flight test tube arranged to receive the vehicle from the preliminary accelerator tube; and a soft catch arranged to receive the vehicle from the flight test tube and configured to decelerate the vehicle; wherein the flight test tube is configured to receive injected gas that subjects the vehicle to aerodynamic forces so that the system is effective to test the aerodynamic controls or guidance systems that are a part of the vehicle. a vehicle including, as a part thereof, aerodynamic controls or guidance systems; a preliminary accelerator tube configured to accelerate the vehicle therethrough; a flight test tube arranged to receive the vehicle from the preliminary accelerator tube; and a soft catch arranged to receive the vehicle from the flight test tube and configured to decelerate the vehicle; wherein the flight test tube is configured to receive injected gas that subjects the vehicle to aerodynamic forces so that the system is effective to test the aerodynamic controls or guidance systems that are a part of the vehicle.
Google Patents
https://patents.google.com/patent/US12454369
USPTO PDF
https://image-ppubs.uspto.gov/dirsearch-public/print/downloadPdf/12454369