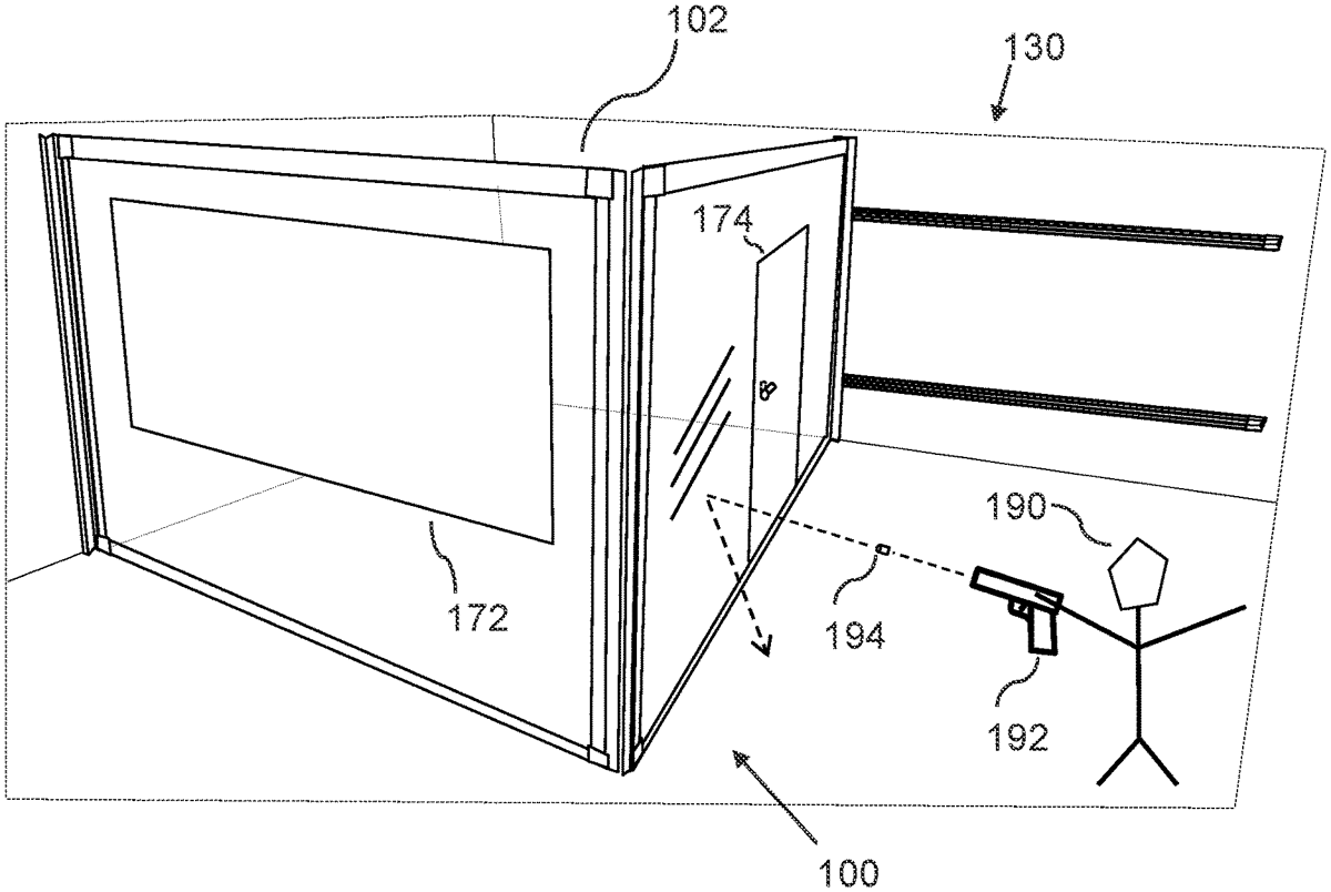
US12454843 - Safety enclosure building system

The safety enclosure building system features rotatable and slidable wall panels designed to prevent firearm projectiles from penetrating, allowing for a secure space for individuals to seek refuge. It can be stored in a compact folded-in configuration and expanded to a folded-out configuration for use in emergency situations.
Claim 1
1 . A safety enclosure building system, comprising: a) a first wall panel, wherein a first outer vertical end of the first wall panel is configured to be rotatably mounted to a first wall; and b) a second wall panel, wherein a second outer vertical end of the second wall panel is configured to be slidably and rotatably mounted to a second wall; wherein the first wall panel and the second wall panel are each configured to prevent penetration of a projectile of a firearm; wherein a first inner vertical end of the first wall panel is rotatably connected to a second inner vertical end of the second wall panel; such that the safety enclosure building system is configured to be positioned in a folded-in configuration in a corner between the first wall and the second wall, such that the folded-in configuration permits space saving storage; and such that the safety enclosure building system is configured to be folded out to a folded-out configuration, such that the folded-out configuration can enable students to seek safety in a safe interior behind the safety enclosure building system. a) a first wall panel, wherein a first outer vertical end of the first wall panel is configured to be rotatably mounted to a first wall; and b) a second wall panel, wherein a second outer vertical end of the second wall panel is configured to be slidably and rotatably mounted to a second wall; wherein the first wall panel and the second wall panel are each configured to prevent penetration of a projectile of a firearm; wherein a first inner vertical end of the first wall panel is rotatably connected to a second inner vertical end of the second wall panel; such that the safety enclosure building system is configured to be positioned in a folded-in configuration in a corner between the first wall and the second wall, such that the folded-in configuration permits space saving storage; and such that the safety enclosure building system is configured to be folded out to a folded-out configuration, such that the folded-out configuration can enable students to seek safety in a safe interior behind the safety enclosure building system.
Google Patents
https://patents.google.com/patent/US12454843
USPTO PDF
https://image-ppubs.uspto.gov/dirsearch-public/print/downloadPdf/12454843