US12454858 - Handgun safe

The patent describes a handgun safe that features a safe structure, shock absorber structure, and control circuit, allowing for the safe storage and rapid access to a firearm. The design enables the lid to rotate between open and closed positions, utilizing shock absorbers to smoothly present the firearm to the user while ensuring safety during operation.
Claim 1
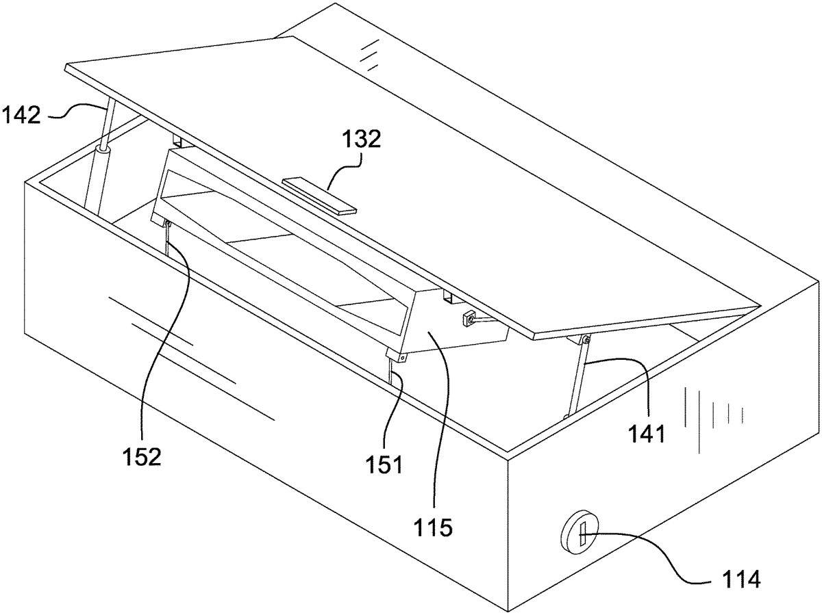
1 . A handgun safe comprising a safe structure, a shock absorber structure, and a control circuit; wherein the safe structure forms the exterior surfaces of a protected space formed by the handgun safe; wherein the shock absorber structure mounts inside the safe structure; wherein the control circuit mounts on the safe structure; wherein the safe structure rotates between a closed position and an open position; wherein the shock absorber structure comprises a plurality of shock absorbers and a plurality of stabilizer bars; wherein the safe structure comprises a pan structure, a lid structure, a hinge structure; wherein the plurality of shock absorbers provide the motive forces that move a holster structure along a holster track as the lid structure rotates into the open position; wherein the holster track extends from a back of the lid structure to a front of the lid structure, and is responsible for holstering a firearm; wherein the rotations of the plurality of shock absorbers are established such that: a) the rotation of the lid structure from the closed position to the open position allows the plurality of shock absorbers to push the holster structure along the holster track in the anterior direction such that the holster structure is configured to push a grip of the firearm into a hand of an end user in rapid succession in a safe manner; and, b) the rotation of the lid structure from the open position to the closed position is accomplished by pushing the firearm and the holster structure towards the rear of the safe structure, and by also pushing down on the lid structure. a safe structure, a shock absorber structure, and a control circuit; wherein the safe structure forms the exterior surfaces of a protected space formed by the handgun safe; wherein the shock absorber structure mounts inside the safe structure; wherein the control circuit mounts on the safe structure; wherein the safe structure rotates between a closed position and an open position; wherein the shock absorber structure comprises a plurality of shock absorbers and a plurality of stabilizer bars; wherein the safe structure comprises a pan structure, a lid structure, a hinge structure; wherein the plurality of shock absorbers provide the motive forces that move a holster structure along a holster track as the lid structure rotates into the open position; wherein the holster track extends from a back of the lid structure to a front of the lid structure, and is responsible for holstering a firearm; wherein the rotations of the plurality of shock absorbers are established such that: a) the rotation of the lid structure from the closed position to the open position allows the plurality of shock absorbers to push the holster structure along the holster track in the anterior direction such that the holster structure is configured to push a grip of the firearm into a hand of an end user in rapid succession in a safe manner; and, b) the rotation of the lid structure from the open position to the closed position is accomplished by pushing the firearm and the holster structure towards the rear of the safe structure, and by also pushing down on the lid structure.
Google Patents
https://patents.google.com/patent/US12454858
USPTO PDF
https://image-ppubs.uspto.gov/dirsearch-public/print/downloadPdf/12454858