US12455127 - Ambidextrous charging handle

firearmcharging_handleambidextrous
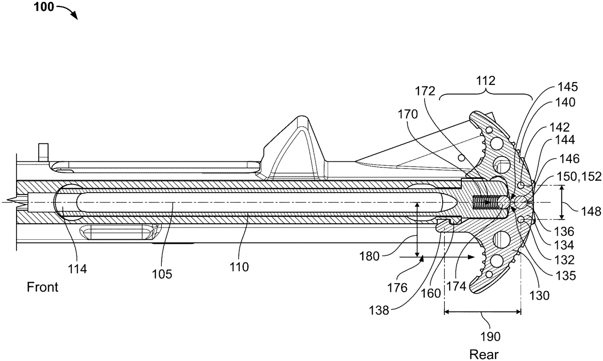
The patent describes an ambidextrous charging handle for firearms featuring a latch mechanism with two levers that enhance operability through a reduced contact area and optimized hinge surfaces. This design allows for smooth operation from either side of the firearm, improving accessibility for users.
Claim 1
- A charging handle for a firearm having a receiver, the charging handle comprising a shaft having a latch mechanism at a rearward end and a bolt carrier engagement element at a forward end, wherein the latch mechanism comprises: a latch base comprising a lower base plate having a top surface and an upper base plate having a bottom surface, wherein the top surface and the bottom surface are parallel to a first plane and perpendicular to a second plane, which passes through the centerline of the charging handle; a first lever rotationally engaged with the latch base about a first axis proximate the rearward portion of the first lever, the first axis perpendicular to the first plane; and a second lever rotationally engaged with the latch base about a second axis proximate the rearward portion of the second lever, the second axis perpendicular to the first plane; wherein: the second plane bisects a first distance between the first axis and the second axis; a rearward end of the first lever and a rearward end of the second lever are rotationally engaged about a third axis coplanar with the second plane; and the rotational engagement of the rearward end of the first lever and rearward end of the second lever comprises a first ball bearing disposed between the rearward end of the first lever and rearward end of the second lever. a latch base comprising a lower base plate having a top surface and an upper base plate having a bottom surface, wherein the top surface and the bottom surface are parallel to a first plane and perpendicular to a second plane, which passes through the centerline of the charging handle; a first lever rotationally engaged with the latch base about a first axis proximate the rearward portion of the first lever, the first axis perpendicular to the first plane; and a second lever rotationally engaged with the latch base about a second axis proximate the rearward portion of the second lever, the second axis perpendicular to the first plane; wherein: the second plane bisects a first distance between the first axis and the second axis; a rearward end of the first lever and a rearward end of the second lever are rotationally engaged about a third axis coplanar with the second plane; and the rotational engagement of the rearward end of the first lever and rearward end of the second lever comprises a first ball bearing disposed between the rearward end of the first lever and rearward end of the second lever. the second plane bisects a first distance between the first axis and the second axis; a rearward end of the first lever and a rearward end of the second lever are rotationally engaged about a third axis coplanar with the second plane; and the rotational engagement of the rearward end of the first lever and rearward end of the second lever comprises a first ball bearing disposed between the rearward end of the first lever and rearward end of the second lever.
Google Patents
https://patents.google.com/patent/US12455127
USPTO PDF
https://image-ppubs.uspto.gov/dirsearch-public/print/downloadPdf/12455127