US12455128 - Kinetic delay operating system for recoil firearms

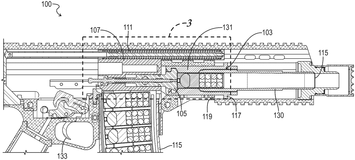
The patent describes a firearm with a kinetic delay system designed to minimize recoil energy transferred to the shooter by creating a delay between the firing and the movement of the bolt and barrel. This system enhances controllability by allowing the barrel to impact a stop before the bolt, thereby extending the recoil impulse duration.
Claim 1
1 . A gun comprising: a receiver; a barrel biased toward a forward position thereof, wherein: the barrel is configured to move longitudinally rearward relative to the receiver when the gun is fired, the barrel comprises a muzzle at a forward end thereof, and the barrel comprises a barrel shoulder rearward of the muzzle; a barrel stop configured to limit rearward longitudinal travel of the barrel relative to the receiver by contacting the barrel shoulder of the barrel when the barrel moves rearward when the gun is fired; a bolt biased toward a forward position thereof, wherein: the bolt is locked up to the barrel when the bolt is in the forward position, and the bolt travels longitudinally rearward from the forward position with the barrel when the gun is fired until the bolt is unlocked from the barrel; and a bolt carrier configured to convey the bolt to a rear position of the bolt when the gun is fired and return the bolt to the forward position of the bolt; wherein: the barrel shoulder is longitudinally separated from the barrel stop by a first predetermined distance when the barrel is in a forward position of the barrel; and the barrel is longitudinally separated from the bolt carrier by a second predetermined distance less than the first predetermined distance when the bolt carrier is in a forward position thereof and the barrel is in the forward position; a rear position of the barrel is when the barrel shoulder is against the barrel stop; and after firing, the bolt locks up to the barrel as the bolt pushes the barrel from the rear position of the barrel to the forward position of the barrel. a receiver; a barrel biased toward a forward position thereof, wherein: the barrel is configured to move longitudinally rearward relative to the receiver when the gun is fired, the barrel comprises a muzzle at a forward end thereof, and the barrel comprises a barrel shoulder rearward of the muzzle; a barrel stop configured to limit rearward longitudinal travel of the barrel relative to the receiver by contacting the barrel shoulder of the barrel when the barrel moves rearward when the gun is fired; a bolt biased toward a forward position thereof, wherein: the bolt is locked up to the barrel when the bolt is in the forward position, and the bolt travels longitudinally rearward from the forward position with the barrel when the gun is fired until the bolt is unlocked from the barrel; and a bolt carrier configured to convey the bolt to a rear position of the bolt when the gun is fired and return the bolt to the forward position of the bolt; wherein: the barrel shoulder is longitudinally separated from the barrel stop by a first predetermined distance when the barrel is in a forward position of the barrel; and the barrel is longitudinally separated from the bolt carrier by a second predetermined distance less than the first predetermined distance when the bolt carrier is in a forward position thereof and the barrel is in the forward position; a rear position of the barrel is when the barrel shoulder is against the barrel stop; and after firing, the bolt locks up to the barrel as the bolt pushes the barrel from the rear position of the barrel to the forward position of the barrel.
Google Patents
https://patents.google.com/patent/US12455128
USPTO PDF
https://image-ppubs.uspto.gov/dirsearch-public/print/downloadPdf/12455128