US12487047 - Bowmar nose button

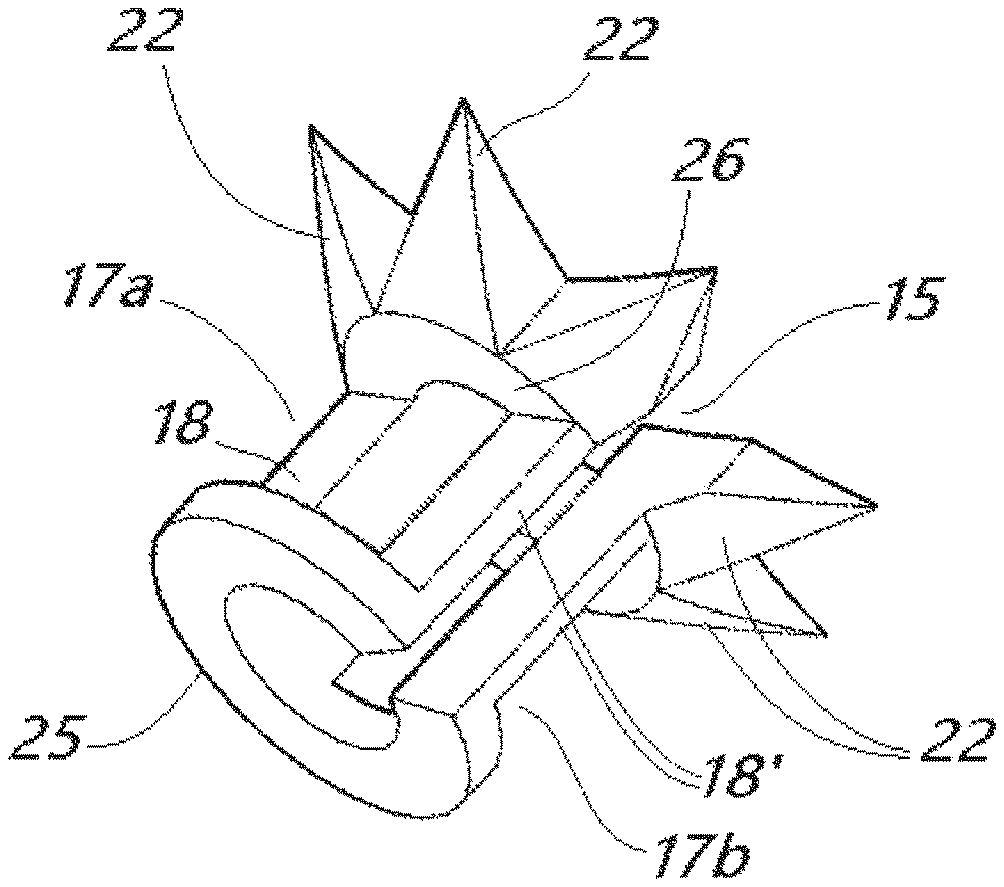
The Bowmar nose button is an aiming apparatus for archery that includes a beam with a longitudinal slit designed to engage the bow string, allowing it to contact the archer’s nose when drawn. This method enhances aiming accuracy by ensuring consistent positioning of the bow string relative to the archer’s face.
Claim 1
1 . A method for aiming an archery bow comprising the steps of: providing an archery bow having a bow string; providing an aiming apparatus wherein the aiming apparatus comprises: a beam comprising a longitudinal slit configured to engage the bow string along a longitudinal axis of the beam, wherein a portion of the beam further comprises a projection, wherein the projection comprises a curved surface, and wherein the projection comprises a frustum; inserting the bow string into the longitudinal slit and positioning the aiming apparatus to a first point on the bow string so that when drawn the aiming apparatus contacts a point on an archer’s nose; drawing the bow string to a firing position; and positioning the bow string so that the aiming apparatus contacts the archer’s nose. providing an archery bow having a bow string; providing an aiming apparatus wherein the aiming apparatus comprises: a beam comprising a longitudinal slit configured to engage the bow string along a longitudinal axis of the beam, wherein a portion of the beam further comprises a projection, wherein the projection comprises a curved surface, and wherein the projection comprises a frustum; a beam comprising a longitudinal slit configured to engage the bow string along a longitudinal axis of the beam, wherein a portion of the beam further comprises a projection, wherein the projection comprises a curved surface, and wherein the projection comprises a frustum; inserting the bow string into the longitudinal slit and positioning the aiming apparatus to a first point on the bow string so that when drawn the aiming apparatus contacts a point on an archer’s nose; drawing the bow string to a firing position; and positioning the bow string so that the aiming apparatus contacts the archer’s nose.
Google Patents
https://patents.google.com/patent/US12487047
USPTO PDF
https://image-ppubs.uspto.gov/dirsearch-public/print/downloadPdf/12487047