US12487049 - String-unloading apparatus of a crossbow

The patent describes a string-unloading apparatus for a crossbow that allows for one-handed operation of the safety and trigger assembly through a series of interconnected components. This apparatus includes a switch with multiple positions, a lever, and a pulling element that work together to facilitate the safe unloading of the crossbow string.
Claim 1
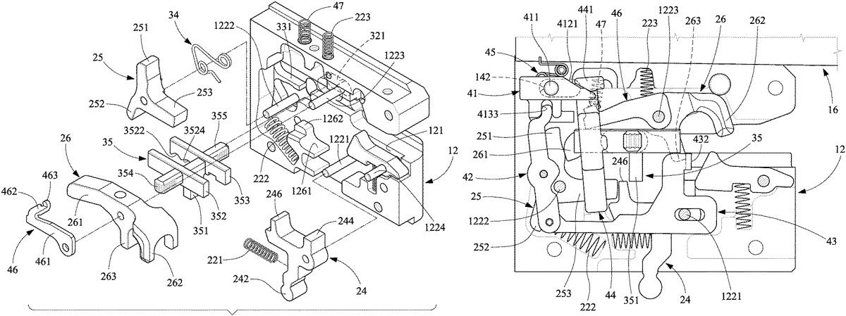
1 . A string-unloading apparatus comprising: a box ( 10 ) connected to a crossbow; a trigger assembly connected to the box ( 10 ) and operable to control a string ( 92 ); a switch ( 41 ) movable in the box ( 10 ) between a safety position, a preparatory position and a string-unloading position, wherein the switch ( 41 ) comprises a handle ( 411 ) extending from the box ( 10 ), a first slope ( 4121 ) and an abutment portion ( 4134 ) formed on a front face, a dent ( 4131 ) made in an upper face, a cutout ( 4133 ) made in a lower face, and a second slope ( 4132 ) formed on a rear face; a lever ( 42 ) comprising an upper end inserted in the cutout ( 4133 ), a middle section pivotally connected to the box ( 10 ), and a lower end; a pulling element ( 43 ) comprising a rear end pivotally connected to the lower end of the lever ( 42 ), a front end pivotally connected to the box ( 10 ), and a tab ( 432 ) for contact with the trigger assembly; an oar ( 44 ) movable vertically and horizontally in the box ( 10 ), wherein the oar ( 44 ) comprises: a bar ( 442 ); a plate ( 411 ) formed at an upper end of the bar ( 442 ), wherein the plate ( 411 ) comprises a lower face in contact with the first slope ( 4121 ); a hook ( 443 ) formed at a lower end of the bar ( 442 ) and operable for moving the trigger assembly to release the string ( 92 ); a torque spring ( 45 ) pivotally connected to the box ( 10 ), wherein the torque spring ( 45 ) comprising an end movable between the dent ( 4131 ) and the second slope ( 4132 ); a restraining element ( 46 ) comprising a tab ( 462 ) pivotable between a first position for blocking the abutment portion ( 4134 ) and a second position away from the abutment portion ( 4134 ); and a compression spring ( 47 ) for biasing the tab ( 462 ) toward the trigger assembly. a box ( 10 ) connected to a crossbow; a trigger assembly connected to the box ( 10 ) and operable to control a string ( 92 ); a switch ( 41 ) movable in the box ( 10 ) between a safety position, a preparatory position and a string-unloading position, wherein the switch ( 41 ) comprises a handle ( 411 ) extending from the box ( 10 ), a first slope ( 4121 ) and an abutment portion ( 4134 ) formed on a front face, a dent ( 4131 ) made in an upper face, a cutout ( 4133 ) made in a lower face, and a second slope ( 4132 ) formed on a rear face; a lever ( 42 ) comprising an upper end inserted in the cutout ( 4133 ), a middle section pivotally connected to the box ( 10 ), and a lower end; a pulling element ( 43 ) comprising a rear end pivotally connected to the lower end of the lever ( 42 ), a front end pivotally connected to the box ( 10 ), and a tab ( 432 ) for contact with the trigger assembly; an oar ( 44 ) movable vertically and horizontally in the box ( 10 ), wherein the oar ( 44 ) comprises: a bar ( 442 ); a plate ( 411 ) formed at an upper end of the bar ( 442 ), wherein the plate ( 411 ) comprises a lower face in contact with the first slope ( 4121 ); a hook ( 443 ) formed at a lower end of the bar ( 442 ) and operable for moving the trigger assembly to release the string ( 92 ); a torque spring ( 45 ) pivotally connected to the box ( 10 ), wherein the torque spring ( 45 ) comprising an end movable between the dent ( 4131 ) and the second slope ( 4132 ); a restraining element ( 46 ) comprising a tab ( 462 ) pivotable between a first position for blocking the abutment portion ( 4134 ) and a second position away from the abutment portion ( 4134 ); and a compression spring ( 47 ) for biasing the tab ( 462 ) toward the trigger assembly.
Google Patents
https://patents.google.com/patent/US12487049
USPTO PDF
https://image-ppubs.uspto.gov/dirsearch-public/print/downloadPdf/12487049