US12510341 - Blast confirmation

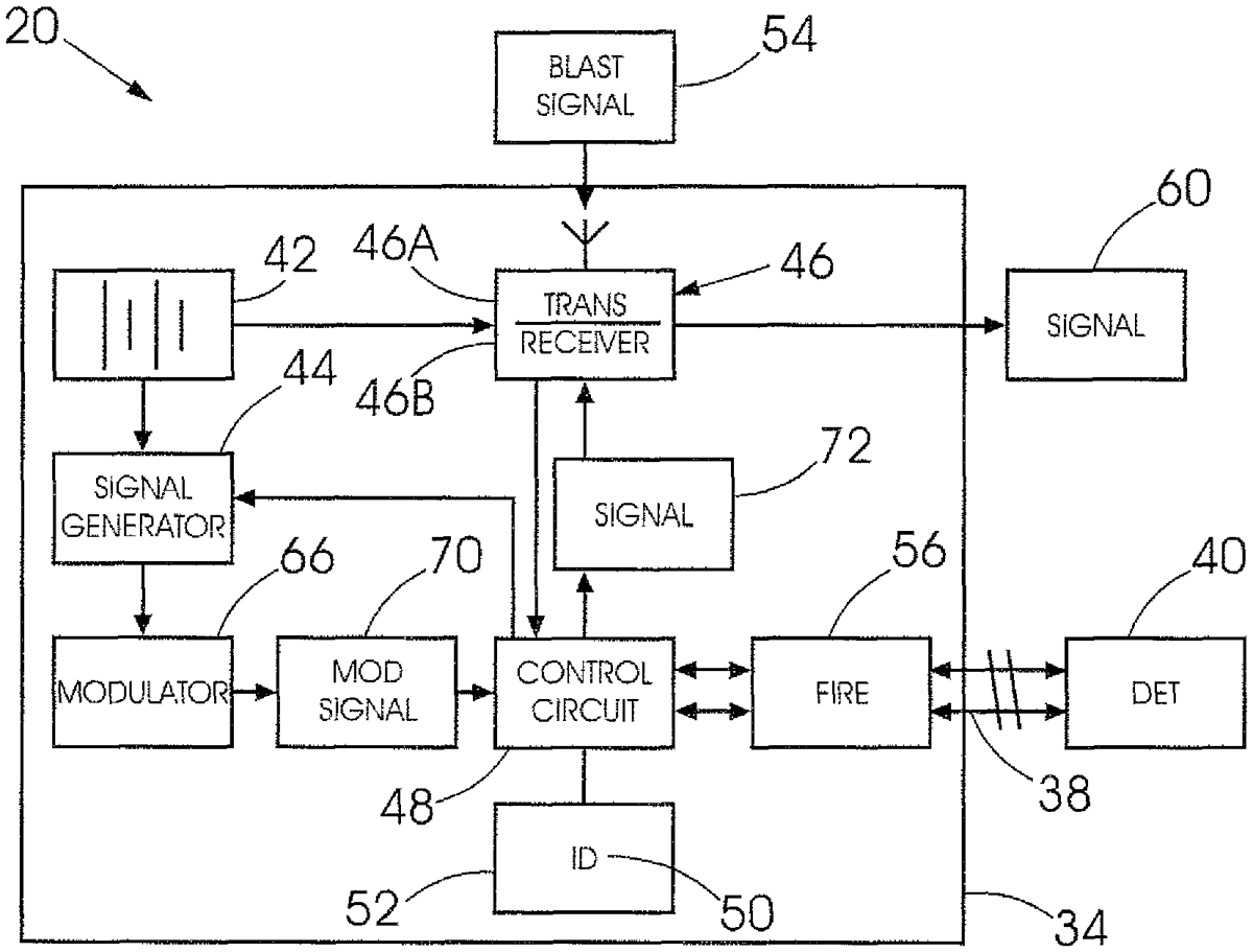
The patent describes a blast system featuring a communication module linked to a detonator, which transmits a wireless signal containing a unique identifier upon initiation. This system allows for precise timing and monitoring of detonator activations, enhancing safety and efficiency in explosive operations.
Claim 1
1 . A blast system which includes: a blast controller, a plurality of boreholes at a blast site, each borehole being charged with explosive material, a plurality of detonator assemblies respectively associated with said plurality of boreholes, each detonator assembly including a communication module which is positioned at or close to a mouth of a borehole of the plurality of boreholes, a detonator which, in use, is positioned inside a borehole of the plurality of boreholes and exposed to the explosive material therein, and conductors which connect the detonator to the communication module, wherein the communication module includes a control circuit which, in response to receipt of a blast signal from the blast controller, transmits a fire command signal at a time A via the conductors to the detonator to cause initiation of the detonator at a time B, and a transmitter for transmitting a wireless signal, to the blast controller, said wireless signal contains or conveys an identifier which uniquely identifies the detonator assembly from which the wireless signal originated, said wireless signal being dependent, at least upon initiation of the detonator, wherein the transmission of said wireless signal from the detonator is selected from the following: (a) the transmission of the wireless signal commencing at the time B; (b) the wireless signal is transmitted at least for a period at the time B within which a measurement is made of the velocity of detonation of the explosive in the borehole upon initiation of the detonator from which the wireless signal originates; (c) the wireless signal is transmitted continuously at or after the time A up to the time B; and (d) the wireless signal is transmitted at the end of a time interval after the time B which is of sufficient duration to enable a measurement to be made of the velocity of detonation of the initiation of the explosive in the borehole from which the wireless signal originates, and wherein at least said wireless signals which are transmitted simultaneously by said transmitters from said plurality of detonator assemblies are modulated to promote multiplexing of the wireless signals.
Google Patents
https://patents.google.com/patent/US12510341
USPTO PDF
https://image-ppubs.uspto.gov/dirsearch-public/print/downloadPdf/12510341