US12529546 - Electrode tensioner for a conducted electrical weapon

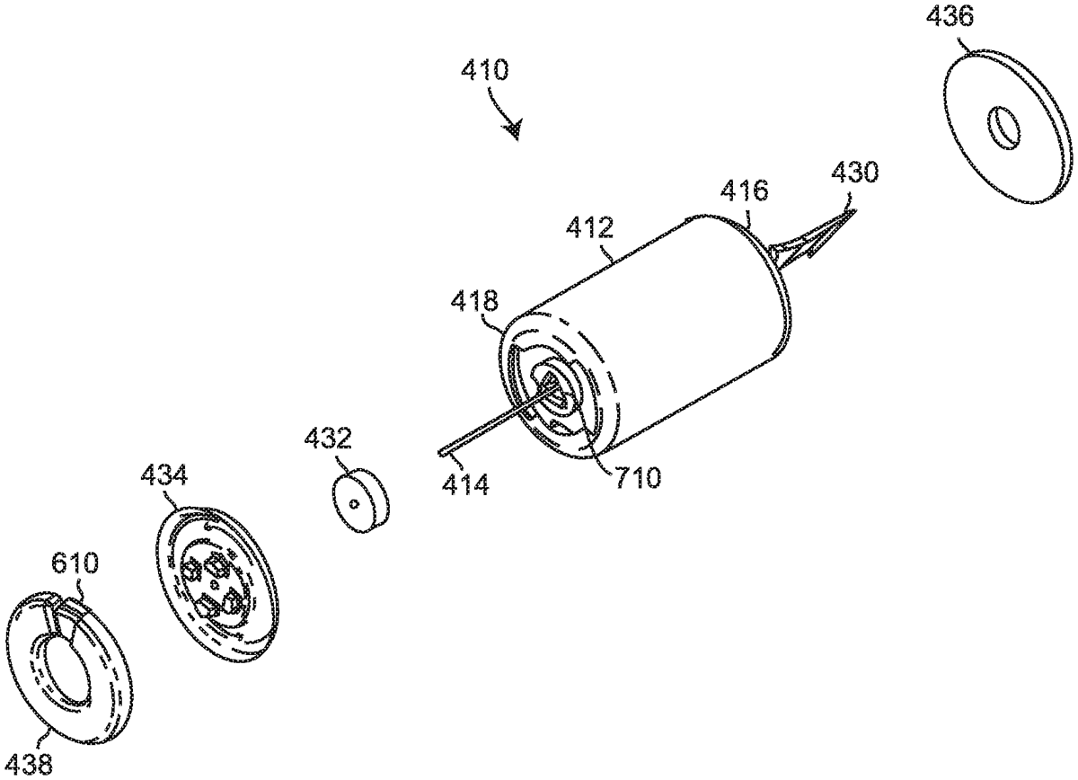
The patent describes an electrode for a conducted electrical weapon (CEW) that features a body with a cavity housing a filament and a tensioner that applies force to the filament during deployment. This design aims to enhance the accuracy and effectiveness of the electrode’s launch from the CEW.
Claim 1
1 . An electrode for a conducted electrical weapon (“CEW”), the electrode comprising: a body defining a cavity; a filament stowed within the cavity; and a tensioner positioned proximate a rear of the body, wherein the tensioner is configured to apply a force on the filament as the filament deploys from the cavity. a body defining a cavity; a filament stowed within the cavity; and a tensioner positioned proximate a rear of the body, wherein the tensioner is configured to apply a force on the filament as the filament deploys from the cavity.
Google Patents
https://patents.google.com/patent/US12529546
USPTO PDF
https://image-ppubs.uspto.gov/dirsearch-public/print/downloadPdf/12529546