US12529547 - Preload cable, detonator cable assembly, and methods of making the same

The patent describes a preload cable assembly designed for use in detonators, featuring a cable with contacts, substrates with conductors, and a flyer aligned with a hole in a polyimide layer. This innovative design aims to enhance the reliability and functionality of detonator systems in firearms and ammunition applications.
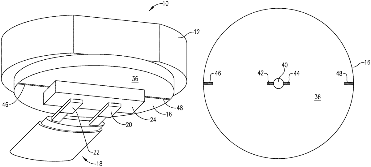
Claim 1
1 . A preload cable comprising: a cable having a pair of contacts; a first substrate including a pair of conductors connected to the contacts; a bridge positioned on the first substrate and connected to the conductors; a flyer positioned on the bridge; and a second substrate positioned adjacent to the first substrate and comprising— a polyimide layer, and a hole extending through the polyimide layer and in alignment with the flyer, wherein the second substrate comprises a first surface that faces the first substrate and that includes a first fiducial formed thereon. a cable having a pair of contacts; a first substrate including a pair of conductors connected to the contacts; a bridge positioned on the first substrate and connected to the conductors; a flyer positioned on the bridge; and a second substrate positioned adjacent to the first substrate and comprising— a polyimide layer, and a hole extending through the polyimide layer and in alignment with the flyer, a polyimide layer, and a hole extending through the polyimide layer and in alignment with the flyer, wherein the second substrate comprises a first surface that faces the first substrate and that includes a first fiducial formed thereon.
Google Patents
https://patents.google.com/patent/US12529547
USPTO PDF
https://image-ppubs.uspto.gov/dirsearch-public/print/downloadPdf/12529547