US12553686 - Cover assembly for weapon handguard

The patent describes a cover assembly for weapon handguards that allows for a tool-free attachment of a cover panel over an elongated slot, facilitating cable management and protective coverage. The assembly includes end connectors that secure the cover panel without permanent modification to the handguard, ensuring a fixed spacing and stability.
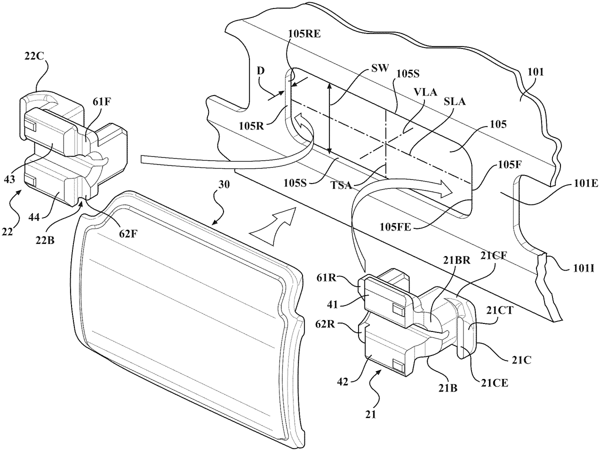
Claim 1
1 . A cover assembly for a weapon handguard comprising: a cover panel including an exterior surface and an interior surface having a first cover rail and an opposing second cover rail; a first end connector including a first base, a first capture flange extending from the first base and configured to engage an interior of the weapon handguard, the first base sized for locating between opposing side edges of an elongated slot defined by the weapon handguard, the first end connector including a first connector rail and an opposing second connector rail; and a second end connector, separate and distinct from the first end connector, the second end connector including a second base, a second capture flange extending from the second base and configured to engage the interior of the weapon handguard distal from the first flange, the second base sized for locating between opposing side edges of the elongated slot defined by the weapon handguard, the second end connector including a third connector rail and an opposing fourth connector rail, wherein the first connector rail and third connector rail engage the first cover rail, and the second connector rail and fourth connector rail engage the second cover rail, thereby securing the cover panel to the first connector and the second connector, wherein the cover panel engages the first end connector and the second end connector to space the first end connector and the second end connector at a fixed distance from one another such that the first capture flange and the second capture flange engage the interior of the weapon handguard to secure the cover panel fixedly to the weapon handguard. a cover panel including an exterior surface and an interior surface having a first cover rail and an opposing second cover rail; a first end connector including a first base, a first capture flange extending from the first base and configured to engage an interior of the weapon handguard, the first base sized for locating between opposing side edges of an elongated slot defined by the weapon handguard, the first end connector including a first connector rail and an opposing second connector rail; and a second end connector, separate and distinct from the first end connector, the second end connector including a second base, a second capture flange extending from the second base and configured to engage the interior of the weapon handguard distal from the first flange, the second base sized for locating between opposing side edges of the elongated slot defined by the weapon handguard, the second end connector including a third connector rail and an opposing fourth connector rail, wherein the first connector rail and third connector rail engage the first cover rail, and the second connector rail and fourth connector rail engage the second cover rail, thereby securing the cover panel to the first connector and the second connector, wherein the cover panel engages the first end connector and the second end connector to space the first end connector and the second end connector at a fixed distance from one another such that the first capture flange and the second capture flange engage the interior of the weapon handguard to secure the cover panel fixedly to the weapon handguard.
Google Patents
https://patents.google.com/patent/US12553686
USPTO PDF
https://image-ppubs.uspto.gov/dirsearch-public/print/downloadPdf/12553686