US12553687 - Weapon sight

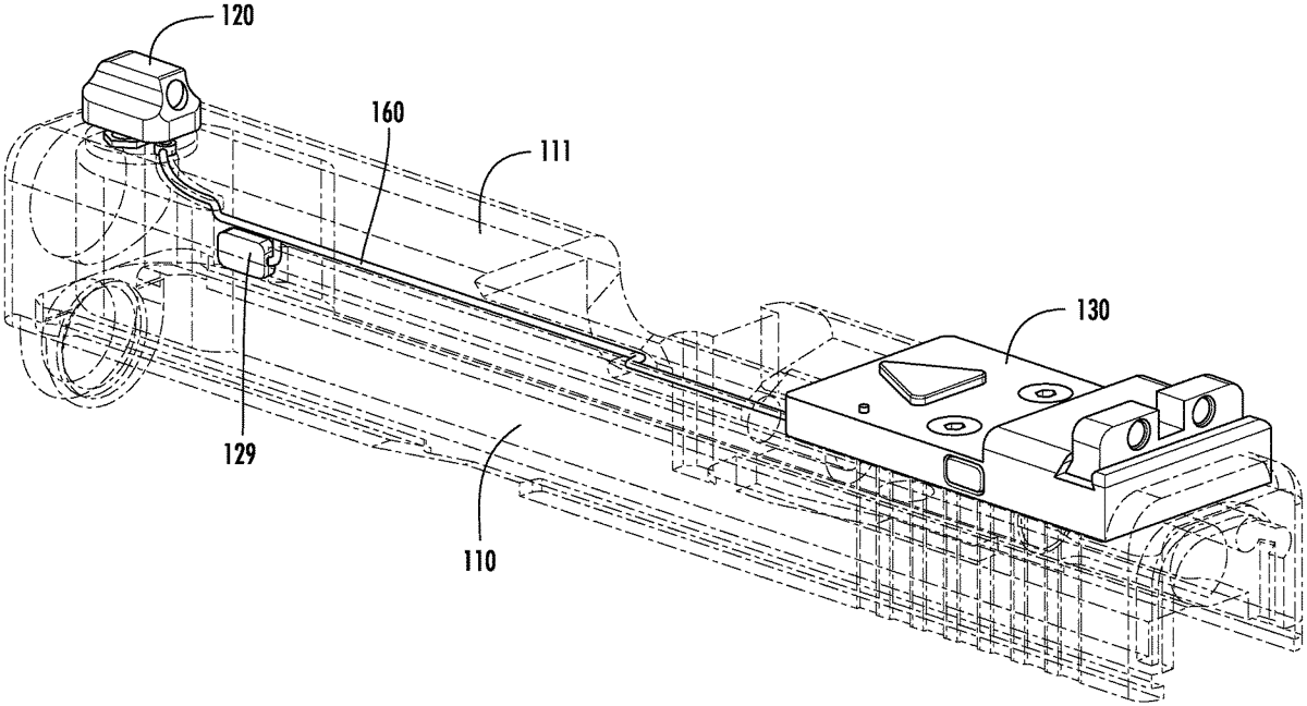
The patent describes a handgun slider that integrates active illumination sights at both the front and rear, utilizing electrical connectors to power the front sight for enhanced visibility in various lighting conditions. Additionally, it includes a thermocouple that generates electricity from heat to support the illumination system, allowing for improved aiming accuracy.
Claim 1
1 . A slider for a handgun comprising: (A) a slider body; (B) a front active illuminated sight mounted at a front mounting area on an outside of the slider body; (C) a rear active illuminated sight mounted at a rear mounting area on the outside of the slider body; (D) at least one conductor extending between the front active illuminated sight and the rear illuminated sight, the at least one conductor being disposed within the body of the slider; (E) a thermocouple that generates electricity from heat and conducts generated electricity to the at least one conductor. (A) a slider body; (B) a front active illuminated sight mounted at a front mounting area on an outside of the slider body; (C) a rear active illuminated sight mounted at a rear mounting area on the outside of the slider body; (D) at least one conductor extending between the front active illuminated sight and the rear illuminated sight, the at least one conductor being disposed within the body of the slider; (E) a thermocouple that generates electricity from heat and conducts generated electricity to the at least one conductor.
Google Patents
https://patents.google.com/patent/US12553687
USPTO PDF
https://image-ppubs.uspto.gov/dirsearch-public/print/downloadPdf/12553687