Firearms and Ammunition Patent Grants

Weekly firearms and ammunition patent grants.

May 12, 2026

US12624928 - Explosively formed active water barrier RPG protection system and method for maritime vessels

Disclosed is a method and system to provide protection for maritime vessels from multiple threat types including shoulder launched rocket propelled threats, ballistic (howitzer), and larger scale missile systems. According to an exemplary embodiment, the protection system is based on the ballistic launch (from the protected vessel) of an explosive charge(s) aimed ˜5 meters away from the vessel and ˜1 meter beneath the waterline followed by detonation to enable the formation of a water wall. Through the formation of a water wall, incident threats can be initiated (piezo fuze) and passivated through dynamic interaction with the water formation. In addition, the upward velocity of the water wall can enable an upwards rotation of the incident threat changing the orientation of the warhead jet formation (for shape charge warheads) above the vessel.

defense military explosive protection
May 12, 2026

US12624929 - Self-defense devices and related methods

Self-defense devices and related methods are disclosed herein. The self-defense devices are configured to be utilized by a user for protection from an aggressor and include at least one offensive component and at least one of a recording component and a communication component. In some examples, the self-defense devices include more than one offensive component and/or more than one offensive subcomponent. The offensive component may be configured to be selectively actuated to incapacitate the aggressor. The recording component may be configured to selectively record a local environment that is proximate the self-defense device. The communication component may be configured to provide wireless communication between the user and a remote location. The methods include methods of utilizing a self-defense device for protection from an aggressor and include at least one of recording a local environment that is proximate the self-defense device, communicating with a remote location, and incapacitating the aggressor.

self-defense offensive-component communication recording
May 12, 2026

US12624930 - Sports shooting target and a launching head and corresponding device

A launching head for launching two or more sports shooting targets is provided, where each target is of a generally disc-shaped configuration. The launching head is of a generally tubular configuration defined by a longitudinally extending rotational axis and includes an outer circumferential support surface portion formed to fit into and support the respective targets. The launching head is provided with a plurality of retaining claw members configured to be able to pivot in a plane containing the longitudinal axis and pivot an angle relative to a plane extending perpendicularly to the longitudinal axis. A launching device applying the launching head to a sports shooting target is also provided.

target launching sports shooting
May 12, 2026

US12624931 - Device and method for robotised priming

The present disclosure relates to a robotic priming device for an explosive priming process. One aspect includes at least one initiator dispenser, each comprising a plurality of initiator racks containing a plurality of initiators. Each initiator dispenser includes one or more initiator discharge wheels that discharge the initiators onto an initiator cart. The device includes at least one detonating assembly dispenser, each comprising a plurality of detonating assembly racks containing a plurality of detonating assemblies. Each detonating assembly dispenser comprises one or more detonating assembly unloading wheels that unload the detonating assemblies onto a detonating assembly cart. The device includes a meeting and priming line with a meeting and priming zone. The detonating assembly cart locates the detonating assemblies in the meeting and priming zone. The initiator cart moves the initiators to the meeting and priming zone, and inserts the initiators into the detonating assembly to form an explosive primer.

explosives priming detonators
May 12, 2026

US12624933 - High kinetic energy hollow bullet

The present invention relates to an innovative hollow bullet design, which fundamentally diverges from conventional solid bullet configurations. This design encompasses a brass casing, gun powder, a plastic wad, and a distinctively structured nozzled projectile. The nozzled projectile features a hollow portion that starts wider at the proximal end and narrows towards the distal end, ingeniously manipulating airflow to enhance kinetic energy during flight. This unique aerodynamic efficiency potentially increases impact force and stability over extended distances. The bullet maintains standard size and weight, ensuring compatibility with existing firearms, and offers significant improvements in performance for both civilian and military applications.

bullet ammunition hollow kineticenergy
May 12, 2026

US12624934 - Hand-throwable effect-producing body with a manually graspable housing body and method for operating a hand-throwable effect-producing body

A hand-throwable effect-producing body with a manually graspable housing body, a manually operable triggering device having a spring-loaded impact body, an ignition device initiatable by the triggering device and comprises an ignition charge, a delay device is initiatable by the ignition device and comprises a delay charge and a delay line, and a main charge configured to be initiated directly or indirectly by the delay charge. The impact body is configured to be manually moved along the longitudinal axis thereof counter to a spring force into a preloaded position and to be releasably arrested there and to be released by manually operating a triggering element of the triggering device, such that it can shoot out of its preloaded position along the longitudinal axis against an axial stop and thereby initiate the ignition charge.

effect-producing hand-throwable ignition triggering
May 12, 2026

US12624935 - Systems and methods for selectively disabling electrical and mechanical devices

Various types of structures, along with associated systems, are disclosed herein and configured for responding to an energy wave for changing a state of a mechanism to which said structures are operatively coupled. In at least one embodiment, the structure provides a material selectively changeable upon exposure to the energy wave to cause at least a portion of the material to mechanically degrade from a first state to a second state. When the material is in the first state, the material forms a mechanical or electrical link with the mechanism such that a force or an electrical current can be transmitted through the structure. When the material is in the second state, degradation of at least the portion of the material disrupts the mechanical or electrical link and inhibits transmission of the force or electrical current through the structure.

May 12, 2026

US12624936 - Separating primer cup of a propulsion module for a conducted electrical weapon

A conducted electrical weapon (“CEW”) deploys wire-tethered electrodes after generation of an ignition signal. The ignition signal is provided to a deployment unit. The deployment unit includes a primer material adjacent a conductor. The conductor conducts the ignition signal outside the primer material. A temperature of the conductor increases in response to receiving the ignition signal. The primer material ignites in response to the increase in temperature of the conductor.

conducted electrical weapon primer
May 12, 2026

US12624937 - Method of managing a blast system

A blasting system ( 10 ) wherein a test through-the-earth signal of predetermined strength is sent from a defined position and the strength of the signal, as received at each of a plurality of locations ( 24 ) within a blast site, is measured thereby to enable an operative zone ( 56 ) to be defined wherein at any location within the operative zone a fire command through-the-earth magnetic signal, of such predetermined strength, transmitted from the defined position, as received at such location, will have a strength above a threshold signal strength.

May 5, 2026

US12616886 - Structural energy storage with carbon fiber for sport equipment sensor

A sport apparatus, including a handle, an action portion, a connection portion connecting the handle to the action portion, at least part of the connection portion including a structural battery, the structural battery including one or more energy storage devices, each of the one or more energy storage devices having at least one anode core of a continuous carbon fiber, an electrolyte arranged on the at least one continuous carbon fiber core, and a cathode layer coating arranged to the at least one continuous carbon fiber core on the electrolyte, and at least one sensor unit electrically connected to the energy storage devices, the at least one sensor unit providing signals related to use of the sport apparatus.

May 5, 2026

US12617738 - Removing dissolved gasses from propellant compositions

A method for removing a gas from a propellant composition includes providing an uncured propellant composition comprising a bonding agent, energetic particles, and a polymeric binder, and flowing an inert gas through the uncured propellant composition to remove an evolved gas from the uncured propellant composition.

propellant composition method
May 5, 2026

US12618623 - Dynamic ram accelerator system

Dynamic ram accelerator operation permits operation with lower acceleration, permitting launch of acceleration sensitive payloads such as crewed vehicles. Operational cost is reduced, and reliability improved, by reducing or eliminating internal consumable parts. Relative motion between a projectile and propellant at entry to the ram accelerator enables initial ram combustion at relatively lower velocity. Valves may maintain separation between sections within the ram accelerator that contain different propellant compositions. Timing of valve opening and closing is coordinated to provide conditions suitable for ram combustion. Control over propagation speed of propellant within the system may be obtained using one or more of baffle shape, baffle spacing, propellant temperature, propellant pressure, propellant mixture, temperature of components such as baffles, and so forth. Before the projectile is launched, internal separators between sections are removed, providing an open path to the ram accelerator exit.

May 5, 2026

US12618624 - Modular bolt action rifle

The present disclosure presents a modular bolt action rifle system with roller bearings having an upper receiver assembly housing a barrel, a lower receiver assembly comprising an AR-style fire control system and a magazine well, a bolt carrier group assembly including a bolt carrier, top roller bearings and side roller bearings, and a handguard assembly, wherein the lower receiver assembly and its AR-style fire control and magazine well are releasably attached to the upper receiver, and prior to attachment of the barrel assembly the bolt carrier group assembly, consisting of the bolt carrier, bolt head, bolt charging handle, top roller bearings, and side roller bearings is inserted unto the upper receiver. An extension of the barrel assembly is releasably attached to the upper receiver. The barrel assembly is releasably secured by releasable attachment of the handguard assembly to a barrel extension receiver of the upper receiver assembly.

firearm rifle bolt-action modular
May 5, 2026

US12618625 - Compact stock for AR-style firearms

A compact stock for an AR-style firearm includes a receiver extension configured to attach to a lower receiver, a buffer assembly receivable in the receiver extension, a buffer biasing member receivable in the receiver extension, and a buffer locking mechanism. The buffer assembly is configured to reciprocate between a retracted position wherein the buffer assembly is contained within the receiver extension, and an extended position wherein the buffer assembly is in-battery within an upper receiver. The buffer biasing member is configured to bias the buffer assembly toward the extended position. The buffer locking mechanism is configured to selectably retain the buffer assembly and the buffer biasing member within the receiver extension when the buffer assembly is in the retracted position such that the upper receiver is rotatable relative to the lower receiver about a forward take down pin of the firearm unimpeded by the buffer assembly and buffer biasing member.

firearm ar-style stock
May 5, 2026

US12618626 - Charging handle and upper receiver assembly for a firearm

A charging handle assembly for a firearm may include a charging handle body including a handle portion and a shaft portion, a first actuation wing rotatably coupled to the handle portion and configured to rotate about a first rotational axis between a first position and a second position, and a biasing mechanism engaging the first actuation wing and biasing the first actuation wing to the first position. The first actuation wing may include a latch configured to selectively engage an upper receiver assembly of the firearm, and the first actuation wing may have a center of mass disposed along the first rotational axis.

firearm charginghandle mechanism
May 5, 2026

US12618627 - Laser ignition system for large-caliber artillery

The present invention relates to a laser ignition system for a large-caliber artillery, which provides a linear laser beam shape, and the ignition system of the present invention evenly combusts a cylindrical large-caliber artillery propellant with a hollow center in an energy-efficient manner using a laser in longitudinal and radial directions.

artillery ignition laser propellant
May 5, 2026

US12618628 - Forged carbon fiber rifle barrel

A method of forming a carbon fiber rifle barrel may include the steps of heating a barrel core to increase the length of the barrel, placing the barrel core inside a mold and holding the lengthened barrel in place, adding a carbon fiber mix to the mold in which the carbon fiber mix includes a blend of resin and chopped carbon fibers, sealing the mold, curing the carbon fiber mix surrounding the lengthened barrel core in which the cured carbon fiber mix holds the length of the barrel core creating a tension on the cooled barrel core which increases a rigidity of the rifle barrel thereby increasing the accuracy of the rifle barrel, removing the rifle barrel from the mold, and finishing the rifle barrel via grinding to a desired finish.

firearm barrel carbonfiber rifle
May 5, 2026

US12618630 - Modular firearm suppressor

A firearm suppressor that includes a mount configured to connect the firearm suppressor to a barrel of a firearm. The firearm suppressor includes a first module connected to the mount. The interior of the first module is a first chamber and the first module does not include a baffle. The firearm suppressor includes a second module connected to the first module. The second module includes a plurality of baffles and at least one peripheral pathway that bypasses a second baffle of the plurality of baffles by fluidly connecting an exterior of a first baffle of the plurality of baffles with an exterior of an exterior of a third baffle of the plurality of baffles. The firearm suppressor includes an end cap connected to the second module.

firearm suppressor modular
May 5, 2026

US12618631 - Suppressor

A suppressor assembly is disclosed. The suppressor can comprise an outer tube defining a barrel axis, a first endcap configured to couple to a barrel of a firearm at a first end of the outer tube, and a spacer assembly in the outer tube. The spacer assembly can be positioned and/or captured between the first endcap and an exit side of the outer tube. The spacer assembly can comprise a plurality of spacers comprising a plurality of small and large diameter baffles oriented in different desirable positions within the spacer assembly. The baffles and spacers can be constructed from different materials so the weight of the baffles are greater than the weight of the spacers.

suppressor firearm accessory
May 5, 2026

US12618632 - Off-axis serpentine flow chamber for firearm suppressors

A firearm sound suppressor can include an outer housing that defines a bore axis and an inner wall disposed at least partially within the outer housing. The inner wall can be oriented along the bore axis and includes a cylindrical central chamber. An annular chamber can be disposed between the outer housing and the inner wall. At least one helical partition can be disposed in the annular chamber to define at least one interleaved helical pathway through the annular chamber. Each interleaved helical pathway includes a first forward helical segment, a reverse helical segment sharing a first common wall with the first forward helical segment, and a second forward helical segment sharing a second common wall with the reverse helical segment. The first and second common walls can be distinct from one another.

firearm suppressor ammunition
May 5, 2026

US12618633 - Gun barrel brush

A cleaning tool for ported firearm barrels with integrated suppressors is disclosed. The tool comprises a cylindrical brush housing with an inner cavity to accommodate a barrel brush insert featuring radially extending bristles for removing carbon deposits and debris. A retaining washer and clip secure the brush insert within the housing. The assembly includes a cylindrical handle with internal threading to engage the housing's threaded neck, and an externally knurled surface for improved grip. The brush insert is interchangeable, allowing various cleaning media such as stainless steel, alloy steel, Aluminum, Bronze, Nylon, Brass, Plastic, Polypropylene, rubber, or other metals. The design eliminates the need for firearm disassembly and avoids reliance on the suppressor as a cleaning component, enhancing user safety and preserving firearm integrity. This tool facilitates efficient maintenance of firearms with integrally suppressed systems, promoting reliability and extending the lifespan of the firearm.

firearm cleaning tool maintenance
May 5, 2026

US12618634 - Muzzle flash simulator and method for generating light trail

Disclosed are a muzzle flame simulator and a method for generating a light trail. The muzzle flame simulator includes a projectile passage, a projectile sensor, a controller, and at least one simulating flame light source. The projectile passage is disposed inside the muzzle flame simulator. The projectile sensor is coupled to the controller and configured to send a trigger signal to the controller in response to detecting a projectile passing through the projectile passage. The controller includes a signal generator circuit, which is configured to output at least two preset periodically changing control signals. The controller is configured to start the signal generator circuit in response to detecting the trigger signal. The at least one simulating flame light source is coupled to the controller, the simulating flame light source each at least includes two illuminating components that are configured to periodically emit light based on the control signals.

muzzle simulator light projectile
May 5, 2026

US12618635 - Weapon emulator simulating a muzzle flash

A weapon emulator has a muzzle flash emulator attachment coupled to a first end of a barrel. The muzzle flash emulator attachment includes: a body defining a plurality of slots, a cover disposed in the body, a light source at least partially disposed in the cover, and a circuit coupled to the light source and including a power source and a switch. The switch is transitionable from an open state to a closed state to turn on the light source in response to pulling a trigger. In another embodiment, a muzzle flash emulator assembly includes a magnet operatively aligned with a reed switch. In a further embodiment, a muzzle flash emulator has a member coupled to a barrel and moveable to strike the switch in response to pulling the trigger to transition the switch from the open state to the closed state.

emulator muzzleflash light simulation
May 5, 2026

US12618636 - Archery bow stabilizer

In some embodiments, an archery stabilizer comprises a bar arranged to engage an archery bow. A mount is supported by the bar. The mount comprises a receptacle. A weight is supported by the mount. The weight comprises a coupler engaged with the receptacle.

archery stabilizer non-firearm
May 5, 2026

US12618637 - Muzzle loader

A muzzle loading system includes a ramrod and a muzzle loader. The ramrod includes ramrod body having a ramrod proximal end and a ramrod distal end. The muzzle loader receives the ramrod proximal end, applies a loading pressure to the ramrod, and provides audible and/or haptic feedback in response to the applied loading pressure reaching a target loading pressure.

muzzleloader firearm ammunition
May 5, 2026

US12618638 - Firearm sling connector with a swivel assembly

A firearm accessory connector includes a mount assembly to connect the firearm accessory connector to a firearm; a swivel assembly coupled to the mount assembly and providing for rotation around the mount assembly, the swivel assembly having a swivel sleeve coupled to the mount assembly and to rotate about the mount assembly; and a flexible member coupled to the swivel sleeve and extending from the swivel sleeve, the flexible member to attach to an accessory such that the accessory is coupled to the firearm.

firearm accessory connector swivel
May 5, 2026

US12618639 - Grips for handheld projectile weapons, handheld projectile weapons that include the grips, and associated methods

Grips for handheld projectile weapons, handheld projectile weapons that include the grips, and related methods. The grips include a grip frame, a frame cover, and a fastener. The grip frame includes a frame keyed region, a frame fastener receptacle, and an attachment structure. The frame cover is configured to be operatively attached to the grip frame, to cover a corresponding region of the grip frame, and to at least partially define a grip surface of the grip. The frame cover includes a cover keyed region, which is shaped to slidingly engage with the frame keyed region along an engagement axis. The frame cover also includes a cover fastener receptacle positioned to align with the frame fastener receptacle. The fastener extends through both the frame fastener receptacle and the cover fastener receptacle to resist relative motion between the grip frame and the frame cover.

firearms grips handheld weapons
May 5, 2026

US12618640 - Firearms accessory device

A firearm accessory device removably attachable to a firearm. The accessary device including a finger stop assembly for coupling to a handguard, forestock, barrel or accessory rail of a firearm. The finger stop device may include an illumination device and a power source housed within the device. In embodiments, the device may further include one or more activation devices operably and electrically connected to the illumination device and positioned at an access opening forwardly oriented in a body portion of the device.

firearm accessory illumination
May 5, 2026

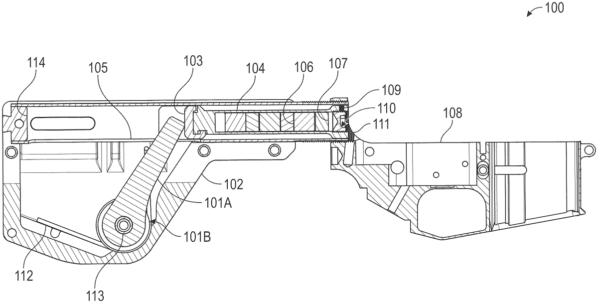
US12618641 - Firearm shoulder stock assembly

An adjustable firearm butt stock that is constructed to be secured to a rearward facing end of a firearm receiver assembly. The butt stock defines a plurality of magazine wells that are offset from one another along a longitudinal axis of the stock. Each magazine well opens in a generally downward facing direction and is constructed to removeably cooperate with cartridge magazines that removeable cooperate with the receiver magazine well associated with operation of an underlying firearm. The stock includes discrete magazine catches associated with each of the respective wells and which are operable to selectively secure and/or effectuate storage and/or removal of discrete cartridge magazines from a respective one of the first and second magazine wells defined by the butt stock.

firearm shoulderstock magazinewell
May 5, 2026

US12618642 - Universal holster

A universal holster is disclosed, including a sleeve body and a first adjustable component. The sleeve body has a chamber, and the first adjustable component includes a first bracket, a connecting rod, a movable part and an adjustable part. The first bracket is rotationally connected with respect to the sleeve body and one end of the connecting rod is rotationally connected to the first bracket, a rotational connection point between the connecting rod and the first bracket is eccentric to a rotational connection point between the first bracket and the sleeve body, another end of the connecting rod is rotationally connected to the movable part, the adjustable part is connected with the movable part, and the adjustable part is used to drive the movable part for movement. The universal holster can be suitable to different models of pistols.

holster accessory
May 5, 2026

US12618643 - Handless shoulder-fire firearm carry system

A handless shoulder-fire firearm carry system for securing a shoulder-fire style firearm to a user moving in a walking pace or in a running pace includes a firearm including a frame having a first section, a second section, and a center section. A belt is worn about a waist of the user. An anchor is coupled to the belt and secures the firearm to the belt. A vest is worn on a torso of the user. The vest holds the firearm in a downward position relative to the user. A pair of securing attachments is coupled to the firearm. Each of the securing attachments facilitates securing the firearm to the anchor. The pair of securing attachments includes a first securing attachment facilitating securing the first section of the firearm to the anchor and a second securing attachment facilitating securing the center section of the firearm to the anchor.

firearm carry holster system
May 5, 2026

US12618644 - Aircraft weapons pod including rail launcher

An aircraft comprising a weapons pod including an enclosure mounted to an outer mold line of the aircraft, and at least one missile rail launcher mounted entirely within and fixed to the enclosure.

aircraft weapons missile launcher
May 5, 2026

US12618645 - Scope protector for weapon scope

A scope protector for a weapon scope includes a scope adapter defining a cylindrical bore, the scope adapter having a first end that is configured to connect to an end of the weapon scope to align the cylindrical bore of the scope adapter with a lens of the weapon scope. The scope protector may further include a lens cover defining a cylindrical bore, the lens cover being configured to connect to a second end of the scope adapter opposite the first end (and/or to an intervening diffuser adapter housing a diffuser such as a honeycomb diffuser) to align the cylindrical bore of the lens cover with the lens of the weapon scope. The scope protector may further include one or more transparent polymer films housed within the lens cover so as to cover the cylindrical bore thereof.

scope protector firearm accessory
May 5, 2026

US12618646 - Verification of desired target illumination in the presence of clutter for laser-designated applications

A laser seeker system is provided. The laser seeker system includes at least a laser pulse receiver circuitry and a pulse evaluator is provided. The pulse evaluator can be configured to obtain a set of measured pulse repetition intervals associated with laser pulses acquired by the laser pulse receiver circuitry. The pulse evaluator can further categorize a current volatility status indicating a respective category of a set of volatility categories, and based on a volatility index indicating a variance of the set of measured PRIs and a volatility counter indicating a number of the acquired laser pulses. The pulse evaluator can further increase a respective category counter that counts occurrences of the respective volatility category. The pulse evaluator can further categorize the authenticity of the laser seeker target based on the set of category counters.

laser seeker military defense
May 5, 2026

US12618647 - Laser pulse shape detection using frequency characterization

A method includes receiving a plurality of laser pulses as a pulse train on a plurality of imaging sensor pixels in an array of pixels. For each pixel in the array of pixels, the method includes receiving a respective one of the laser pulse trains, and scanning the pixels response across a range of frequencies with a bandpass filter to determine pulse shape characteristics of the respective one of the laser pulse trains. The method includes filtering out all of the laser pulse trains that do not fit a predetermined pulse shape characteristic for a true target designation pulse train, and physically adjusting trajectory of a physical resource toward a target based on location on the imaging sensor of one or more pixels receiving a laser pulse train that fits the predetermined pulse shape characteristic for the true target designation pulse train.

laser detection guided munition
May 5, 2026

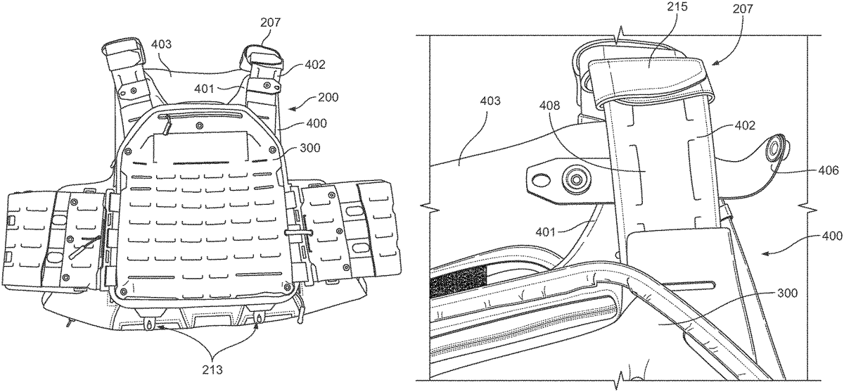
US12618649 - Armor system

The ballistic system described in the present disclosure may be used in vehicle settings and by a user as a shield. The ballistic system may comprise a cover, a headrest hood, and an armor system. The ballistic system may include one or more attachment devices or straps. The ballistic system may include a handle and an accessory panel. A portion of the ballistic system may be installed in the seat back pocket of a car. The ballistic systems described herein may be deployed by a user.

ballistic armor vehicle
May 5, 2026

US12618650 - Portable target stand

A portable target stand includes a base aimed to be deployed over a surface in a usage position. The base includes an elongated body, extending horizontally between a first end and a second end, opposite said first end, in said usage position, and four legs. The body includes target attaching means, configured to attach at least one target assembly thereto. The target assembly includes means for holding at least a target. Each of said legs includes a first portion, attached to said body so that is horizontally tiltable between a first folded position wherein said first portion is folded to said body, and a first extended position wherein said first portion is tilted away laterally from said body. Each of said legs further includes a second portion, attached to said first portion so that is vertically tiltable between a second folded position.

target stand portable
May 5, 2026

US12618651 - Short-range projectile

A projectile for short firing ranges includes as a cylinder with a nose having a substantially flat surface arranged with a threaded socket allowing for the arrangement of, for example, a fuze a rear section designed with a substantially flat surface, as well as a projectile body arranged with energetic material enclosed by a casing.

projectile ammunition short-range
May 5, 2026

US12618652 - Rocket camera system and method with rocket and camera dispenser

Systems and methods for photography of a spacecraft during space flight are provided. An autonomous deployable camera (ADC) is configured to capture images and video of a portion of a rocket, such as a crew capsule, as it flies in space with the Earth's horizon in the background and astronauts within the crew capsule visible and recognizable through windows of the crew capsule. The ADC, being reusable, is configured to land on the ground independent of landings or flight trajectories of the crew capsule or other parts of a rocket. The ADC includes a parachute to slow the descent of the ADC and tracking hardware to allow the ADC to be relatively easily recovered on the ground. After recovery, images are downloadable from the ADC.

rocket camera space photography
May 5, 2026

US12618653 - Magazine retention systems

Magazine retention systems including a pouch, an anchor, an elastic cord, and a tension adjuster. The pouch defines a pouch interior and is configured to receive an ammunition magazine. The pouch includes sidewalls and a floor. The sidewalls define a pouch opening through which the ammunition magazine may be selectively placed within the pouch interior. The floor is coupled to the sidewalls opposite the pouch opening and cooperates with the sidewalls to define the pouch interior. The anchor is coupled to the pouch. The elastic cord is secured to the anchor and extends around the sidewalls. The tension adjuster is mounted to the elastic cord. The tension adjuster maintains the elastic cord under a selected tension. The tension adjuster and the elastic cord cooperate to selectively compress the sidewalls to secure the ammunition magazine inside the pouch interior.

magazine retention ammunition
May 5, 2026

US12618654 - Transportable perforation tool

A transportable well completion tool is described. The transportable well completion tool comprises a housing with a charge module disposed within the housing. The charge module comprises explosive charges. An initiator module comprising a detonator is coupled to the housing, and a bulkhead member is disposed within the housing between the initiator module and the charge module. A containment cover is secured to the housing to cover the detonator. The transportable well completion tool can be transported with the containment cover in place, and the containment cover can be removed to connect the well completion tool to a tool string for downhole deployment.

explosive perforation well completion
May 5, 2026

US12618655 - Shock initiation of non-electric shock tube

Embodiments of the disclosure are directed to a shock initiation system for initiating shock in a shock tube for demolition. In some embodiments, the shock initiation system comprises a reusable discharge unit and a replaceable shock initiation platform. The reusable discharge unit may comprise a power source, a timer, a switch, and user inputs and may function to store a time, countdown the timer, and generate and transmit an electrical energy to the replaceable shock initiation platform. The shock initiation platform may receive the electrical energy from the discharge unit overpowering a resistor disposed on the shock initiation platform. The resistor may then detonate providing an initiation shock to a proximally disposed shock tube, thereby initiating shock in the shock tube.

shock initiation demolition explosive
May 5, 2026

US12618656 - Method of communication

A method of communicating in a blast system which includes the steps of transmitting timing signals from a master transceiver to a plurality of local transceivers, in response, at each local transceiver, defining a succession of micro-slots and calculating a size of a respective bin which is associated with each micro-slot, transmitting a packet from the master transceiver, at each local transceiver calculating a uniform random value, identifying the bin in which the uniform random value is located and during the micro-slot which is associated with the identified bin, if no transmission of a reply signal from any other local transceiver is detected, in response to the packet transmitting a reply signal from the local transceiver to the master transceiver.

May 5, 2026

US12618657 - Explosive material charging device for charging a borehole method of positioning an explosive material charging device explosive material charging vehicle and data medium

The present invention concerns an explosive material charging device and a method of positioning the explosive material charging device in a borehole. The explosive material charging device comprises a top anchor unit and a bottom anchor unit each configured to engage the borehole wall, an expandable tube member arranged between the top anchor unit and the bottom anchor unit and configured to be charged with explosive material, the bottom anchor unit comprises a backflow prevention valve device configured to prevent the explosive material to flow out from the expandable tube member, wherein the backflow prevention valve device is openable for permitting a charging hose to enter the expandable tube member for reaching the interior of the top anchor unit.

explosive borehole charging device
May 5, 2026

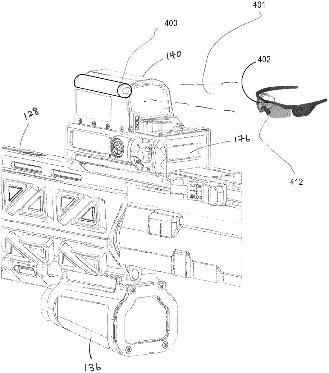
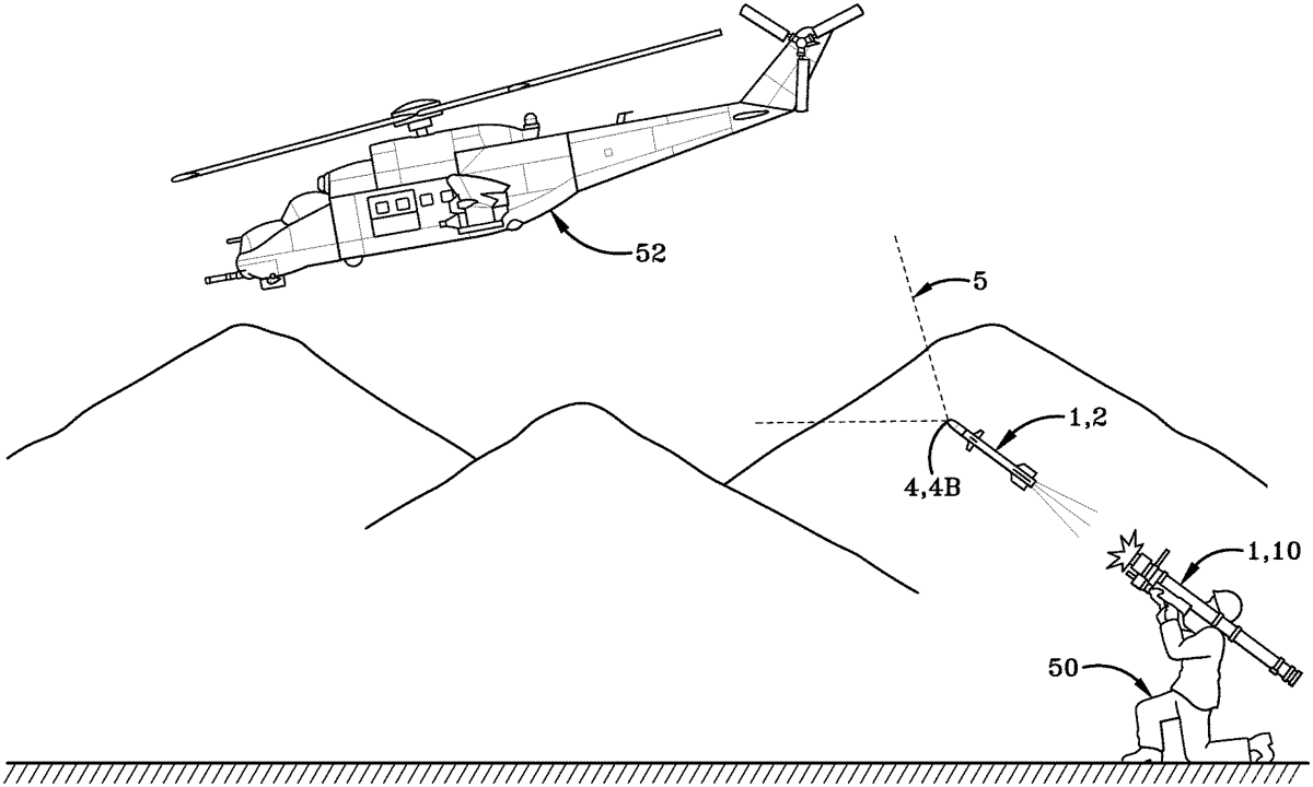
US12618975 - Targeting

A targeting method comprising the steps of determining a bearing to a target from an observer using first and second independent techniques; comparing the bearings as determined by the first and second independent techniques and determining whether the bearings are accurate; and if the bearing is deemed to be accurate; measuring a range from the observer to the target; and calculating the position the target based on the verified bearing and range from the observer's position. The bearing can be measured by using a magnetometer, and cross-checked or verified using calculations based on three-dimensional satellite cartography data. The range to the target can be cross-checked, as can the position and viewpoint of the observer.

targeting method bearings measurement
May 5, 2026

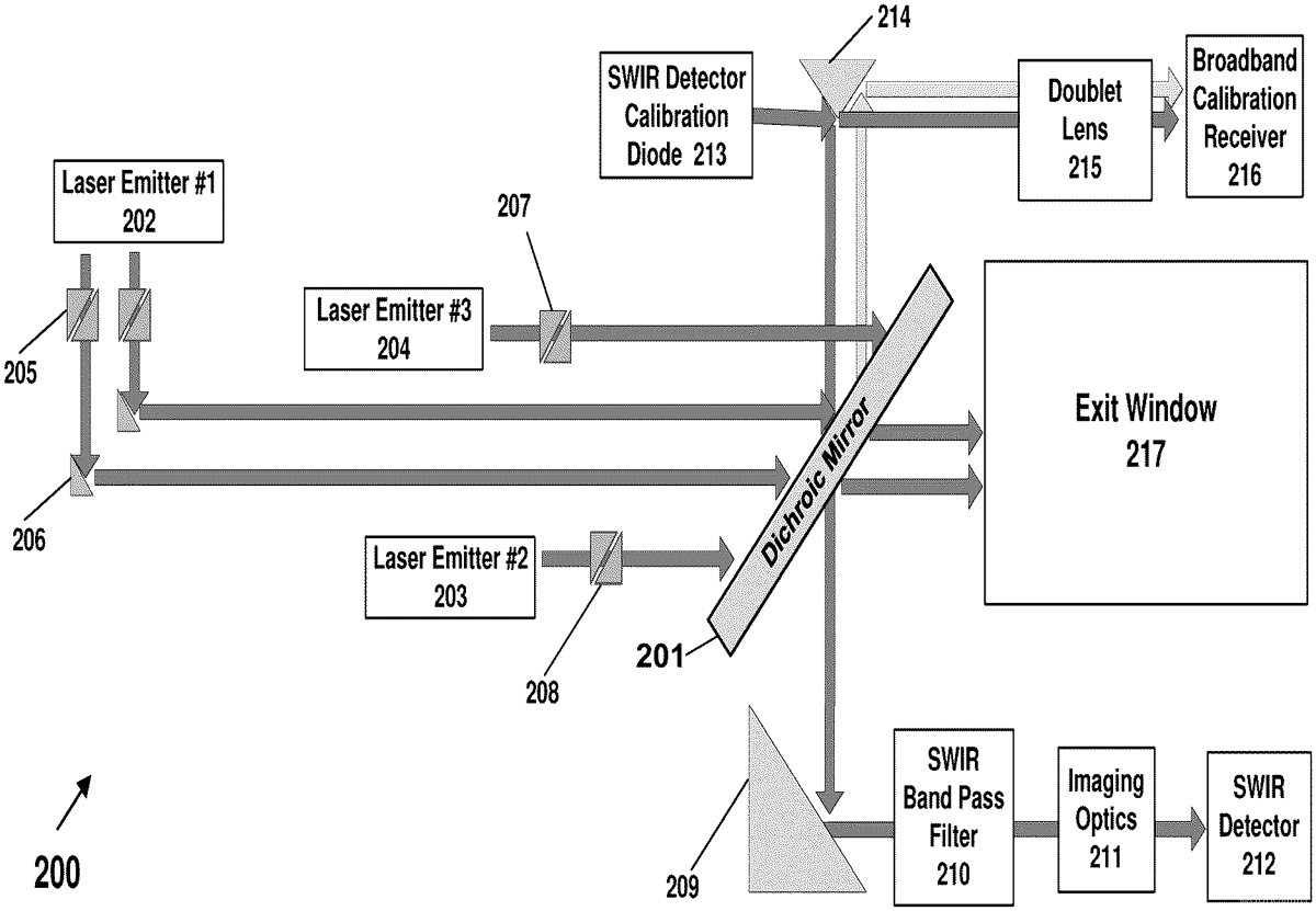
US12618977 - Optical detection system and method for detecting a hostile optical component

An optical detection system for detecting a hostile optical component without exposing the surrounding to unnecessary hazards is disclosed. The system comprises a laser unit configured to provide an adjustable laser beam along an optical path to scan for the optic component or to act as jammer by providing a target spoofing; a single aperture for the optical path; a detector configured to detect through the single aperture retroreflections of the laser beam at the optical component; and a camera for detecting through the single aperture potential candidates for the hostile optical component.

Apr 28, 2026

US12611026 - Wearable and replaceable pouch or skin for holding a portable battery pack

A wearable pouch operable to hold at least one portable battery pack and other power or communications equipment. The wearable pouch includes a main body with a front side, a back side opposite the front side, at least one sealable opening, and at least one opening for at least one lead from the at least one portable battery pack secured within the wearable pouch.

Apr 28, 2026

US12611027 - Bear spray canister carrying and deployment device

A bear spray canister carrying and deployment device for retaining a bear spray canister which integrates ergonomic positioning, single-hand operation and an optimized deployment angle which can facilitate a rapid response by a user without removing a bear spray canister from the carrying and deployment device. The carrying and deployment device can be in the form of an ergonomic armband sleeve or a compression sleeve to be worn on a user's forearm. When a bear spray canister is secured within a retaining pouch affixed to the carrying device, ergonomically spaced and positioned relative to the user's hand, wrist, and forearm. This positioning allows for the natural and efficient deployment with minimal hand movement and with the use of only one hand. Moreover, the spacing and positioning enhances accessibility and ease of activation, ensuring quick response time in self-defense situations without removal of the canister from the carrying device.

bearspray selfdefense deploymentdevice
Apr 28, 2026

US12612150 - Pyrotechnic devices and firing mechanisms for aircraft canopy jettison

Pyrotechnic devices and firing mechanisms for aircraft canopy jettison are disclosed herein. An example firing mechanism includes a housing defining a first bore, a second bore, and a channel between the first bore and the second bore, a primary charge disposed in the second bore, a closure disc between the second bore and the channel, and a firing pin assembly disposed in the first bore. The firing pin assembly includes a percussion primer and a firing pin piston including a piston body, a firing pin extending from the piston body, and a piercing pin extending from the piston body. In response to a firing signal, the firing pin piston is moved toward the primary charge such that the piercing pin punctures the closure disc and the firing pin engages the percussion primer to ignite the primary charge.

pyrotechnics aircraft firingmechanism
Apr 28, 2026

US12612237 - Repellent spray dispensers and methods of use

Repellent spray dispensers and methods of their use. Such a repellent spray dispenser includes a case configured to enclose a canister containing a repellent, an exit orifice configured so that a stream of the repellent propelled from the canister exits the case through the exit orifice, an audible alarm, a first actuating member operable to cause the audible alarm to be generated simultaneously with the stream of the repellent being propelled through the exit orifice of the case, and a second actuating member operable to cause the audible alarm to be generated without causing the stream of the repellent to be propelled through the exit orifice of the case.

Apr 28, 2026

US12613071 - Control-tilt follower for a firearm magazine

A control-tilt follower for a firearm magazine includes a first leg and a second leg. The first leg and the second leg are flexible which allows the follower to tilt upwardly and downwardly inside a firearm magazine. The first leg includes an indent. The second leg includes a protrusion. A follower retainer is disposed on a side of the follower to act as a guide for the follower to move up and down the firearm magazine. The follower connects to a spring inside the firearm magazine.

firearm magazine follower
Apr 28, 2026

US12613072 - Fluid pressure dampener with structurally improved baffles

A suppressor has an outer shell with a bore defined along a central longitudinal axis of the shell and fluidically coupling an entrance port to an exit port. Baffles enclosed within the outer shell each have a central aperture circumvolving the bore and a deflecting channel radially offset from the bore and in fluid communication with the central aperture. Each deflecting channel is formed by opposing sidewalls formed in a baffle and extending to a diversion wall. First and second openings of a deflecting channel fluidically couple the channel with the bore and with the volume enclosed by the outer shell. Each deflecting channel deflects propellant gases in a direction perpendicular to axial flow through the bore.

suppressor firearm ammunition
Apr 28, 2026

US12613073 - Apparatus, methods, and system for retarding heat dissipating from the barrel of a firearm

A heat retardant system for covering a barrel of a firearm is disclosed. The system comprises a tubular sleeve with innermost and outermost layers, first and second end portions each having an opening, and a fastener for securing the sleeve to the firearm. The tubular sleeve spans substantially the entire barrel, enhancing heat management. The innermost layer comprises a heat tolerant material that forms a retardant channel enveloping the barrel. Additional features include a first section on the outermost layer covering portions of the inner layer, vents for improved heat dissipation, and a rigid stabilizer to maintain the sleeve's upright position. An elastic cord fastener and a unique configuration with a cutout facilitate attachment to firearm components. This system is adaptable for various firearm designs, significantly improving heat management while maintaining barrel accessibility and safety during use.

firearm heatmanagement barrelaccessory
Apr 28, 2026

US12613074 - Archery bow with axial tensile springs and slope-based CAMS

An archery bow includes a riser, a cam module rotatably mounted to a fixed pivot supported by the riser, and an energy storage system comprising at least one axial tensile spring operatively coupled to the cam module via a multi-roller shuttle assembly. The cam module includes a cam track with a variable slope profile that governs the draw force curve during rotation. The multi-roller shuttle assembly engages both the cam track and a guide track surface to constrain the shuttle to a defined path, thereby elongating the axial tensile spring as the bow is drawn. The cam module includes parallel string grooves for engaging a single bowstring without synchronization cables. The axial tensile spring may be folded around a turning element to form two tensile legs and housed within the riser. This configuration enables compact, lightweight bows with customizable draw characteristics and reduced lateral torque.

archery bow cam tensile
Apr 28, 2026

US12613075 - Cable adjustment assembly for compound bow

A compound bow includes a cable assembly including an adjustment assembly. The adjustment assembly has a first unit and a second unit on a rotational axis of the cable assembly. A first cable segment has a terminal end rotationally fixed to the first unit. A second cable segment has a terminal end rotationally fixed to the second unit. The adjustment assembly includes a lock between the first unit and the second unit. The lock is movable between a locked position and an unlocked position. The first unit and the second unit are rotatable relative to each other about the rotational axis R of the adjustment assembly when the lock is in the unlocked position. The first unit and the second unit are fixed relative to each other about the rotational axis of the adjustment assembly when the lock is in the locked position.

compoundbow cableassembly adjustmentassembly