Firearms and Ammunition Patent Grants

Weekly firearms and ammunition patent grants.

Apr 28, 2026

US12613076 - Pneumatic launching apparatus employing barrel cam driving pathways and methods

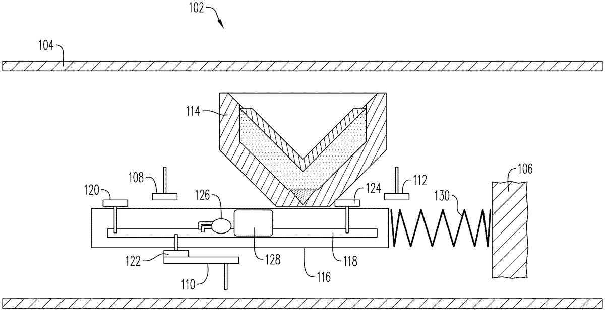
Launcher apparatus and methods of a toy projectile blaster piston air compression element and breech bolt operating through a barrel cam peripheral surface with a cylinder cam pathway track and piston cam pathways for driving contact and respective piston and cylinder timings. The barrel cam is rotatably disposed. Piston and cylinder follower ends contact the barrel cam pathways generating fluid communication to outwardly launch received projectile rounds. The breech can receive projectiles with the breech bolt of the air compression element extending into the breech to position a received projectile through the barrel seal, and a source of rotary motion or forward strokes and back strokes fires the projectiles.

pneumatic toy projectile blaster
Apr 28, 2026

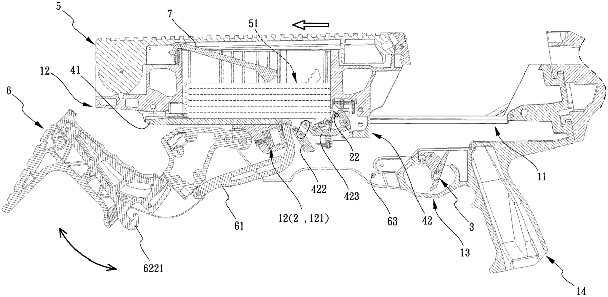
US12613077 - Barrel shroud for tilting barrel

A weapon accessory includes a barrel shroud that has left and right side walls from which rearwardly extends an attachment member. An upper member extends between upper portions of the left and right side walls. The upper member does not extend to a distal end of the barrel shroud, and instead a distal opening is left between the upper portions of the left and right side walls. This distal opening accommodates barrel tilt of a barrel extension.

barrel shroud accessory firearm
Apr 28, 2026

US12613078 - Imaging apparatus with thermal augmentation

A thermal image-forming attachment for a sighting apparatus has a combiner for overlaying a generated thermal image from a display against a visible scene defined along an optical axis of the sighting apparatus, wherein the combiner intersects the optical axis between an objective lens and the visible scene. A first IR camera has a first field of view aligned with the sighting apparatus optical axis; a second IR camera has a second field of view narrower than the first field of view, aligned with the sighting apparatus optical axis. An image processor generates the thermal image on the display, wherein IR image content rendered from the second IR camera is centered within IR image content from the first IR camera. Collimating optics project the thermal image from the display toward the combiner as collimated light aligned with collimated light from the visible scene.

sighting thermal imaging military
Apr 28, 2026

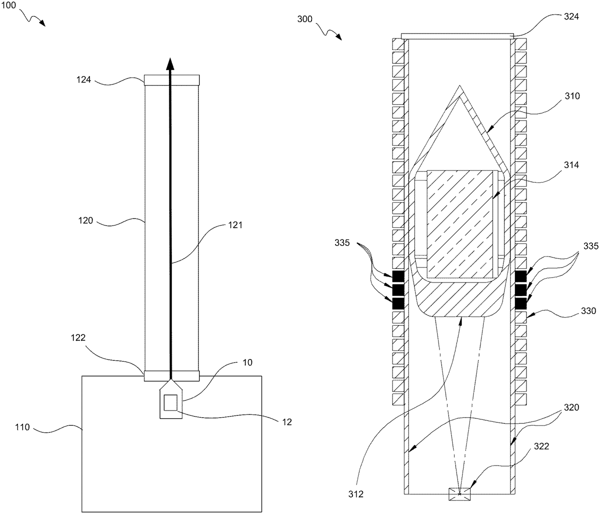
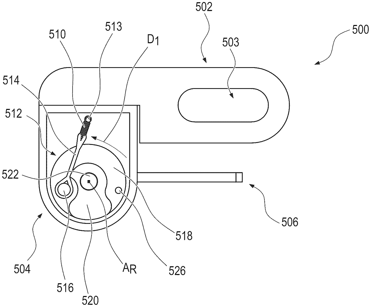
US12613079 - Boresight device, firearm calibration system, and method

A boresight device for calibrating a firearm and insertable into a chamber of the firearm. The boresight device includes a housing, a light-emitting assembly, and a magnet. A boresight device for calibrating a firearm is insertable into a chamber of the firearm. The housing is configured to be placed in the chamber of the firearm, the housing defines an emitting surface at a first end. The light-emitting assembly is received in the housing and is configured to emit a light beam out of the firearm when the housing is placed in the firearm. The magnet is attached to the housing. The magnet is positioned to magnetically engageable with a portion of the firearm, and the magnet is movable relative to the chamber.

boresight firearm calibration device
Apr 28, 2026

US12613080 - Systems and methods for accuracy assistance calculation and display on removable device

A removable optics attachment for a weapon includes a first display, at least one sensor, at least one wireless communication circuit for sending an receiving data, and a processor. The processor is programed to: receive environmental data from an information network and the at least one sensor; receive user account data from the information network; determine bullet drop compensation data based on the environmental data and the user account data; and display the bullet drop compensation data on the first display.

firearms optics accessories bulletdropcompensation
Apr 28, 2026

US12613081 - Mounting system adapter and chassis

A mounting system and method that provides simplified mounting points and attachment interfaces for associated components. Specifically, the system and method generally comprise a mounting system, including a new support chassis, which allows for a Forward Looking Infrared (FLIR) aiming system which was built to be placed in an infantry system for a TOW missile, to be used in a vehicle mounted ISU system.

mounting system adapter chassis
Apr 28, 2026

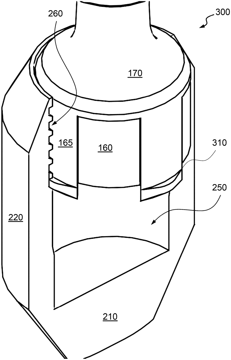
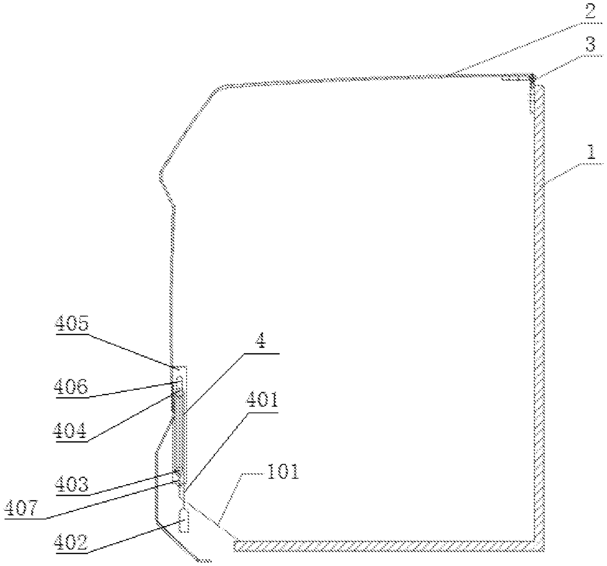
US12613082 - Method and system for intercepting and controlling target-drones

The present application relates to a method and a system for intercepting and controlling target-drones ( 2 ), allowing to control the target-drone's flight route ( 4 ), causing it to land in a predetermined landing position. For that purpose, the method of the invention provides the configuration of flight routes ( 4 ) for controlling the target-drone's flight path in order to direct it to the landing position, without causing any physical damage to the target-drone ( 1 ). This control is achieved by using police-drones ( 1 ) which are adapted to transmit redirection signals ( 3 ) used as a way to program a new flight route ( 4 ) for the at least one target-drone ( 2 ) to a landing position.

Apr 28, 2026

US12613083 - Configuration for spin stabilized less lethal munitions

A blunt impact munition cartridge for firing from a barrel having grooves defining a first bore diameter and lands defining a lesser second bore diameter. The cartridge comprises a case that has a propellant and defining a forward case mouth, and an elastomeric projectile. The projectile has a body portion having a cylindrical sidewall configured to be closely received in the barrel. The projectile includes a first polymeric ring encircling the body portion and has a first ring diameter. The projectile includes a second polymeric ring encircling the body portion and having a second ring diameter different from the first diameter.

lesslethal munitions bluntimpact
Apr 28, 2026

US12613084 - Inertial delay mechanisms for low-G and long-duration acceleration event detection and for initiation devices in munitions and impulse switches and the like

An inertial mechanical delay mechanism including: a first member rotatable about a first axis in a first direction. The first member having a first center of mass offset from a line parallel to a direction of acceleration and perpendicular from the first axis. A first elastic material exerts a first biasing force to the first member to bias the first member in a second direction. A second member is rotatable about a second axis in a third direction. The second member rotatable in a third direction by at least indirect interaction with the first member when the first member rotates a first angle in the first direction. A second elastic material exerts a second biasing force to the second member to bias the second member in a fourth direction. The first member is configured to rotate the first angle when the acceleration is greater than a predetermined magnitude and duration.

mechanism munitions inertial delay
Apr 28, 2026

US12613330 - Systems and methods for using a conducted energy weapon in conjunction with a noninvasive detection of impermissible objects

A system comprises a conducted energy weapon configured to emit at least one conductive probe in substantially an aimed direction, along with a housing containing a portable radar system with both a ranging resolution and lateral resolution sufficient to detect an object concealed on a person. The housing can be rigidly mounted on or in the conducted energy weapon, and the portable radar system can, when in operation, emit a radar beam and to receive a reflection of the emitted radar beam.

conducted energy weapon radar system detection impermissible objects
Apr 28, 2026

US12615350 - Personal tactical system including garment, camera, and power distribution and data hub

A personal tactical system including a load-bearing garment, a pouch with one or more batteries enclosed in the pouch, at least one power distribution and data hub, and at least one camera. The camera is incorporated into or removably attachable to the load-bearing garment, the pouch is removably attachable to the load-bearing garment and the one or more batteries are operable to supply power to the at least one power distribution and data hub. The at least one power distribution and data hub is operable to supply power to at least one peripheral device. A plurality of personal tactical systems is operable to form an ad hoc network to share images and other information for determining object direction, location, and movement.

Apr 21, 2026

US12604874 - Bowfishing reel with reel mount supporting locking guide arm

A reel and mounting fixture suitable for bowfishing and the like provides a reel with a cowling covering a reel with a wide opening to reduce frictional restraint on high-speed paying out of the line with the flight of the arrow and a guide arm supported by the mounting fixture to minimize line diversion and hence friction during line payout while absorbing forces when the line is retracted permitting use of a lighter cowling design without loss of strength. The guide arm is fixed to the mounting fixture using a notched guide arm engaging with a lever of the mounting fixture.

fishing reel bowfishing
Apr 21, 2026

US12604879 - Bug killing device

A bug killing bow is provided. The bug killing bow may take the form of an archery bow. The archery bow has a chamber which stores a material such as, for example small particulate material such as salt. The small particulate material may be expelled from a barrel of the bow by air. When the bow is aimed at an insect and the small particulate material is expelled, the small particulate material may be used to kill the insect.

bug killing bow archery
Apr 21, 2026

US12607102 - Tandem sub for self-orienting perforating system

A method and apparatus for using a tandem sub to connect one or more perforating gun assemblies, having a rotational mechanism located in both ends of the tandem sub allowing the one or more shaped charges to rotate within the one or more perforating assemblies connected to the tandem sub.

perforating wellbore shapedcharges
Apr 21, 2026

US12607423 - Two part bedding block for a firearm

A firearm including a rear action screw pillar configured to mount in a stock of the firearm and receive a rear action screw therethrough to secure an action of the firearm to the rear action pillar. The firearm further includes a front action screw pillar configured to mount in the stock of the firearm forward of the rear action screw pillar and receive a front action screw therethrough to secure the action of the firearm to the front action screw pillar.

firearm bedding block
Apr 21, 2026

US12607424 - Last round hold open

An assembly for holding a bolt of a firearm in an open position is disclosed. The assembly comprises a bolt catch pivotable about a first axis toward and away from a catching position. In the catching position, a portion of the bolt catch is within a path of travel of the bolt. A follower transfer adapter is pivotable about a second axis. The follower transfer adapter includes an engagement portion that is configured to engage a follower of a magazine. Optionally, the follower transfer adapter includes an overhang lip that extends transversely to the longitudinal axis of the firearm and into a path of travel of the follower to define the engagement portion. The engagement portion is positioned between the second axis and the bolt catch along the longitudinal axis of the firearm. A linkage transfers rotational movement of the follower transfer adapter to rotation of the bolt catch.

firearm boltcatch mechanism
Apr 21, 2026

US12607425 - Opposing force recoil reduction in a firearm

A firearm which provides recoil reduction using the kinetic energy of the hammer to cancel a portion of the bolt's recoil after a round has been fired. After the bolt starts to move rearward in response to the detonation, the hammer's forward kinetic energy is transferred onto the bolt by striking it at the moment the bolt starts to travel rearward or after the bolt has started its rearward motion.

firearm recoil mechanism
Apr 21, 2026

US12607426 - Semi-automatic shotgun and components thereof

A semiautomatic shotgun comprising a receiver, a barrel, a forward gas block assembly attached to the barrel, a slider assembly rearward of the gas block assembly extending into the receiver. Upon firing a shotshell the explosive gases in the barrel are diverted through two ports into the gas block assembly, specifically into a pair of lateral pressure relief valves positioned on both sides of the barrel. The pressure relief valves further having a gas pathway from the barrel provided by clusters of holes less than a specific size and on-center with the barrel axis. A piston is forced rearwardly and engages a slider of the slider assembly that is linked to a breech block in the receiver. The breech block loads unfired shells and ejects the fired shells accomplishing the semiautomatic recycling. The dual pressure relief valves actuate to moderate and limit the gas pressure that enters the piston chamber when using shotshells of different power levels thereby providing consistency in the recycling operation. The shotgun assembled with a plurality of retention pins having uniformly sized O-rings.

shotgun semiautomatic firearm ammunition
Apr 21, 2026

US12607427 - Arrangement for feeding ammunition to a weapon

Disclosed is an arrangement for feeding ammunition to a weapon. The weapon is mounted to an elevation device arranged to allow elevation movement of the weapon about an elevation axis. The arrangement includes a feeding chute connected at one end to the weapon. The feeding chute includes a set of elements assembled together in a stacked configuration. The set of elements is arranged about a shaft configured to be concentrically arranged relative to the elevation axis so as to allow movement of individual elements of the set of elements about the shaft in connection to elevation movement of the weapon about the elevation axis. The invention also relates to a vehicle with an arrangement according to the present invention.

ammunition feeding weapon
Apr 21, 2026

US12607428 - Blast attenuation device

A blast attenuation device for a gun tube. The blast attenuation device has a first wall section which defines a first chamber, which extends from an inlet end having an inlet aperture to an outlet end having an outlet aperture. The blast attenuation device also has a second wall section which defines a second chamber, which extends from an inlet end having an inlet aperture to an outlet end having an outlet aperture.

blast attenuation device firearm
Apr 21, 2026

US12607429 - Bow attachment weight rest

A weight support apparatus and method of use for attachment to an archery bow. The apparatus includes a base having two wings that extend laterally out to support the weight of a bow. Arms are positioned perpendicularly on the base forming a gap between opposing arms to receive a portion of a bow. One or more arms are provided to mount the apparatus on a bow by introducing a portion of the bow between the arms. A through bolt is also provided that secures the apparatus to the bow by tightening the arms against the bow.

archery bow weight support accessory
Apr 21, 2026

US12607430 - Pistol stabilizer platform

A pistol stabilizer platform includes a platform member including multiple mounting provisions, a forward handgun clasping assembly secured to the platform member at a first one of the multiple mounting provisions, and a rear grip abutment member secured to the platform member at a second one of the multiple mounting provisions. The platform member is located only on one side of the handgun placed in the pistol stabilizer platform.

pistol stabilizer firearm accessory
Apr 21, 2026

US12607431 - Structures for firearms

A buffer tube for a firearm can include a body defining an interior cavity for receiving a buffer spring and a rail disposed on and/or formed from the outer surface of the body. The rail can include one or more pin holes configured to receive a pin of a stock to lock the stock in a position. The buffer tube can also include a slide bar channel defined through at least a portion of the rail and configured to allow a slide bar to slide therein relative to the one or more pin holes to urge a pin out of a respective pin hole and/or to block a pin from being received by the pin holes.

firearm buffer tube stock system
Apr 21, 2026

US12607432 - Holster for conducted energy device with control access

The present invention discloses a holster for a conducted energy device. The holster comprises a holster body having a cavity to receive the conducted energy device. The conducted energy device comprises one or more switches to control one or more functions of the conducted energy device. The holster further comprises one or more access modules integrated at an outer surface of the holster body. The access module is configured to activate the switches while the conducted energy device is secured within the holster to control the functions including energization of the conducted energy device. The access module includes an opening to expose the switch. The opening enables a user to access the switch.

holster conducted_energy_device
Apr 21, 2026

US12607433 - Method, apparatus, terminal, and storage medium for image processing

A method and device for image processing, a terminal and a storage medium. The method includes acquiring an image generated by an infrared sighting telescope arranged on a firearm; determining a grey level dynamic range of a preset first portion of the image; if a difference value between the grey level dynamic range value and the grey level of the preset second portion reaches a preset starting processing threshold, performing mean filtering processing on each pixel of the preset second portion to obtain a filtered grey level; and if the filtered grey level is greater than a preset grey level expectation threshold, processing the pixel, so that the grey level of the pixel is close to the grey level expectation value.

imageprocessing firearm infraredsighting
Apr 21, 2026

US12607434 - Device for tracking target and system including the same

A target tracking device for tracking a target TG, comprising: a memory storing at least one instruction; and at least one processor executing the at least one instruction, wherein the at least one processor: identifies the target based on at least one of radar data acquired through a radar and vision data acquired through a camera, and performs a guidance process to approach the identified target, performs a first guidance process at a first tracking time point to track the target in a certain manner, and performs a second guidance process at a second tracking time point, which is chronologically subsequent to the first tracking time point, to track the target in a manner different from the certain manner.

Apr 21, 2026

US12607435 - Method for detecting a shot hit with an inflatable shooting target and for providing a real-time indication of the hit

A method for detecting a shot hit on an inflatable shooting target and for providing a real-time indication of the hit. The method includes the step of providing a shooting target system with one or more inflatable shooting targets, each of them is assembled on a blower, a power source that is connected to each blower through a controller that controls the activation of each blower, and a current meter between the controller and the power source. The method includes the second step of measuring the current that flow to a certain blower, detecting changes in the current level that occurs upon a hit in a certain inflatable shooting target that is assembled on that certain blower, and making and indication of the hit by turning off the certain blower or by sending a notification to a mobile device of the user or the operator.

inflatable shooting target detection
Apr 21, 2026

US12607436 - System and method for recovery of undamaged frangible aerial targets

A system and method for recovery of undamaged frangible aerial targets at shooting ranges includes a net positioned horizontally above ground level to cover a target fall zone. The net has mesh openings sized to retain undamaged frangible aerial targets while allowing damaged targets to pass through. The net forms a closed loop around parallel elongated front and rear rollers supported above ground by a plurality of fixed caster assemblies. A motor operatively coupled to at least one roller drives the net in a conveyor-like motion. Undamaged targets landing on the net are transported by the net to a collection area positioned adjacent to the front roller. The system may include friction strips on the rollers to enhance traction and a protective barrier shielding the collection area from stray shotgun pellets, thereby enabling recovery and reuse of targets that would otherwise break upon ground impact.

target_recovery shooting_range frangible_targets
Apr 21, 2026

US12607437 - Cartridge with inner surface grooves for a conducted electrical weapon

A cartridge for a conducted electrical weapon may comprise a body having a first end opposite a second end and an outer surface opposite an inner surface. A projectile may be disposed within the body. The inner surface of the body may define a plurality of grooves extending from the first end of the body to a location within the body.

conducted electrical weapon cartridge
Apr 21, 2026

US12607438 - Projectile and firearm system

A cartridge is disclosed with a casing and a projectile, wherein external ballistic stability is provided by a center of pressure of the projectile being rearward of a center of mass of the projectile. The projectile includes flight control surfaces that cooperate with the bore of a barrel without requiring rifling or sabots. The projectile can include fin configurations that cooperate with the bore to form a bearing surface with the bore.

firearm ammunition projectile
Apr 21, 2026

US12607439 - Blast shield apparatus and method

In one embodiment, a blast shield apparatus comprises: a blast resistant blanket having a blanket edge and a blanket center region; a plurality of blanket magnets disposed near the blanket edge and distributed along the blanket edge; and a chamber having a first side facing the blast resistant blanket and coupled to the blanket center region of the blast resistant blanket, and a second side opposite from the first side and facing away from the blast resistant blanket. The chamber includes a chamber interior to store a gas.

Apr 14, 2026

US12599124 - Sporting dowel rod

A sporting dowel rod is provided. The sporting dowel rod includes an elongated rod including a first end portion and a second end portion distal from the first end portion. The sporting dowel rod further includes a first handle attached to the first end portion and a second handle removably attached to the second end portion. The sporting dowel rod is configured to operate as an aider to a user for dragging or hanging a game animal when the second handle is attached to the second end portion. The sporting dowel rod is configured to operate as a billy-club when the second hand is removed from the second end portion.

dowel sporting game aider
Apr 14, 2026

US12600475 - Placement system

The present invention relates to a body ( 2 ) located on an air vehicle; at least one weapon (W) located on the body ( 2 ) to attack a target; a carrier ( 3 ) that allows the weapon (W) on the body ( 2 ) to be moved and carried as desired by the user; at least one rail ( 4 ) which extends longitudinally on the body ( 2 ) and allows the carrier ( 3 ) to move in the direction it extends; a plurality of housings ( 5 ) located on the rail ( 4 ); at least one pin ( 6 ) located on the carrier ( 3 ) so as to be form-fitted and opposite to the housings ( 5 ); the pin ( 6 ) having a locked position (I) in which the pin ( 6 ) contacts the housing ( 5 ), thereby fixing the carrier ( 3 ) on the rail ( 4 ), and a free position (II) in which the user triggers the pin ( 6 ) to cut its contact with the housing ( 5 ) so that the carrier ( 3 ) can be moved and brought on the rail ( 4 ).

aircraft weapon carrier rail
Apr 14, 2026

US12600559 - Container with fire-resistant, explosion-withstanding, and heat-insulating capabilities

The container includes at least a composite fireproof and explosion-proof plate assembly, at least a reinforcing steel bar, at least a heat-insulating fireproof layer, at least an external panel, at least a supporting steel bar, and multiple structural steel bars. The plate assembly is assembled with the reinforcing steel bar on its exterior. The heat-insulating fireproof layer is filled between the plate assembly and the external panel. The assembly of the external panel and the supporting steel bars is fixed to the multiple structural steel bars, forming a fireproof and explosion-proof energy storage container structure. This structure achieves the safety protection functions of fireproofing and explosion-proofing, effectively blocking and reducing the heat conduction of the container, providing excellent insulation, energy storage benefits, and reducing the internal temperature of the container.

Apr 14, 2026

US12601081 - Devices, systems, and methods for treatment of tubulars

Disclosed herein are devices, methods, and systems for applying a coating and/or a plating to a surface, including metal surfaces on tubulars or gun barrels. In at least one embodiment, a device includes a rod and an applicator that is rotatable around the rod. The applicator includes a base on which are fixedly attached one or more arms. At one end of the arms is attached one or more applicator pads, which contain the coating and/or plating to be attached to a surface. In a further embodiment, a novel ablative coating includes an electroplated nanostructured porous metal layer combined with embedded nanoparticles. The porous metal layer may include zinc (Zn) and nickel (Ni), and/or alloys thereof. The embedded nanoparticles may include titanium dioxide (TiO 2 ) and hexagonal Boron Nitride (hBN), which are anti-corrosion, friction-reducing, and/or thermally insulating.

coating treatment tubulars wave
Apr 14, 2026

US12601554 - Firearm loader

A firearm loader includes a body defining a cavity with a first open end and a slot communicating with the cavity and an interface arm extending from the body. A method includes positioning a firearm loader on a firearm, the firearm loader comprising a body defining a cavity with a first open end and a slot communicating with the cavity and an interface arm extending from the body and transferring cartridges positioned in the cavity through a magazine opening of the firearm by engaging the cartridges through the slot and pushing the cartridges through the first open end. Positioning the firearm loader on the firearm comprises positioning the interface arm on a trigger guard of the firearm to align the first open end with the magazine opening.

firearm loader ammunition
Apr 14, 2026

US12601555 - Retaining magazine in magazine well

A magazine retention device includes a housing having a front surface and a back surface, a firearm attachment member for securing the magazine retention device to a portion of a firearm, a movable stop lever which includes a tab extending from a base member, the base member including an abutment face, and a pushing member which is urged against the abutment face by a biasing device. The movable stop lever has a locked position, in which the pushing member presses against the abutment face, which causes a portion of the movable stop lever to be pressed against a portion of the housing, such that the movable stop lever is sandwiched between the pushing member and the housing.

firearm accessory magazine retention
Apr 14, 2026

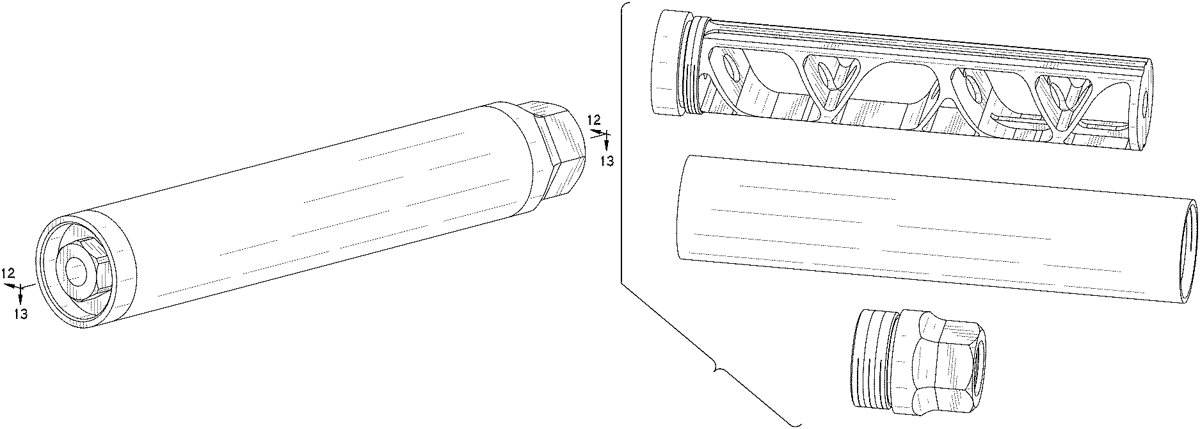
US12601556 - Firearm suppressor

A firearm suppressor including a first baffle segment with a cylindrical outer wall and a conical baffle core that defines a central opening, where a longitudinal length of the cylindrical outer wall is longer than a longitudinal length of the conical baffle core; and a second baffle segment comprising a cylindrical outer wall and a conical baffle core that defines a central opening, where a longitudinal length of the cylindrical outer wall is less than a longitudinal length of the conical baffle core.

firearm suppressor ammunition
Apr 14, 2026

US12601557 - Quick coupling muzzle booster and surpressor adaptor system for locked breech pistols and pistol caliber carbines

The present invention provides a quick coupling muzzle booster and suppressor adaptor system having a quick coupling muzzle booster and suppressor adaptor and direct rifle mount that can be coupled to a suppressor and mounted on a lock breech pistol or pistol caliber carbine. The system according to the invention provides wherein the quick coupling muzzle booster includes a booster slide with an external quick connect for coupling to the suppressor adaptor, and wherein the external quick connect of the booster slide includes a plurality of lugs corresponding to a proximal end of a housing of the suppressor coupling, and wherein the muzzle booster includes a booster piston that is coupled to a pistol. The system according to the invention may provide wherein the muzzle booster includes a booster piston nut with a spring, wherein the booster piston nut is coupled to the booster piston.

muzzle booster suppressor pistol
Apr 14, 2026

US12601558 - Firearm cleaning fluids

Cleaning fluids and methods are provided for cleaning a firearm. In examples, a firearm cleaning fluid may comprise an emulsion. The emulsion may include ammonium hydroxide and a sulfurized olefin. The sulfurized olefin may be in an amount less than about 30 weight percent based on the total weight of the firearm cleaning fluid.

cleaning firearm fluid
Apr 14, 2026

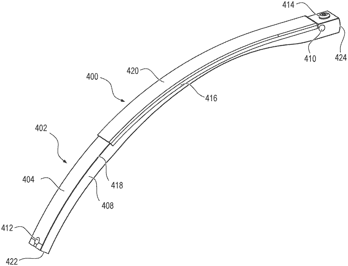
US12601559 - Folding firearm stock and related methods

Stocks for a rifle or other firearm transition between a deployed configuration and a stowed configuration. In the stowed configuration, a buttstock of the stock is positioned to at least partially surround the scope within an internal volume of the buttstock. The buttstock covers at least a portion of the rifle scope without needing to contact the scope, and is rigid enough to protect the scope from impacts. When the firearm is ready to be used, the stock may be deployed to reveal the scope and the stock may be positioned to serve in a conventional manner for the user to rest their shoulder against. To fold or unfold the stock, a grip and buttstock of the stock are rotated with respect to a forestock of the stock. Systems include both such a folding stock and a rifle or other firearm to which the stock is coupled.

firearm stock rifle
Apr 14, 2026

US12601560 - Buffer tube apparatus

A buffer tube apparatus for a weapon includes an outer tube defining a longitudinal axis, the outer tube having a first end configured to be coupled to the weapon and a second end opposite the first end, the second end configured to be coupled to a stock. A buffer assembly includes a shock absorber and is disposed within the outer tube. The buffer assembly is configured to absorb an impact of recoil generated by the weapon. An adjustment bar is configured to interact with the stock. The adjustment bar is coupled to the buffer assembly and slidable with respect to the outer tube along the longitudinal axis.

buffer firearm recoil stock
Apr 14, 2026

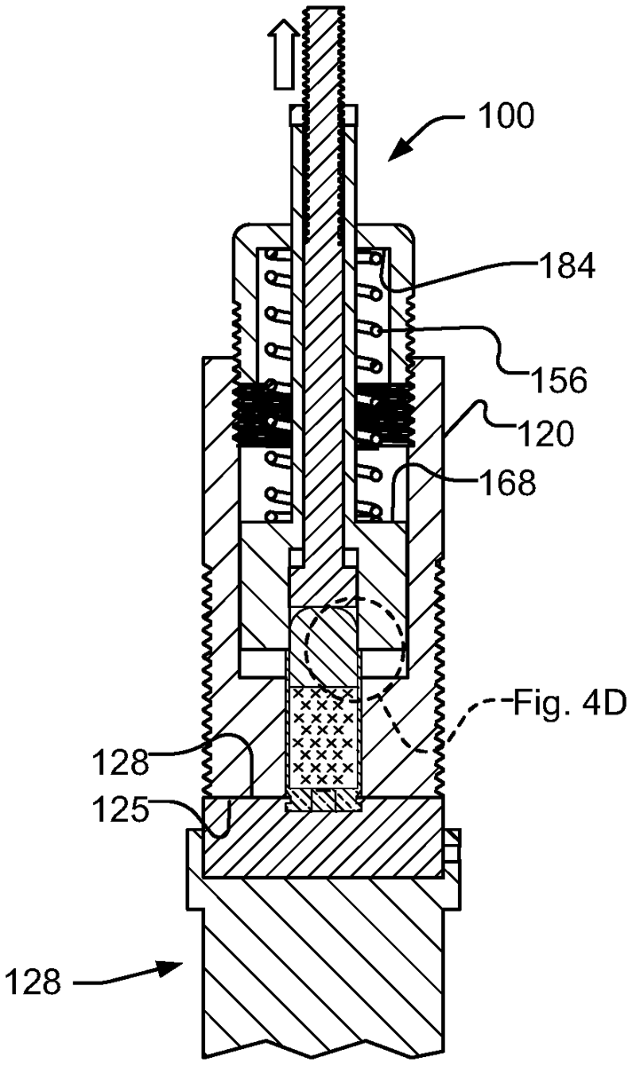
US12601561 - Recoil damping system for high pressure gas firearms

A recoil damping system includes at least one easily attached and detached spring tube of variable stiffness, absorbing the severe recoil created in firearms firing heavy-weight cartridges with high gas pressure. In the system in question, the spring tubes absorb the severe recoil that is created in firearms firing heavy-weight cartridges with high gas pressure in contrast to the known technique, and hence the impact on the shooter's shoulder is minimized. Thus, after the shot, the pain and injuries suffered by the shooter due to severe recoil are not in question any longer. The practical recoil damping system is compatible with all firearms firing heavy-weight cartridges with high gas pressure, where easily attached and detached spring tubes with variable stiffness can be applied.

firearm recoil damping system
Apr 14, 2026

US12601562 - Barrel nut handguard system

A barrel nut handguard system can include a handguard with a sidewall defining a bridge opening extending to a handguard interior, a barrel nut defining a registration groove around a periphery of the barrel nut, and a connector bridge in the bridge opening so that a contact surface engages the first registration groove. A fastener extending between the connector bridge and handguard can be tightened so the barrel nut is clamped between the contact surface and the handguard interior. The contact surface can fit between walls of the registration groove and prevent fore to aft sliding of the handguard relative to the barrel nut. The barrel nut can include tool lands allowing tooled rotation of the barrel nut relative to a receiver of a firearm to secure a barrel to the receiver with the barrel nut, without requiring rotational indexing of the barrel nut relative to the receiver.

firearm handguard barrelnut
Apr 14, 2026

US12601563 - Rifle case system

A rifle carrying case system. The rifle carrying case system includes a utility case for carrying rifles, a roller case for carrying rifle gear and accessories, and a docking station for mounting the utility case to a support structure such as a wall. The utility case and the roller bag case each include corresponding attachment mechanisms that enables the utility case to be removably coupled to the roller case for easy transit of the cases as a combined single unit. The attachment mechanisms include upper and lower hook members configured with the roller bag (e.g., with its extendable handle) and corresponding slots on the utility case that may be engaged by the hooks.

carrying case rifle accessories
Apr 14, 2026

US12601564 - Alignment guidance system

A combined sight and optic sight mount securable to an upper surface of a firearm comprising: an aperture frame including: a stationary aft aperture frame; and a movable aft aperture sub-frame situated within the stationary aft aperture frame and comprising: opposed vertical sidewalls, a top wall connecting the opposed vertical sidewalls, and a pair of substantially horizontal planar aiming reference members extending inwardly from the vertical sidewalls and defining a gap therebetween.

firearm sight optic mount
Apr 14, 2026

US12601565 - Electronic reduction of parallax errors in direct-view rifle scopes without ranging

An example rifle scope includes a plurality of light emitting devices for sending illuminations directed to a distal end of the rifle scope. A plurality of optical detectors detects reflected light received from the distal end of the rifle scope. Each of the optical detectors produces data regarding the reflected light each optical detector observed. A processor device receives the data on the reflected light from the optical detectors and adjusting a position of a field lens so an eyepoint projected in a target space of the rifle scope coincides with an optical axis of the rifle scope removing parallax errors due to misalignment.

rifle scope optics parallax
Apr 14, 2026

US12601566 - Howitzer training gun

A howitzer training gun with a gun carriage, a gun cradle supported by the gun carriage, a training gun barrel, and an unloading tray disposed at or near a forward end of the gun cradle, the unloading tray having a travel position and an operating position, and when in the operating position the unloading tray is arranged to receive a projectile from the training gun barrel and transfer the projectile to the ground.

howitzer training gun firearm
Apr 14, 2026

US12601567 - Viewing optic with impact absorption material

A viewing optic has a base and a housing. The housing has a front side, a rear side, a left side, a right side and a top side. The front side, rear side, left side and right side extend upwardly from the base. The top side extends between the upper edges of the front side, rear side, left side and right side. A load absorbing/dispersing component is on at least a portion of the top side. The load absorbing/dispersing component comprises a load absorbing/dispersing material.

optic viewing firearm accessory
Apr 14, 2026

US12601568 - Ballistic body armor jacket carrier with breakaway pockets and a method of securing and concealing armor plate panels in jackets

A ballistic panel carrier jacket is disclosed. The jacket of this invention comprises a front section and a back section. The back section has a back pocket attached thereto having an opening for receiving a back ballistic panel. The front section has a plurality of front pockets attached thereto having a housing pouch for receiving a front ballistic panel and a receiving pocket for receiving and securing the pouch of the front ballistic panel such that the front right and front left pockets interact with one another such that a section of one is received within another. The carrier jacket of the present invention also discloses a false pocket breakaway section that functions as a Hidden Draw System (HDS) that allows a user access their firearm legally from the holster, quickly and discreetly.

ballistic armor jacket carrier
Apr 14, 2026

US12601569 - Systems for projecting high voltage electrical discharges in air

A system for projecting high voltage electrical discharges along laser filaments in air has a high voltage electrical discharge device operable to generate and discharge a high voltage electrical discharge. A laser assembly has at least one laser operable to produce laser electrically conductive laser filaments in air. An electrode is electrically connected to the high voltage electrical discharge device and configured to direct a high voltage electrical discharge at a breakout point of the electrode. The electrode breakout point is disposed in relation to the at least one laser such that when electrically conductive laser filaments are created in air by the at least one laser the high voltage electrical discharge at the breakout point is caused to travel along the electrically conductive laser filaments in air.

electrical discharge laser high_voltage
Apr 14, 2026

US12601570 - Tactical laser defense system

A tactical laser defense system includes one or more tactical lasers configured to emit one or more respective laser beams at a particular target; one or more other tactical devices comprising at least one of: (i) a camera to capture images and/or video of an area surrounding the tactical laser defense system, (ii) a light source for illuminating the area surrounding the tactical laser defense system, (iii) a microphone for capturing audio information from the area surrounding the tactical laser defense system, and (iv) radar equipment for detecting enemy threats; and a power source operatively coupled to the one or more tactical lasers and the one or more other tactical devices, the power source configured to provide electrical power to the one or more tactical lasers and the one or more other tactical devices.

laser defense tactical
Apr 14, 2026

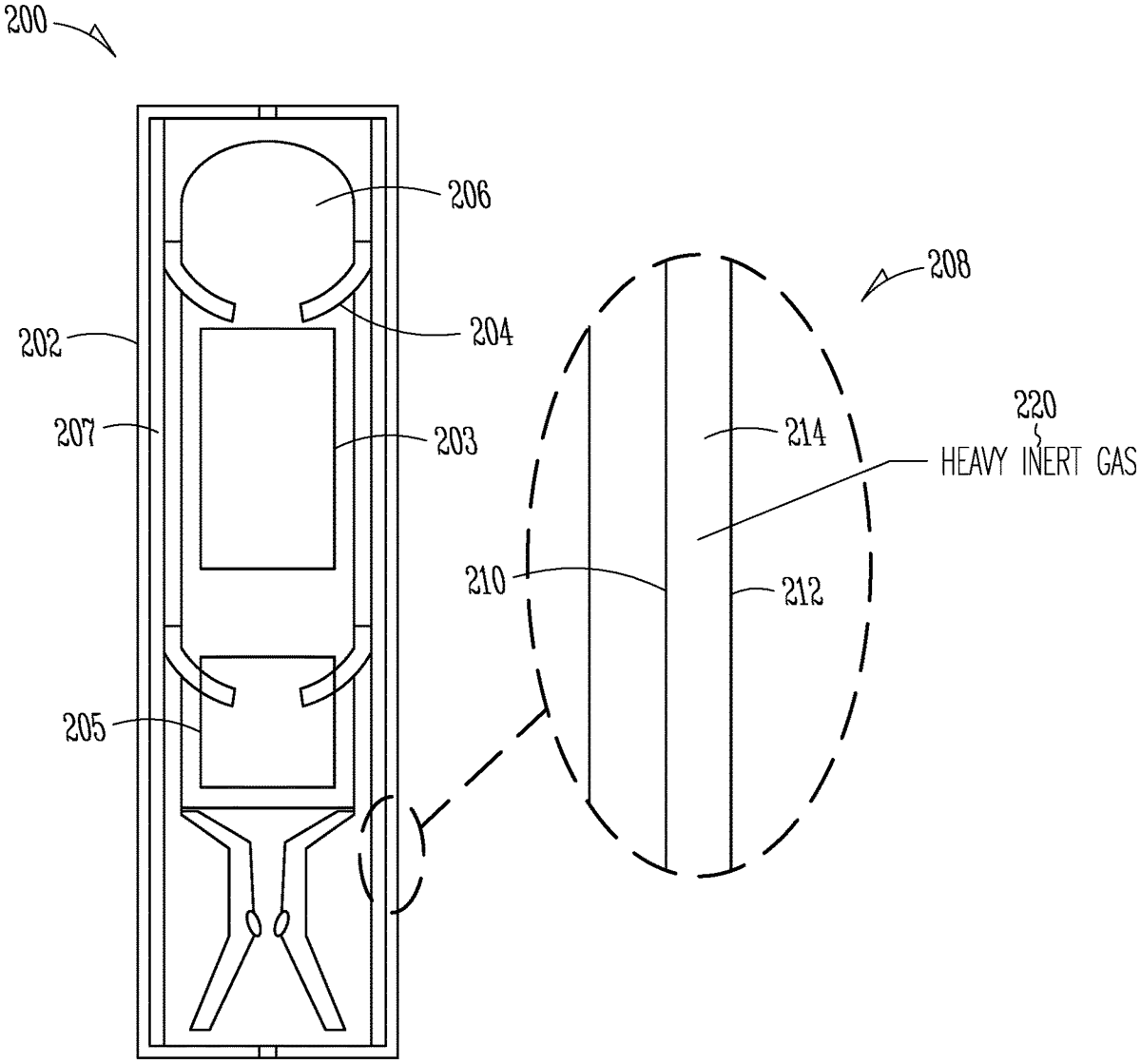
US12601571 - Electronic shooting training target

An electronic shooting training target has a target seat, and multiple target holes penetrate through the target seat. A base plate includes a plate body, multiple triggers and a controller. The base plate is mounted on a rear side of the target seat and positioned at a distance from the rear side. Each of the sensing assemblies has a hollow rod, an elastic part, an impact part, and a screw. The hollow rod is mounted through one of the target holes. The elastic part is sleeved on one end of the hollow rod. The impact part is mounted on the hollow rod. The screw is mounted through another end of the hollow rod and is fixed on the impact part.

training target electronic shooting
Apr 14, 2026

US12601572 - Perforating jet shaping systems and methods

The present disclosure relates to a shaped charge. The shaped charge includes an explosive component and a liner member coupled to the explosive component. The explosive component and the liner member emit a perforating jet based on ignition of the explosive component. The liner member has a planar symmetric portion that is planar symmetric along an axial length of the planar symmetric portion relative to planes perpendicular to a direction of the emitted perforating jet.

shapedcharge explosives military
Apr 14, 2026

US12601573 - Method and tool for producing a base piece of a multi-part cartridge case, base piece and cartridge case

A method for producing a base piece for receiving a primer for a multi-part cartridge case may include producing (e.g., by deforming) an extraction groove for engagement by a firearm ejector. The production of the extraction groove may be before a receptacle for a case jacket of the multi-part cartridge case for receiving a projectile is produced, such as by deforming. A tool arrangement for producing a base piece may be used to produce the base piece.

cartridge ammunition firearm
Apr 14, 2026

US12601574 - Foldable moveable member for an air vehicle with fold region having a plurality of holes

A foldable moveable member for an air vehicle. The moveable member includes a sheet. The sheet has a first portion, a second portion, and a fold region. The first portion is connected to the second portion via the fold region, and the fold region comprises a plurality of holes such that the stiffness of the fold region is lower than the first or second portion. The fold region, the first portion, and the second portion form a continuous surface.

Apr 14, 2026

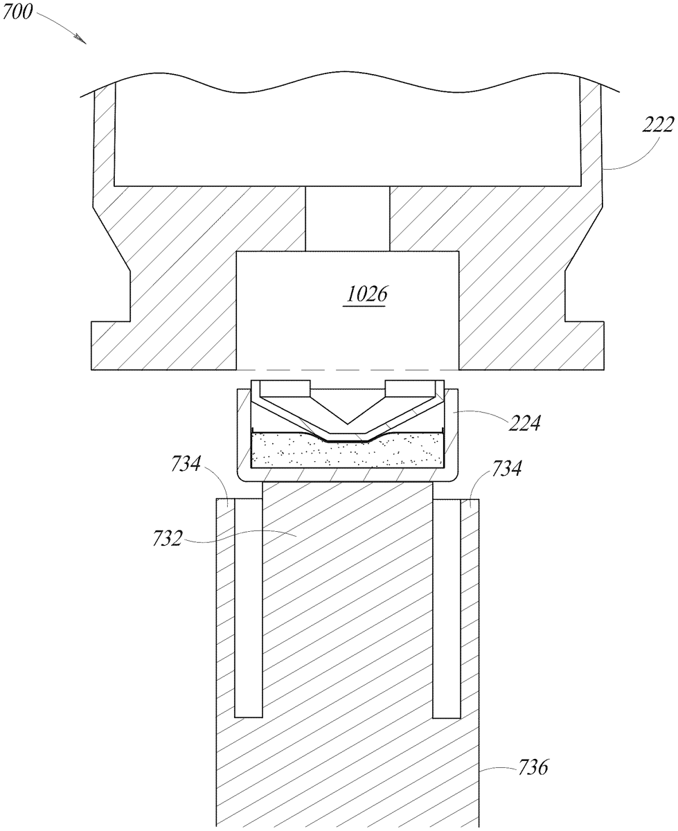
US12601575 - Range extension device

The present invention relates to a range extension device, particularly to a reversible range extension device, especially reversible base bleed device. There is provided a reversible range extension device, capable in use, of being reversibly engaged to a body of an artillery shell, said range extension device comprising at least one energetic material, and an igniter, wherein the range extension device comprises a first end with an aperture, and second closed end, wherein the range extension device, in use, is selectively arranged to be in an active orientation or inert orientation, wherein in the active orientation the range extension device is arranged such that the aperture faces rearwardly away from the shell to allow the range extension device to function, and in the inert orientation the range extension device is arranged such that the aperture faces inwardly towards the shell.

artillery range_extension military
Apr 14, 2026

US12601576 - Sinter bonded projectile

The invention of the present subject matter relates to a sinter bonded projectile comprising a core component and a copper component which has been sintered in such a manner to form a solid mass over the core. More particularly, the invention of the present subject matter provides a core component to which a copper component is melted at a temperature sufficient that it penetrates into the pores and geometry of the core component under compression due to thermal shrinkage, resulting in a tightly bonded solid mass containing no voids. The invention of the present subject matter also provides a process for manufacturing the projectile.

projectile ammunition sintered
Apr 14, 2026

US12601577 - Quick disconnect coupler for rocket motor

A system for coupling sections of a platform. In an example, the coupler system includes a cylindrical housing to be attached to a first section; a spin member within the housing configured to rotate about a longitudinal platform axis; a groove pattern etched into the spin member; a plunger, within the spin member, configured to move linearly along the longitudinal axis; a first spring configured to cause the linear plunger movement in response to acceleration of the platform; a guide pin attached to the plunger, extending radially outward toward the housing, configured to travel along the groove pattern with plunger movement; a ball coupler mechanism to provide mechanical attachment of the coupler system to a second section; and a second spring configured to rotate the spin member, such that movement of the plunger and rotation of the spinner cause the ball coupler mechanism to disengage from the second section.