Accessory

Patents tagged Accessory

May 19, 2026

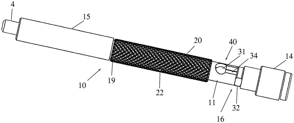
US12629732 - Firearm bore cleaner

A firearm bore cleaner for cleaning a bore of a firearm includes a cleaning segment and a pulling segment. The cleaning segment cleans the bore of the firearm when the cleaning segment is moved along the bore. The cleaning segment includes a tail end connector adjacent a tail end portion. The pulling segment is sized and shaped to be inserted into the bore. The pulling segment includes a head end connector adjacent the head end portion of the pulling segment. A tail end portion of the pulling segment is connected to a head end portion of the cleaning segment. The head end connector of the pulling segment and the tail end connector of the cleaning segment can be releasably connect to each other to couple the head end portion of the pulling segment and the tail end portion of the cleaning segment together in order to form a closed loop.

May 19, 2026

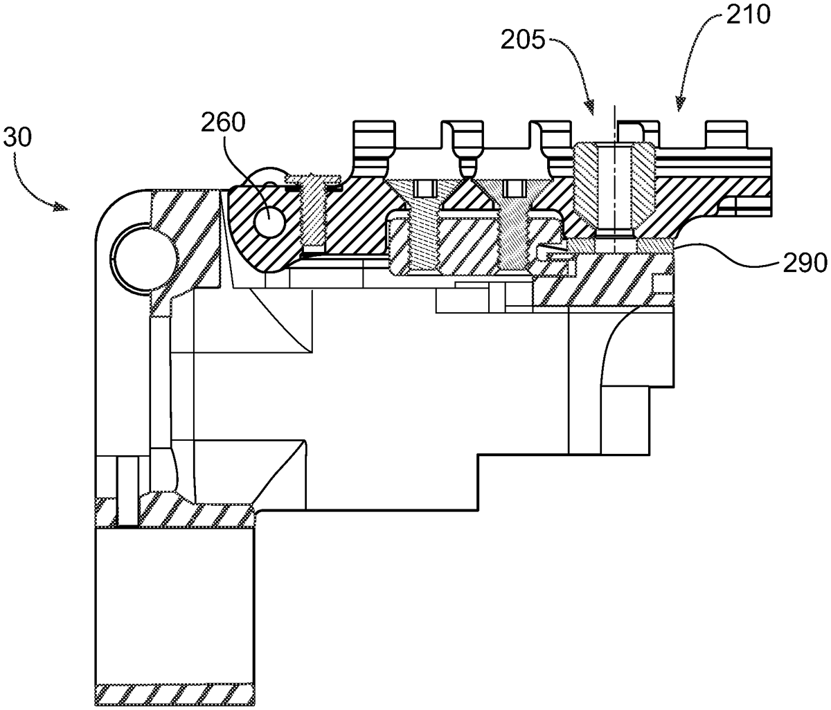
US12631411 - Pistol compensator components, systems, and methods

In a preferred embodiment, a pistol compensator system comprises a compensator, an elastomeric spacer, an assortment of variously sized shims, a spring guide rod, and a spring plug. The compensator of this system comprises a body, a barrel cavity, a threaded bore, an oval rod cavity, and a plug cavity. The spring plug of this system comprises a latch extension. The spring guide rod of this system comprises a muzzle end. When this preferred embodiment is installed on a pistol, if the pistol is in battery (slide closed) the latch extension is disposed in the plug cavity, and if the pistol is out of battery (slide back) the muzzle end of the guide rod is disposed in the rod cavity. In this preferred embodiment, the compensator is tensioned to the end of the barrel by the elastomeric spacer and a shim.

May 19, 2026

US12631417 - Firearm accessory mounts

A firearm accessory mounting device is disclosed, comprising a nut, a collar coupled to the nut, and a follower captured between the collar and within a cam track of the nut. When the nut is rotated relative to the collar, threaded engagement secures the nut to the collar. Once the threaded engagement causes a torque threshold to be reached, further rotation of the nut causes the follower to extend radially inward to create a compressive force on a muzzle device and quickly and stably attach the firearm accessory mounting device.

May 19, 2026

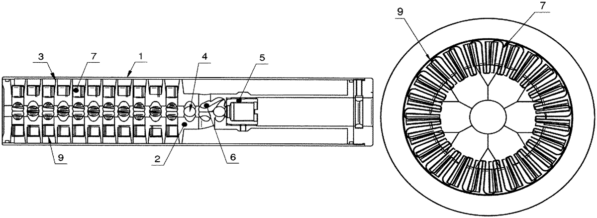
US12631422 - Magwell for use with firearms

The invention is related to a magwell ( 7 ) which provides for a more practical placement of the magazine into the magazine bearing and speeding of the magazine changing procedure. The magwell body ( 1 ) of the mentioned magwell ( 7 ) aims to be detachably attached to the grip secondary element ( 5 ) which defines the grip and which can be detachably attached to the grip primary element ( 4 ) that is part of the firearm grip.

May 19, 2026

US12631423 - Firearm stock

A firearm stock includes a comb and a storage cavity that includes an opening extending through at least a portion of the comb. A storage lid is configured to at least partially cover the opening, wherein the storage lid has an open position and a closed position. In some embodiments, a cheek riser is attached to the storage lid. Other firearm stocks and firearm stock accessories are disclosed.

May 19, 2026

US12631427 - Firearm foregrip with illuminator

A firearm accessory and associated components and methods. The firearm accessory can include a foregrip and/or an illuminator (e.g., light and/or laser). The firearm accessory can include a support body selectively operatively connectable to a support body receiver in a first orientation and in a second orientation. The support body can include an actuator configured to change an operational state of the illuminator and/or a port configured to connect a remote actuator to the support body.

May 12, 2026

US12624577 - Lockable gun mount

A lockable gun mount features a stock receiver, a trigger block, and a barrel lock. The stock receiver includes a base, sidewalls, a receiving aperture, and one or more fasteners. The trigger block includes a trigger rod and a wall member. The barrel lock includes a wall member, a hinged door coupled to the wall member, and a locking mechanism configured to secure the hinged door to the wall member. In some examples, the barrel lock further includes a biometric sensor. A cumulative force between the stock receiver, the trigger receiver, and the barrel lock prevents the gun from being removed from the lockable gun mount when secured to a wall or flat surface.

May 12, 2026

US12624917 - Hybrid stabilizer rod

A hybrid stabilizer rod preferably includes a stabilizer tube, a first end cap and a second end cap. The stabilizer tube preferably includes a base tube, a first carbon fiber sheet and a second carbon fiber sheet. The first carbon fiber sheet includes a plurality of parallel fibers. The second carbon fiber sheet includes a plurality of first and second fibers. The first carbon fiber sheet is wrapped around the base tube. The second carbon fiber sheet is wrapped around the first carbon fiber sheet. The first and second end caps preferably include a thin head formed on a first end of a cap body and a tapered bore formed in a second end of the cap body. A threaded tap is formed in the first end of the cap body. An outer perimeter of cap body is sized to be received by an inner perimeter of the base tube.

May 12, 2026

US12624919 - Front-opening handgun holster

A handgun holster is provided herein which permits the removal of the handgun through the front of the holster as opposed to the traditional vertical removal of the handgun from the holster. The handgun holster comprises a housing having an internal cavity. The housing is defined by two parallel sidewalls which are a fixed distance apart, a fixed rear spacer wall and a front hinged spacer wall. The handgun can be removed from the holster when a person is in a seated position and/or in a more natural motion. This allows the handgun to be more readily produced for use in situations where a user may be in a vehicle, a tight space, or when the holster is mounted horizontally. The hinge is kept closed with sufficient pressure being provided by torsion springs in a hinge mechanism. However, the front hinged spacer wall can be moved to an open position by lifting the gun into a frontal position.

May 12, 2026

US12624922 - LED emergent light adjusting mechanism and inner-red-dot aiming device therefor

An LED emergent light adjusting mechanism and an inner-red-dot aiming device therefor, wherein the LED emergent light adjusting mechanism comprises a vertical adjusting assembly and a horizontal adjusting assembly; the vertical adjusting assembly comprises an up-and-down adjusting sliding block, a vertical adjustment screw and two vertical adjustment spring sets arranged on two sides of the vertical adjustment screw; a nut member and a spring guiding and limiting column set are fixed at the bottom of a rear end of the up-and-down adjusting sliding block; the horizontal adjusting assembly comprises a left-and-right sliding block, a return spring, a vertical spring ejector pin assembly, a horizontal spring ejector pin assembly, a horizontal adjusting screw coupled with the other end of the left-and-right sliding block by means of a square nut, and an LED chip assembly arranged on a front end surface of the left-and-right sliding block.

May 12, 2026

US12624925 - Hinged scope ring

A scope ring for attaching a rifle scope to a mounting rail of an armament includes a lower component that is attached onto the mounting rail and an upper component that is fastened to the lower component to define and extend along an outer perimeter of a scope ring through-hole that receives and holds the scope. The upper component member extends at least one hundred eighty (180) degrees along the perimeter but is constructed to enable a scope to be received into the scope ring or be removed from the scope ring if the scope ring extends more than one hundred eighty (180) degrees to present a slimmer profile. The upper component can be attached to different compatible lower components that enable the scope ring to define different scope ring heights.

May 5, 2026

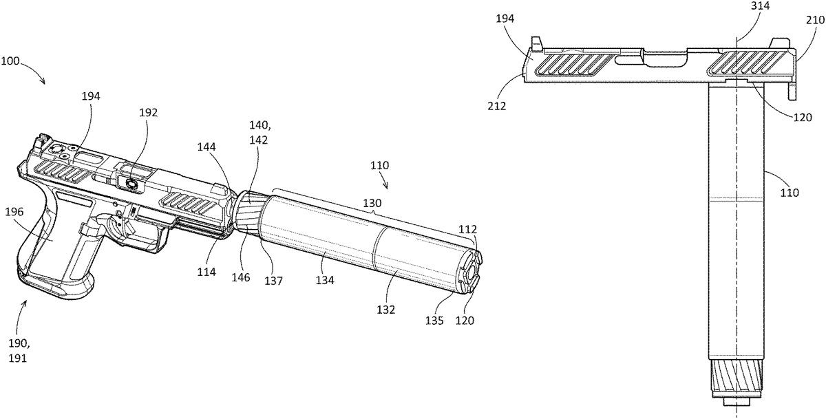
US12618631 - Suppressor

A suppressor assembly is disclosed. The suppressor can comprise an outer tube defining a barrel axis, a first endcap configured to couple to a barrel of a firearm at a first end of the outer tube, and a spacer assembly in the outer tube. The spacer assembly can be positioned and/or captured between the first endcap and an exit side of the outer tube. The spacer assembly can comprise a plurality of spacers comprising a plurality of small and large diameter baffles oriented in different desirable positions within the spacer assembly. The baffles and spacers can be constructed from different materials so the weight of the baffles are greater than the weight of the spacers.

May 5, 2026

US12618638 - Firearm sling connector with a swivel assembly

A firearm accessory connector includes a mount assembly to connect the firearm accessory connector to a firearm; a swivel assembly coupled to the mount assembly and providing for rotation around the mount assembly, the swivel assembly having a swivel sleeve coupled to the mount assembly and to rotate about the mount assembly; and a flexible member coupled to the swivel sleeve and extending from the swivel sleeve, the flexible member to attach to an accessory such that the accessory is coupled to the firearm.

May 5, 2026

US12618640 - Firearms accessory device

A firearm accessory device removably attachable to a firearm. The accessary device including a finger stop assembly for coupling to a handguard, forestock, barrel or accessory rail of a firearm. The finger stop device may include an illumination device and a power source housed within the device. In embodiments, the device may further include one or more activation devices operably and electrically connected to the illumination device and positioned at an access opening forwardly oriented in a body portion of the device.

May 5, 2026

US12618642 - Universal holster

A universal holster is disclosed, including a sleeve body and a first adjustable component. The sleeve body has a chamber, and the first adjustable component includes a first bracket, a connecting rod, a movable part and an adjustable part. The first bracket is rotationally connected with respect to the sleeve body and one end of the connecting rod is rotationally connected to the first bracket, a rotational connection point between the connecting rod and the first bracket is eccentric to a rotational connection point between the first bracket and the sleeve body, another end of the connecting rod is rotationally connected to the movable part, the adjustable part is connected with the movable part, and the adjustable part is used to drive the movable part for movement. The universal holster can be suitable to different models of pistols.

May 5, 2026

US12618645 - Scope protector for weapon scope

A scope protector for a weapon scope includes a scope adapter defining a cylindrical bore, the scope adapter having a first end that is configured to connect to an end of the weapon scope to align the cylindrical bore of the scope adapter with a lens of the weapon scope. The scope protector may further include a lens cover defining a cylindrical bore, the lens cover being configured to connect to a second end of the scope adapter opposite the first end (and/or to an intervening diffuser adapter housing a diffuser such as a honeycomb diffuser) to align the cylindrical bore of the lens cover with the lens of the weapon scope. The scope protector may further include one or more transparent polymer films housed within the lens cover so as to cover the cylindrical bore thereof.

Apr 28, 2026

US12613077 - Barrel shroud for tilting barrel

A weapon accessory includes a barrel shroud that has left and right side walls from which rearwardly extends an attachment member. An upper member extends between upper portions of the left and right side walls. The upper member does not extend to a distal end of the barrel shroud, and instead a distal opening is left between the upper portions of the left and right side walls. This distal opening accommodates barrel tilt of a barrel extension.

Apr 21, 2026

US12607429 - Bow attachment weight rest

A weight support apparatus and method of use for attachment to an archery bow. The apparatus includes a base having two wings that extend laterally out to support the weight of a bow. Arms are positioned perpendicularly on the base forming a gap between opposing arms to receive a portion of a bow. One or more arms are provided to mount the apparatus on a bow by introducing a portion of the bow between the arms. A through bolt is also provided that secures the apparatus to the bow by tightening the arms against the bow.

Apr 21, 2026

US12607430 - Pistol stabilizer platform

A pistol stabilizer platform includes a platform member including multiple mounting provisions, a forward handgun clasping assembly secured to the platform member at a first one of the multiple mounting provisions, and a rear grip abutment member secured to the platform member at a second one of the multiple mounting provisions. The platform member is located only on one side of the handgun placed in the pistol stabilizer platform.

Apr 14, 2026

US12601555 - Retaining magazine in magazine well

A magazine retention device includes a housing having a front surface and a back surface, a firearm attachment member for securing the magazine retention device to a portion of a firearm, a movable stop lever which includes a tab extending from a base member, the base member including an abutment face, and a pushing member which is urged against the abutment face by a biasing device. The movable stop lever has a locked position, in which the pushing member presses against the abutment face, which causes a portion of the movable stop lever to be pressed against a portion of the housing, such that the movable stop lever is sandwiched between the pushing member and the housing.

Apr 14, 2026

US12601567 - Viewing optic with impact absorption material

A viewing optic has a base and a housing. The housing has a front side, a rear side, a left side, a right side and a top side. The front side, rear side, left side and right side extend upwardly from the base. The top side extends between the upper edges of the front side, rear side, left side and right side. A load absorbing/dispersing component is on at least a portion of the top side. The load absorbing/dispersing component comprises a load absorbing/dispersing material.

Mar 24, 2026

US12584710 - Adjustable, interchangeable holster

A passive retention holster including a holster body and at least one compatible holster accessory, wherein the holster body includes a cavity, configured to realisably receive and retain a preselected handgun frictionally therein. The holster body is provided with a first adjustable attachment formation, located on one side of the holster body, wherein the first attachment formation is dimensioned and configured to render the body operatively securable, adjustably, to the compatible holster accessory; and a second adjustable attachment formation, located on an opposing side of the holster body, relative to the first attachment formation, wherein the second attachment formation is dimensioned and configured to render the body operatively securable, adjustably, to the compatible holster accessory. The compatible holster accessory is provided with a corresponding attachment formation, dimensioned and configured to render the compatible holster accessory operatively securable to the opposing sides of the holster body.

Mar 24, 2026

US12584711 - Universal mount systems and methods for tactical accessories

A universal mount system for mounting an accessory to a base in various orientations is provided. The present disclosure provides a universal mount capable of being coupled to various bases. An accessory mount is then coupled to the universal mount in one of a number of different orientations. An accessory, such as a holster, is then coupled to the accessory mount.

Mar 24, 2026

US12584713 - Adjustable aperture axis peep sight device

An adjustable aperture axis peep sight device is disclosed with an outer ring having a first axis, and an inner body member having a second axis. The first axis of the outer ring forms a sight angle with the second axis of the inner body member. A first partially spherical surface is formed on the outer ring. A second partially spherical surface is formed on the inner body member. The first partially spherical surface movably mates with the second partially spherical surface. The sight angle is adjustable by moving the inner body member relative to the outer ring.

Mar 10, 2026

US12571605 - Firearm shooting rest

A weapon support and associated components and methods. The weapon support includes a frame including one or more legs, and the weapon support includes a weapon support head supported by the frame. The weapon support head includes a cradle including first and second jaws configured to selectively clamp the weapon. The cradle can be pivoted relative to the frame to adjust an aim of the weapon relative to the frame.

Mar 10, 2026

US12571609 - Quick release holster

A holster assembly includes a holster having an interior shaped to receive a handgun, and an entrance. An ejection port restraint pivotally connected to the holster includes a latch and is biased toward an obstruction position for engaging the latch with the ejection port of the handgun. A release device mounted on the holster body is configured to actuate both the ejection port restraint and the hood restraint, each toward the respective non-obstruction position thereof, in response to a single movement by a user to allow the handgun to be withdrawn from the holster.

Mar 10, 2026

US12571611 - Method and system for rail grabber with attenuated mechanical response

An attenuated rail grabber includes a rigid support member operable to be mounted on a weapon and support an optical device including a first fastener receiver and a second fastener receiver. The attenuated rail grabber includes a fastening mechanism coupled to the rigid support member and operable to fasten the rigid support member to the weapon. The attenuated rail grabber includes a first spring feature coupled to the rigid support member. The first spring feature includes a fore mounting tab having a fore fastener aperture. The attenuated rail grabber also includes a second spring feature coupled to the rigid support member. The second spring feature includes an aft mounting tab having an aft fastener aperture. The fore fastener aperture is operable to receive a first fastener joined to the first fastener receiver and the aft fastener aperture is operable to receive a second fastener joined to the second fastener receiver.

Feb 24, 2026

US12560397 - Rifle bipod assembly

A bipod assembly includes a first yoke configured to be attached to a firearm. A second yoke is pivotably attached to the first yoke. Right and left legs are pivotably connected to the second yoke and movable between an open position and a closed position. The bipod assembly is movable between a stowed and locked position, a stowed and unlocked position, a deployed and unlocked position, and a deployed and locked position. In a locked position, part of each leg engages the first yoke to maintain the leg's open or closed position as well as the leg's deployed or stowed position. The bipod assembly enables one-hand deployment from a stowed state.

Feb 24, 2026

US12560398 - Bipod

A system for a bipod. The system includes a coupler to couple at least one leg to a firearm. The leg includes one flexible joint which allows the leg to flex about a flexible joint. The system allows conversion of the flexible leg from a flexible position to a rigid position whereby flexing about the flexible joint is prevented. A lock is manipulated to convert the leg from rigid to flexible.

Feb 24, 2026

US12560399 - Bipod

Adjustable leg fastening arrangement ( 200 ) for a bipod ( 1 ) for a rifle ( 2 ), the adjustable leg fastening arrangement comprising a first pivoting part ( 210 ), arranged to be fastened to a leg part ( 100 ); a second pivoting part ( 220 ), arranged to be fastened to a bipod main part ( 300 ) or to the rifle, the second pivoting part being pivotable in relation to the first pivoting part. The invention is characterised in that the adjustable leg fastening arrangement further comprises a conical recess ( 211 ) and a conical part ( 221 ), an outer surface of the conical part being arranged to engage in a friction engagement with an inner surface of said conical recess, the conical recess and the conical part each being arranged to be rotationally-fixedly attached to a respective different one of said first pivoting part and said second pivoting part; and a screw engagement means ( 201 ) arranged to press the conical part axially into and against the conical recess, thereby increasing a friction of said friction engagement. The invention also relates to a method.

Feb 24, 2026

US12560403 - Protector for hand of firearm user and method for use thereof

A gun/hand muff for protecting portions of a gun user's hand, wrist, and/or forearm from the elements is provided. The gun/hand muff defines an interior cavity for ultimately receiving portions of a gun and portions of at least a gun user's hand and possibly portions of the gun user's wrist and forearm therein. The interior cavity is used to protect portions of the gun and the gun user's hand (and possibly portions of the gun user's wrist and forearm) from the elements, while simultaneously affording contact of the gun user's hand with the portions of the gun received in the interior cavity.

Feb 24, 2026

US12560405 - Multi-directional adjustable holster hanger

The present invention is directed to various embodiments of a multi-directional adjustable holster hanger device configured to be coupled with a holster that can be independently adjusted in a plurality of separate spatial orientations relative to the body of a user to provide a personalized holster configuration to accommodate a rapid and consistent draw of a holstered firearm.

Feb 24, 2026

US12560408 - Red dot sight charging cover, rechargeable red dot sight and rechargeable sight assembly

A red dot sight charging cover, a rechargeable red dot sight, and a rechargeable sight assembly are provided. The red dot sight charging cover includes a housing and a charging cover circuit board, a charging cover battery, and a charging cover conductive assembly that are provided in the housing. A shape of the housing is adapted to a rechargeable red dot sight, and the housing detachably covers the rechargeable red dot sight. When the housing covers the rechargeable red dot sight, the charging cover conductive assembly is electrically connected to the rechargeable red dot sight. The charging cover circuit board is electrically connected to the charging cover battery and the charging cover conductive assembly, respectively, and the charging cover circuit board is configured to control the charging cover battery to supply power to the rechargeable red dot sight through the charging cover conductive assembly.

Feb 24, 2026

US12560411 - Mount assembly for firearm

Some embodiments include an optic guard for a firearm, the optic guard including: a frame; and a bracket having a side to attach to a firearm assembly, the bracket integrally formed with the frame or fixably attached to the frame; wherein the frame is arranged to cover part of a front of an optic housing when the side of the bracket is attached to the firearm assembly. Other embodiments may be disclosed and/or claimed.

Feb 24, 2026

US12560412 - Modular accessory system

A protective mantel and accessory hub includes a primary yoke configured to be worn underneath an armor carrier. Sliding attachment points removably connect the armor carrier to the upper protector to allow for mobility and articulation. Accessories such as a throat guard and deltoid guards are removably attached to the mantel. Shoulder suspension members are inserted into the primary yoke to support and distribute the weight of the armor carrier. The armor carrier includes a magnetically attachable front accessory panel and zippered pouches on the front and back to receive and retain body armor plates.

Feb 17, 2026

US12553686 - Cover assembly for weapon handguard

A cover assembly for a weapon handguard can include a cover panel and end connectors configured to mount within an elongated slot, such as an M-LOKĀ® style or other slot. The cover panel can include opposing interior rails that engage corresponding rails on the end connectors. Each end connector includes a capture flange that extends beyond the slot to engage the interior of the handguard, securing the cover panel externally without extending into the slot. Ramps on the cover panel and end connectors can urge the connectors apart along the slot, achieving a fixed spacing and securement. Cable slots can be defined between components to route cables under the cover panel and above the handguard. The assembly can enable a secure, tool-free attachment of a cover panel over a weapon handguard slot, allowing for cable management and protective coverage without permanent modification. A related method of use is provided.

Feb 10, 2026

US12546552 - Quick-connect muzzle accessory

A muzzle accessory for coupling to a firearm barrel, the firearm barrel including a chamber for receiving a firearm round, a firing tube extending distally from the chamber to a distal end of the firearm barrel, the muzzle accessory can comprise a main body having a proximal end, a distal end, a through-channel extending longitudinally between the proximal end and the distal end, and a keyed receptacle within the through-channel; and a lock coupled to the main body, the lock being positionable into an unlocked position to permit insertion of the distal end of the firearm barrel within the through-channel of the main body, the lock being further positionable into a locked position to prevent removal of the distal end of the firearm barrel from the main body after the firearm barrel is inserted into the through-channel.

Feb 10, 2026

US12546554 - Power and data interface for weapon accessory mounting rail

A system and method for connecting a weapon-mounted accessory to a computer comprises a first data and power port configured to provide data and power transmission between the computer and the weapon-mounted accessory. The first data and power port is configured to detachably couple to a slot in a slot rail weapon interface. In a further aspect, one or more additional data and power ports are capable of providing data and power transmission between the computer and one or more additional weapon-mounted accessories. Each of the one or more additional data and power ports is configured to detachably couple to a slot in a slot rail weapon interface. The first data and power port and the one or more additional data and power ports are configured to be operably connected to each other to form a serial chain in a custom configuration of data and power ports.

Feb 10, 2026

US12546561 - Adjustable comb riser for firearm and non-firearm stock and associated methods

An adjustable comb riser has an elongated stock profile that protrudes above the factory firearm or non-firearm stock, a rear face that clamps between the factory stock backplate and factory recoil pad, using the recoil pad screw holes in the stock backplate without modification. The rear face includes slots that will allow the riser to adjust vertically up and down in order to give the shooter a proper cheek rest on the firearm or non-firearm.

Feb 10, 2026

US12546569 - Low profile rail mount for firearm

A low profile rail mounting system, comprises an adaptor for mounting an accessory on a firearm rail. The adaptor can include flexible material such that the adaptor can be snapped into position to mount the adaptor on the firearm rail. The adaptor includes opposite grooves that receive the firearm rail to maintain the adaptor on the rail.

Feb 10, 2026

US12546570 - Firearm optics mount

A firearm optics mount is configured to position an optic device on a firearm in a position offset from vertical alignment above the barrel when the firearm is in the vertical position. The canted mount includes a base, a support, and an optic mount at the end of the support. The support is configured to offset the optic between 5 and 30 degrees from vertical alignment with the barrel when the firearm is vertically positioned. The support may be configured to offset the optic between 12 and 22 degrees. The base of the mount may include a rear sight. The optic mounted to the firearm via the canted mount may be a primary or only optic of the firearm. The mount may vertically align a bullet drop feature of an optic with the centerline of the barrel when the firearm is canted to position the optic vertically above the barrel.

Jan 27, 2026

US12535285 - End cap muzzle control

A firearm accessory and an end cap useful with the firearm assembly. The firearm assembly handles exhaust gas expelled with a round fired from a firearm and includes a fitting, a sleeve, a fluid pressure dissipation structure, and an end cap assembly located at a distal end of the fluid dissipation structure. The sleeve defines an internal volume that at least partially receives the fluid dissipation structure. The end cap assembly and the fluid dissipation structure at least partially define one or more distal chambers in communication with the internal volume. The end cap assembly defines an angled port.

Jan 27, 2026

US12535290 - Holster facilitating master grip

A polymer holster has an index finger slot on a distal wall portion of the holster for allowing a user to grip a handgun therein with a master grip before withdrawing the handgun therefrom. A thumb actuated release may be positioned on a proximal wall portion of the holster.

Jan 27, 2026

US12535291 - Trigger shroud assembly, small arms apparatus, and method

A trigger shroud assembly ( 14 ) for a small arms weapon ( 12 ) is disclosed. The trigger shroud assembly ( 14 ) may include a rail mount ( 22 ), an accessory body ( 28 ) slidably connected to the rail mount, a spring guide ( 24 ) disposed between the rail mount and the accessory body, a resilient member ( 26 ) arranged about the spring guide, and a starboard side trigger shroud ( 32 ) and a port side trigger shroud ( 34 ) connected to the accessory body. A belt clip ( 36 ) may be disposed on one of the starboard side trigger shroud or the port side trigger shroud. The trigger shroud assembly ( 14 ) may include a closed configuration ( 17 ) and an open configuration ( 27 ). The trigger shroud assembly ( 14 ) may include a tactical accessory ( 47 ) such as a flashlight. The trigger shroud assembly ( 14 ) may be secured to a handgun for inside the waistband carry and to deter inadvertent handgun discharge.

Jan 27, 2026

US12535297 - Protective cover for an optical sight

A protective cover for an optical sight of a firearm, with at least one transparent end wall section for protecting either a proximal opening or a distal opening of the optical sight is disclosed. In order to provide a backup sight, it is proposed for the transparent end wall section to have a permanently displayed optical reticle or a part of this reticle.

Jan 27, 2026

US12535298 - Weapon accessory mount

A weapon accessory mount for removably mounting an accessory on a weapon. The weapon accessory mount includes an accessory rail supported by a base with a weapon attachment interface that engages the weapon. The weapon attachment interface includes an alignment pin that interfaces a portion of the weapon and a retaining pin that couples to an additional portion of the weapon. The accessory rail utilizes mounting grooves to interchangeably couple weapon accessories to the weapon accessory mount. Furthermore, accessory interference locators are located within some of the mounting grooves to define weapon-accessory-specific locations along the accessory rail, in which a weapon accessory should not be mounted to. Additionally, the weapon accessory mount is configured for mounting non-boresight aligned optics to a weapon and locating the non-boresight aligned optic in relation to the weapon to use in tracking a target.

Jan 20, 2026

US12529536 - Universal magazine loading and unloading accessory

An accessory facilitates loading and unloading of cartridges into a firearm magazine and includes a main body having a top end with a top opening, a bottom end with a bottom opening, a wall portions extending between the top and bottom ends and defining therebetween a body cavity in communication with the top and lower openings and also defining a front opening in communication with the body cavity. A first portion of the body cavity can receive a cartridge from the front opening and a second portion of the body cavity can receive an open end of a portion of a firearm magazine from the bottom opening. A thruster is movably coupled to the main body and mounted to the main body above the top end, and includes a plunger which is movable into and out of the first portion of the body cavity through the top opening.

Jan 13, 2026

US12523436 - Magazine extension

A magazine extension is provided. The magazine extension includes a baseplate structured to receive a lower open end of a magazine, the baseplate having a laterally extending through-bore; a side bracket structured to couple to the baseplate for securing the magazine, the side bracket having a laterally extending through-bore; and a locking pin insertable within both the through-bore of the baseplate and the through-bore of the side bracket to lock the side bracket to the baseplate.

Jan 13, 2026

US12523445 - Reflective sight for a firearm

A gun sight includes a rear sight including a plurality of light sources with each of at least two light sources of the plurality of light sources emitting a different color of light than the other of the at least two light sources; and a front sight including a reflective surface that is directly opposing the plurality of light sources, wherein the rear sight and the front sight are configured such that light emitted from the plurality of light sources is reflected by the reflective surface toward the rear sight.

Jan 6, 2026

US12516903 - Bipod

Interface connection adapter arrangement ( 300 ) for a bipod ( 1 ) for a rifle ( 2 ), wherein said arrangement further comprises a first part ( 310 ) and a second part ( 320 ), being trans-latable in relation to each other, the arrangement comprising a rifle fastener ( 331 ), in turn comprising cooperating fastener means both on said first part and on said second part; said rifle fastener being arranged to be activated for fastening the arrangement to the rifle by translating said first part in relation to said second part into a gripping position; and wherein the arrangement is arranged to be connected to two leg parts. The invention is characterised in that the arrangement further comprises a spring means ( 350 ), arranged to press the first part and the second part together; and a freedom of movement adjustment means ( 360 ), arranged to adjustably limit a freedom of translational movement of said first part in relation to said second part away from each other. The invention also relates to a method.

Jan 6, 2026

US12516910 - Firearm sight mounting plate assembly

A firearm sight mounting plate assembly for a firearm is provided. The firearm sight mounting plate assembly includes a mounting plate. The mounting plate having a first area supporting an iron sight, and the mounting plate having a second area supporting an optic. The first area is different from the second area.

Dec 30, 2025

US12510327 - Equipment rail attachment

The invention discloses a hand guard connecting structure of a firearm, which has the advantages of simple structure, convenience in processing, quickness in disassembly and assembly, firmness in connection, reliability in positioning and good part assembly consistency. The utility model provides a hand protector section of thick bamboo connection structure of firearms, includes hand protector section of thick bamboo, lower case body, the polygon is personally submitted to hand protector section of thick bamboo transversal, is equipped with the rectangular channel on each face of hand protector section of thick bamboo respectively, still includes the connecting plate, the connecting plate is located the hand protector section of thick bamboo, and the lower surface of connecting plate is equipped with the boss, and the rectangular channel on boss and the hand protector section of thick bamboo bottom surface corresponds, and each boss joint is fixed in the rectangular channel that corresponds, is equipped with normal direction last screw hole on each boss respectively, it is equipped with down the screw hole to correspond on the case body down, and lower case body passes through screw, screw hole fixed connection with each boss, forms the fixed connection of hand protector section of thick bamboo, lower case body.

Dec 23, 2025

US12504248 - Insulating quick interfacing firearm handguard accessory with elongated aperture

An insulated handguard rail panel insert with an elongated aperture that extends through the entirety of the component allowing for the passage of any fluid media past a barrel, gas-system, or any other internal thermally conductive parts of a firearm. The rail panel is designed to be placed within an attachment section of a firearm handguard by firmly pressing it down, causing the engagement fins to contact the interior surface of the handguard. Once installed, the insert acts as a thermally insulating barrier between the thermally conductive metal handguard and the user. It securely attaches to a firearm without the need for any additional manufacturing processes such as the addition of fasteners, cams, bolts, or other hardware in which the method of retention does not impede or obstruct the flow of fluid media through the elongated aperture.

Dec 23, 2025

US12504255 - Firearm accessory coupling system

An interchangeable firearm accessory coupling system and method of using. The system comprises an elongated connecting member having a first portion with a recess cut therein, a sleeve in translational engagement with the connecting member, and a firearm bore accessory component removably receivable within the connecting member recess. The sleeve is translatable between an engaged position wherein the sleeve encloses the recess and a disengaged position wherein the sleeve moves to a second portion of the elongated connecting member to expose the recess, such that the firearm bore accessory component may be received or removed from the recess.

Dec 23, 2025

US12504257 - Sighting system for a firearm

A sighting device for use with a digital display device and a firearm. The sighting device includes a mounting base adapted for attaching to the firearm. The sighting device further includes a camera disposed on the mounting base to capture video in a field of view, where the camera is capable of transmitting the captured video to the display device. The sighting device further includes a display mount disposed on the mounting base, where the display mount is capable of receiving and securing the digital display device.

Dec 9, 2025

US12492880 - Accessory mount

Disclosed is an accessory mount configured for attachment to a rail interface system, such as the MIL-STD 1913 Picatinny rail. In particular, the accessory mount is a multi-position sliding mount that can be used to attach an accessory, such as a bipod or a tripod, to a handguard equipped with a compatible rail interface system. The accessory mount includes a spring-loaded push-button recoil lug that allows it to be quickly repositioned on a rail interface system. The accessory mount also includes an adjustment knob configured to facilitate attachment and removal without the need to slide the accessory mount on or off the end of the rail interface system. Additionally, the adjustment knob is configured to set sliding tension for the accessory mount and, if desired, to fix the accessory mount in position on the rail interface system.

Dec 9, 2025

US12492883 - Holster

A holster for carrying a handgun of the type having a front section including a muzzle, a middle section including a trigger guard, and a back section including a grip, includes a holster upper section with walls configured to substantially enclose the middle section of a handgun when the handgun is carried in the holster. The holster also includes a generally open holster web portion that extends forward from the holster upper section and that defines a window through which is visible a substantial portion of the front section of a handgun when the handgun is carried in the holster.

Dec 9, 2025

US12492884 - Accessory mount system

An accessory mount system for connection to a rear sight block (RSB) of a Kalashnikov pattern firearm includes a locking insert that has a projection which extends in a first direction. The projection is adapted to be received within a first recess of the RSB for connection thereto. An adapter body is connected to the locking insert and has a projection that extends in a second direction opposite the first direction. The projection of the adapter body is adapted to be received within a second recess of the RSB for connection thereto. A mount body is connected to the adapter body and has an accessory interface which is adapted to connect to an accessory. An adapter body is secured with a push-pivot pin securely wedging the projection of the adapter against an internal wall of the RSB.

Dec 2, 2025

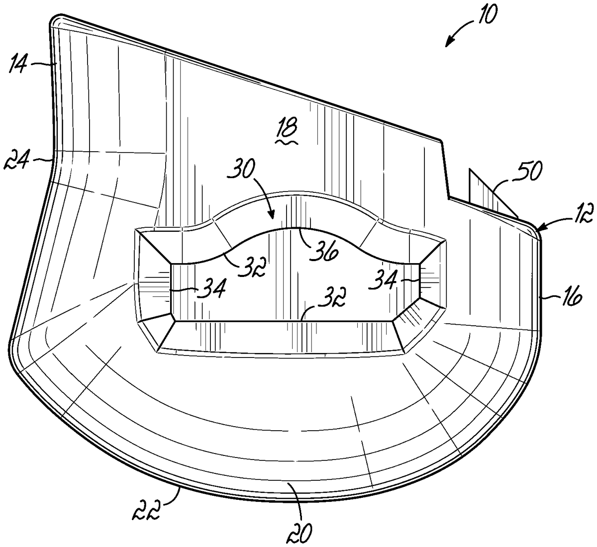
US12487041 - Magazine base pad

A firearm magazine base pad comprises a base pad body adapted to be removably secured to a lower end of a magazine body, the base pad body including a front portion, a rear portion, a pair of opposed side portions, and a lower portion. The lower portion of the base pad body, when viewed in a cross-sectional plane parallel to and medially of the opposed side portions and in a cross-sectional plane perpendicular to the opposed side portions and medially of the front and rear portions, is convex. The front portion of the base pad body, when viewed in a cross-sectional plane parallel to and medially of the opposed side portions, is concave.