Blowback

Patents tagged Blowback

May 12, 2026

US12624910 - Reduced weapon system blowback

A reloading firearm featuring a mechanism to reduce the blowback of toxic propellant gasses towards the warfighter. The reloading assembly acts in plural segments to increase the firing chamber-closed dwell time, while limiting adverse impact to the overall nominal rate of fire. Greater dwell time corresponds with reduced exposure of the warfighter to propellant gasses. Moreover, increasing the dwell time without otherwise altering the firing cycle has the additional effect of delaying the breech opening after the cartridge is fired. This delay in breech opening permits gas pressure at the muzzle, which may be elevated and/or constrained by flash and/or sound suppression, to dissipate before the breech is opened. Accordingly, when the breech opens later in the firing cycle, there is a reduced pressure gradient across the combination of barrel and firing chamber, which reduces a driving force of propellant gasses towards the warfighter via the open breech.

Jan 20, 2026

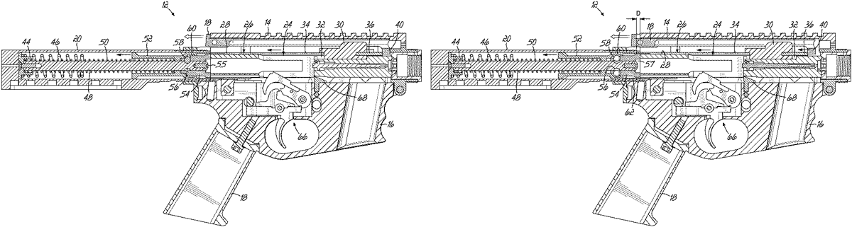
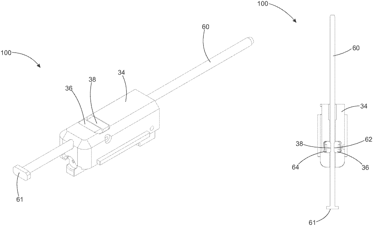
US12529533 - System for delayed blow-back action firearm

Provided is a blow-back bolt and recoil spring/buffer system for an autoloading firearm action. The blow-back bolt includes a bolt body and an actuator that is longitudinally movable relative to the bolt body to a limited extent by manual cycling. The recoil spring/buffer system has a longitudinal guide rod with at least one recess, a release component and a forward abutment slidably arranged together on the guide rod, a recoil spring is configured to bias the release component forwardly, and at least one roller body is arranged between the release component and the forward abutment. When the roller body is engaged in the recess, the release component and forward abutment are longitudinally slidably detained relative to the guide rod. Rearward movement of the actuator by manual cycling engages and displaces the release component such that the roller disengages from the guide rod recess to allow undetained rearward sliding movement against the recoil spring.

Dec 9, 2025

US12492873 - Delayed blowback system for a firearm

Apparatuses, systems, and methods are disclosed for delayed blowback mechanisms for use in or with firearms. The delayed blowback mechanism includes a housing having an internal chamber, where the housing comprises a cam pathway. The delayed blowback mechanism also includes a pivoting latch disposed at least partially within the internal chamber, where the pivoting latch is movable, with respect to the housing, along the cam pathway between a first position and a second position.

Jul 8, 2025

US12352517 - Detent delayed blowback system and methods

A delayed blowback system for a firearm is provided. The system includes a bolt with two detent members operatively coupled within the bolt, each detent member comprising a detent. The system further includes a recoil spring guide rod having two matching recesses on opposing sides of the recoil spring guide rod, wherein the bolt and the two detent members are coupled to and slidable along the recoil spring guide rod between a firing position and a recoil position. The firing position includes the detents resting in the matching recesses on the recoil spring guide rod in response to a round being fired, the bolt moves back and pushes the detent members back, wherein by nature of a geometry of the detents and the matched recesses, the detent members outward in opposite directions and perpendicular sliding along the recoil spring guide rail in the recoil position to complete a recoil cycle.

Jun 3, 2025

US12320608 - Bolt assembly for firearm

A modular two-piece bolt system for firearms with blowback actions provides a rear bolt piece which detachably couples to plural different front bolt pieces each of different mass. The front bolt pieces have a similar configuration and common coupling interface which forms an interlocked relationship with a complementary configured coupling interface on the rear bolt piece to prevent axial separation of the pieces when the action of the firearm is cycled. The system allows various front bolt pieces to be selected and used interchangeably with the rear bolt piece so that a front bolt piece of proper mass can be matched to the energy of ammunition to be fired. The front and rear bolt pieces when coupled define a continuous extended longitudinal passage which receives the rear breech end portion of the firearm barrel therethrough to reduce the projected length of the barrel.