Bolt Catch

Patents tagged Bolt Catch

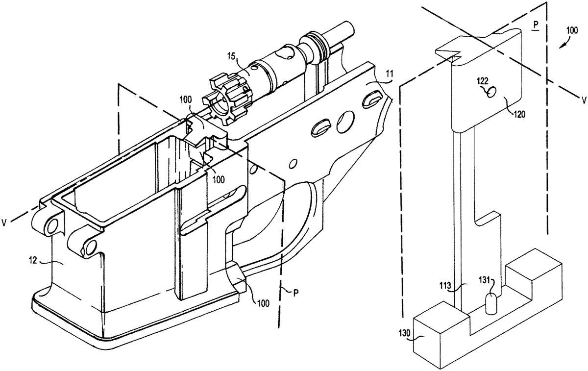
Dec 9, 2025

US12492875 - Rifles comprising a bolt catch device

Firearms including a bolt catch device, having a receiver comprising a duct, wherein the bolt catch device comprises a foot, a slider, and a spring, and the foot, on the leg thereof and on the magazine well side, has a groove for receiving the spring and, on the side facing the trigger device, has a socket; wherein the slider has, on the lower portion thereof, bearing bolts for being inserted into and pivoted in the socket, wherein the slider has, at the upper end thereof, a protrusion which protrudes in the direction of the magazine well beyond the contour of the duct, and wherein the receiver has an abutment that protrudes into the groove in order to prestress the spring of the bolt catch into the rest position.

Aug 19, 2025

US12392571 - Firearm with ambidextrous bolt catch

A firearm with ambidextrous bolt catch has a frame, a bolt catch connected to the frame and movable between a retracted position and a restraint position, the bolt catch having exposed interface surfaces on a first side of the frame and configured to enable user contact to motivate the bolt catch to the retracted position and the restraint position, a secondary bolt catch interface assembly operable to motivate the bolt catch to the retracted position and to the restraint position, the secondary bolt catch interface assembly including an actuator having an actuation surface on a second side of the frame, and the actuator operable to move the bolt catch from the restraint position to the retracted position in response to a first actuation effort, and to move the bolt catch from the retracted position to the restraint position in response to a different second actuation effort.