Military

Patents tagged Military

May 19, 2026

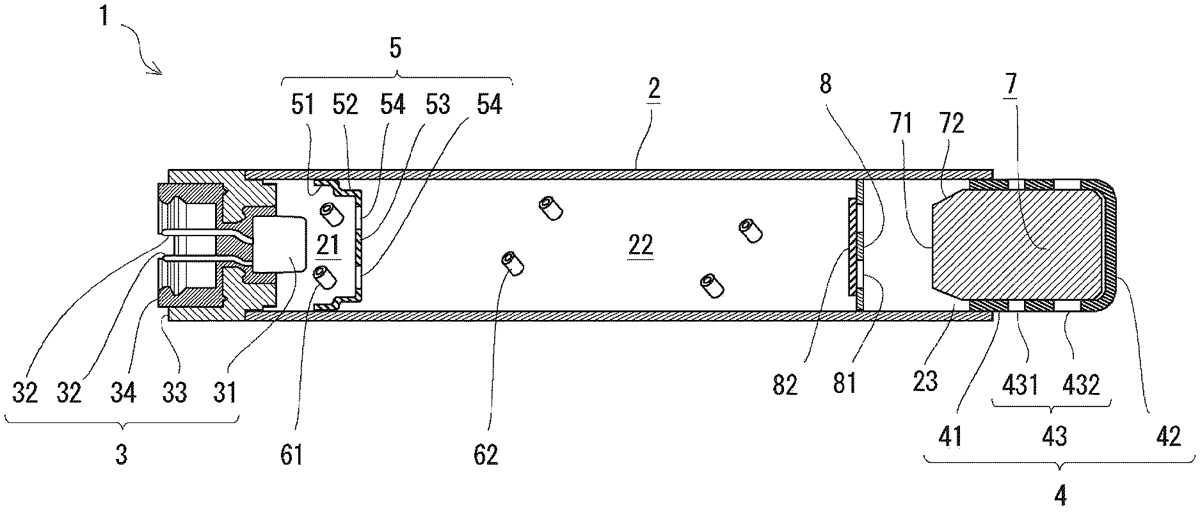
US12631093 - Overmolded shaped charge and methods of use

One example apparatus includes a shaped charge, and an overmold that includes one or more layers surrounding a portion of the shaped charge. The overmold may contact, and conform to, a case within which the shaped charge is received, and the overmold may further contact, and conform to, a cartridge wall within which the shaped charge and the overmold are positioned. An electrical or electronic component may be partly embedded in the overmold.

May 19, 2026

US12631429 - Ballistic shield

A protective shield comprises a shield body. The shield body comprises a shield panel having a first and second face defining a threat side in a threat direction and a protected side in a protected direction opposite the threat side and threat direction, respectively, and having opposite panel edges and an edging covering at least part of the panel edges. The shield body further comprises connectors for mounting, in particular removably mounting, one or more accessories to the shield body on the threat side. At least some of the connectors are arranged on the threat side and/or at least one of exposed and exposable on the threat side, and at least partly accommodated in the edging.

May 19, 2026

US12631431 - Fuse assembly and method for assembling the same

A fuse assembly that includes a low energy exploding foil initiator (LEEFI) located in a housing thereof. The LEEFI is supported in the housing by a sleeve made of a compliant material that protects the LEEFI by dampening shocks and vibrations applied to the housing. At least a portion of the LEEFI is press-fit into the sleeve such that an interference fit exists between an outer cylindrical wall of the LEEFI casing and in inner wall of the housing. The sleeve includes a latch assembly at one end having a plurality of tabs that are circumferentially spaced-apart from one another. Each of the plurality of tabs includes a cantilever beam having a head, the head including a bottom surface pressed against a top surface of the external annular flange of the LEEFI casing.

May 12, 2026

US12623781 - Payload container for unmanned aircraft and associated systems and methods

A payload container includes a nose cone electronics hub assembly, a collar assembly, a canister assembly, and a grid fin system. The nose cone electronics hub assembly has a nose cone housing electronic components in support of flight and detonator systems. The collar assembly includes a collar coupling the nose cone electronics hub and canister together. A canister of the canister assembly houses separate parts when in a shipping configuration that can be attached to an exterior of the payload container in a deployment configuration. A fin assembly facilitates vertical descent of the payload container when dropped from an unmanned aircraft.

May 12, 2026

US12624618 - Detonation module

A detonation module for a perforation tool includes an end that may receive and couple to a ballistic transfer unit of the perforation tool, a detonator, a switch circuit electrically coupled to the detonator, an electrical contact electrically coupled to the switch circuit, and an electrically conductive, compressive member that may couple to the ballistic transfer unit of the perforation tool and form a compressive electrical connection between the electrical contact and the ballistic transfer unit. The electrical contact is disposed between the detonator and the electrically conductive, compressive member.

May 12, 2026

US12624923 - Controller for and method of controlling a counter measure system

A controller for a counter measure system against unmanned aerial vehicles (UAVs) includes a display device and a processor configured to receive target position data of a target UAV, effector position data of at least one counter measure effector, and effector orientation data of the at least one counter measure effector relative to geographic cardinal directions. The processor is also configured to determine a field of effect of the at least one counter measure effector on the basis of the effector position data and the effector orientation data. The field of effect is indicative of an area covered by electromagnetic radiation emitted, in use, by the at least one counter measure effector. The processor is further configured to generate a display signal for displaying, on the display device, the position of the target UAV with respect to the field of effect of the at least one counter measure effector.

May 12, 2026

US12624924 - Method, fire control system and combat system for simultaneous detonation of projectiles

A method for simultaneous blasting of projectiles includes i.) calculating the position of the target, ii.) estimating the target's position, iii.) firing a first projectile at the target, iv.) firing a second projectile at the target, v.) braking the first projectile with a braking device arranged in the projectile, and vi.) detonating the projectiles in a coordinated fashion based on an initiation signal. A fire-control system for directing fire against a target comprising at least one sensor, in order to measure the position of the target as a function of time, and a combat system including a firing device are also provided.

May 12, 2026

US12624928 - Explosively formed active water barrier RPG protection system and method for maritime vessels

Disclosed is a method and system to provide protection for maritime vessels from multiple threat types including shoulder launched rocket propelled threats, ballistic (howitzer), and larger scale missile systems. According to an exemplary embodiment, the protection system is based on the ballistic launch (from the protected vessel) of an explosive charge(s) aimed ˜5 meters away from the vessel and ˜1 meter beneath the waterline followed by detonation to enable the formation of a water wall. Through the formation of a water wall, incident threats can be initiated (piezo fuze) and passivated through dynamic interaction with the water formation. In addition, the upward velocity of the water wall can enable an upwards rotation of the incident threat changing the orientation of the warhead jet formation (for shape charge warheads) above the vessel.

May 5, 2026

US12618646 - Verification of desired target illumination in the presence of clutter for laser-designated applications

A laser seeker system is provided. The laser seeker system includes at least a laser pulse receiver circuitry and a pulse evaluator is provided. The pulse evaluator can be configured to obtain a set of measured pulse repetition intervals associated with laser pulses acquired by the laser pulse receiver circuitry. The pulse evaluator can further categorize a current volatility status indicating a respective category of a set of volatility categories, and based on a volatility index indicating a variance of the set of measured PRIs and a volatility counter indicating a number of the acquired laser pulses. The pulse evaluator can further increase a respective category counter that counts occurrences of the respective volatility category. The pulse evaluator can further categorize the authenticity of the laser seeker target based on the set of category counters.

Apr 28, 2026

US12613078 - Imaging apparatus with thermal augmentation

A thermal image-forming attachment for a sighting apparatus has a combiner for overlaying a generated thermal image from a display against a visible scene defined along an optical axis of the sighting apparatus, wherein the combiner intersects the optical axis between an objective lens and the visible scene. A first IR camera has a first field of view aligned with the sighting apparatus optical axis; a second IR camera has a second field of view narrower than the first field of view, aligned with the sighting apparatus optical axis. An image processor generates the thermal image on the display, wherein IR image content rendered from the second IR camera is centered within IR image content from the first IR camera. Collimating optics project the thermal image from the display toward the combiner as collimated light aligned with collimated light from the visible scene.

Apr 28, 2026

US12613081 - Mounting system adapter and chassis

A mounting system and method that provides simplified mounting points and attachment interfaces for associated components. Specifically, the system and method generally comprise a mounting system, including a new support chassis, which allows for a Forward Looking Infrared (FLIR) aiming system which was built to be placed in an infantry system for a TOW missile, to be used in a vehicle mounted ISU system.

Apr 14, 2026

US12601572 - Perforating jet shaping systems and methods

The present disclosure relates to a shaped charge. The shaped charge includes an explosive component and a liner member coupled to the explosive component. The explosive component and the liner member emit a perforating jet based on ignition of the explosive component. The liner member has a planar symmetric portion that is planar symmetric along an axial length of the planar symmetric portion relative to planes perpendicular to a direction of the emitted perforating jet.

Apr 14, 2026

US12601575 - Range extension device

The present invention relates to a range extension device, particularly to a reversible range extension device, especially reversible base bleed device. There is provided a reversible range extension device, capable in use, of being reversibly engaged to a body of an artillery shell, said range extension device comprising at least one energetic material, and an igniter, wherein the range extension device comprises a first end with an aperture, and second closed end, wherein the range extension device, in use, is selectively arranged to be in an active orientation or inert orientation, wherein in the active orientation the range extension device is arranged such that the aperture faces rearwardly away from the shell to allow the range extension device to function, and in the inert orientation the range extension device is arranged such that the aperture faces inwardly towards the shell.

Apr 14, 2026

US12602519 - Systems for automated blast design planning and methods related thereto

A system, method, or apparatus for generating a blast plan that can receive blast data comprising geological properties of a blast site, blasthole parameters, and available explosive product. A pattern footage can be determined based on a relationship between the face height, the specific energy of the available explosive product, and the geological properties of the bench. The burden and spacing can be determined from the pattern footage.

Apr 7, 2026

US12595986 - Correcting targeting of indirect fire

A system and method are provided for correcting targeting of indirect fire, including: acquiring values for a set of firing conditions, for each of the firing conditions determining statistical parameters of a covariance matrix of the firing conditions, including estimates of unit effects, standard deviations, and error correlations between registration and fire-for-effect (FFE) firing condition errors, wherein at least one correlation is less than one and greater than zero, acquiring a registration miss vector, generating from the statistical parameters a conditional correction matrix; and multiplying the conditional correction matrix by the registration miss vector to calculate a correction vector for FFE targeting.

Apr 7, 2026

US12595988 - Stitched body armor panels with offset construction

A soft body armor arrangement has a plurality of layers of soft ballistic material stacked on one another, each layer comprising a plurality of sub-layers of ballistic material. Each of the layers has a respective seam line attaching two or more respective sections of the layer. The sizes of the section are varied so that the resultant seam lines of adjacent layers are offset and spaced apart from one another, but the overall size and shape of each layer is the same. This avoids stacking and bunching of the seam lines which can cause rigidity and discomfort.

Apr 7, 2026

US12595989 - Multi-part shaped charge liner

The present disclosure relates to a shaped charge liner. The shaped charge liner includes a first liner portion formed a first material. The first liner portion has an apex and a skirt section that define an interior volume of the first liner portion. The shaped charge liner also includes a second liner portion formed of a second material. The second liner portion is coupled to the first liner portion such that the second liner portion is an edge of the interior volume.

Apr 7, 2026

US12596371 - System and method for interception and countering unmanned aerial vehicles (UAVS)

Systems, devices, and methods for identifying a target aerial vehicle, deploying an interceptor aerial vehicle comprising at least one effector, maneuvering the interceptor aerial vehicle to a position to engage a target aerial vehicle, deploying the at least one effector to intercept the target aerial vehicle, and confirming that the target aerial vehicle has been intercepted.

Mar 31, 2026

US12589315 - Virtual and augmented reality shooting systems and methods

Provided herein are systems and methods for training, maintaining and using skills for shooting a target with a projectile. More particularly, the invention relates to virtual and/or augmented reality, augmented reality, mixed reality and consensual reality systems and methods to train and maintain shooting skills in military, law enforcement, competition and sporting settings, environments and missions.

Mar 31, 2026

US12590783 - Forward-fighting position ballistic shield device

A forward-fighting ballistic shield device is provided. The device is comprised of a ballistic shield device that can function as both a ground-deployed and a carried shield to protect against ballistic blast and fragmentation impacts. The device comprises an aluminum frame attached to a ballistic panel with a polyurethane coating, along with an adjustable telescopic leg secured by a locking mechanism for stability when deployed. A tether further ensures the leg maintains the desired angle, while a fastener secures it parallel to the frame when carried. Additionally, deployable straps with grommets enable staking the device to the ground for enhanced stability. The device further features a rapidly inflatable ballistic panel with an inflatable bladder, capable of being manually or gas-inflated via a canister. The bladder may be reinforced with tensile members or foam-core and absorbs and distributes impact forces.

Mar 17, 2026

US12578173 - Additively manufactured metal casings

An embodiment of the bomb casing ( 1 ) defines a generally conical nose portion ( 2 ) and a cylindrical body portion ( 3 ). At least one, and more preferably both, of the generally conical nose portion ( 2 ) and/or the cylindrical body portion ( 3 ) are formed from an additive manufacturing process, which is preferably cold-gas dynamic spraying of metal particles onto a support member. In one embodiment, the generally conical nose portion and cylindrical body portion are integrally formed.

Mar 17, 2026

US12578193 - Multi-IMU guidance measurement and control system with handshake capability to refine guidance control in response to changing conditions

Presented herein are systems and methods using inertial measurement units (IMUs) for providing location and guidance, and more particularly for providing location and guidance in environments where global position systems (GPS) are unavailable or unreliable (GPS denied and/or degraded environments), and for such location and guidance being provided to projectiles, munitions, or rounds that are released, fired, or deployed from vehicles or weapons systems. More particularly, this disclosure relates to the use of a series of low-accuracy or low-resolution IMUs, in combination, to provide high-accuracy or high-resolution location and guidance results. This further relates to an electronics-control system for handing off control of the measurement and guidance of a body in flight between groups or subgroups of IMUs to alternate between high dynamic range/lower resolution and lower dynamic range/higher resolution measurement and guidance as the environment dictates.

Mar 10, 2026

US12571612 - Ballistic calculator hub

The disclosure relates to a device for providing a ballistic solution. In one embodiment, the disclosure relates to a device for storing one or more ballistic calculators for providing a ballistic solution. In one embodiment, the device communicates with one or more laser rangefinders.

Mar 10, 2026

US12571616 - Mine clearing line charge design with improved efficiency

A mine clearing device configured to be propelled into an area and detonated after landing has a detonating cord and a plurality of explosive blocks along the detonating cord. Each of the plurality of explosive blocks is configured such that, upon landing, a majority of the explosive material is between a ground and a horizontal plane of the detonating cord.

Mar 10, 2026

US12571617 - Testing and data transfer to artillery guiding kits

Projectile guiding assemblies, caps and methods of delivering power for testing and optionally data over spring-mounted fin(s) of the guiding assembly are provided. The guiding assemblies are configured to have continuous electrically conductive path(s) from the fin(s), through the respective spring(s) on which the fin(s) are mounted, and into the electronics module, which may receive power for testing and guiding data from external source(s) over the electrically conductive path(s). In the testing state, cap mechanically secures the fin(s) to contact(s) thereupon to assure continuous power and data transfer, sparing surface area that was previously dedicated to power and data transfer and simplifying these processes, especially under field conditions.

Mar 10, 2026

US12571618 - Launch initiated low-drag seeker window cover

A guided vehicle that includes a body, a propulsion system operably engaged inside of the body, a housing operably engaged with the body and encasing a guidance device inside of the housing, a viewing window of the guidance device, and a cover moveably engaged with the housing, wherein the cover is moveable between a pre-flight configuration and a flight configuration. In the pre-flight configuration, the cover covers the viewing window. In the flight configuration, the cover is configured to expose the viewing window in the flight configuration in response to an impulse of acceleration generated by a launch of the guided vehicle.

Mar 3, 2026

US12566049 - Body armor system

An armor carrier comprises a plate bag removably attachable to a soft armor carrier. The soft armor carrier comprises at least one panel and, in some cases, a front panel, a rear panel, and a pair of shoulder straps. The pair of shoulder straps may include one or more spaced-apart slit openings in a patterned configuration, and the front and rear panels of the soft armor carrier include one or more spaced-apart slit openings in a horizontal or vertical orientation. The plate bag, which comprises a front panel, a rear panel, and a pair of shoulder straps corresponding with respective components of the soft armor carrier, is donned over the soft armor carrier. The plate bag is removably secured to the soft armor carrier via one or more attachment fittings disposed on the plate bag that respectively engage the one or more of slit openings on the soft armor carrier.

Mar 3, 2026

US12566052 - Multiple Explosively Formed Penetrator (EFP) warhead

In a MEFP warhead detonation of the main charge is controlled to provide elevated pressure at multiple locations on the back surface of the liner to cut the liner and to form and propel forward a plurality of EFPs. An initiation system is configured for multi-point initiation of a plurality of booster charges to detonate the main charge to produce a plurality of detonation waves that constructively interfere at multiple locations on the back surface of the liner to form pressure hot spots that cut the liner and to form and propel forward a plurality of EFPs. In different embodiments, the elevated pressures are between 110% and 200% of the detonation pressure at the front of an individual detonation wave. The liner may, for example, be a flat plate or a include a plurality of dimples in which case the boosters are aligned to the center of the dimples.

Mar 3, 2026

US12566053 - Mid-body warhead for projectile

A warhead includes a casing having a periphery wall that extends along a central axis from a forward end of the casing to a rearward end of the casing. The casing defines a cavity configured to contain an explosive material, wherein the forward end of the casing includes a first thread pattern configured to engage a guidance system casing, and the rearward end of the casing includes a second thread pattern configured to engage a propulsion system casing. A first row of fragments is arranged along a first section of the periphery wall of the casing. A plurality of second rows of fragments is rearward of the first row of fragments and arranged along a second section of the periphery wall of the casing. In an example, each of the first and second sections tapers inward towards the central axis as it extends toward the forward end of the casing.

Feb 24, 2026

US12560406 - Vacuum insulated vertical launch system (VLS)

Vacuum insulation layers are provided for one or more components of a launch system for a plurality of missiles. The vacuum insulation layers may be integrated into the walls of the components or provided in inserts attached to the components. A medium or high vacuum is pulled on a sealed void space in the walls or the insert. The vacuum insulation layer provides a thermal conductivity (Tcond_vac) of less than one-third of a thermal conductivity of air (Tcond_air). The vacuum insulation layer delays desensitization or inhibits premature reaction of the energetic materials inside the missiles due to high external temperatures. The insulation layers allow for more compact and dense configurations of the launch system and missiles.

Feb 24, 2026

US12560407 - Target lead estimation based on launcher slew

A portable launcher to launch a guided projectile at an aerial target, wherein the guided projectile has a projectile guidance kit and a target leading guidance kit that is provided with the guided projectile and the portable launcher. The target leading guidance kit includes a target lead estimation protocol stored on a computer readable media and accessible by a processor of the target leading guidance kit. When the processor executes the target lead estimation protocol, the processor is instructed to dynamically lead a reticle of an electronic sight of the target leading guidance kit from the initial target position to the lead target position in response to the projectile guidance kit detecting a speed of the aerial target and an inertial measurement unit of the target leading guidance kit that measures the slew of the guided projectile from the initial position to the translated position.

Feb 24, 2026

US12560410 - Devices, systems, and methods for countering drone countermeasures

A navigation system and method for guiding a vehicle with respect to a source of jamming is disclosed, the system and method being capable of receiving navigation-aid signals, detecting jamming of such signals, mitigating such jamming, determining direction to the source of jamming, and interdicting that source, e.g., a drone gun.

Feb 24, 2026

US12560412 - Modular accessory system

A protective mantel and accessory hub includes a primary yoke configured to be worn underneath an armor carrier. Sliding attachment points removably connect the armor carrier to the upper protector to allow for mobility and articulation. Accessories such as a throat guard and deltoid guards are removably attached to the mantel. Shoulder suspension members are inserted into the primary yoke to support and distribute the weight of the armor carrier. The armor carrier includes a magnetically attachable front accessory panel and zippered pouches on the front and back to receive and retain body armor plates.

Feb 24, 2026

US12560418 - Explosive firing train with a single explosive transfer interface

An EFI or LEEFI provides enhanced detonation energy sufficient to directly detonate a main charge to improve the reliability and ease the qualification of an explosive firing train. This is accomplished by forming the EFI's output charge from an explosive material typically used as a booster explosive (e.g., PBXN-5, CH-6 and Composition A5) rather than a primary explosive and making the diameter of the output charge greater than the diameter of the barrel thus increasing the total mass of the output charge. The explosive firing train now requires only a single explosive transfer interface. For use in military grade munitions, the EFI's casing is formed with one or more vent holes radially adjacent the output charge.

Feb 17, 2026

US12551815 - Steerable rotating projectile

A method of controlling a gyroscopically-stabilized projectile, comprising a control system producing a control signal, a rotating aerodynamic shell, and a reaction mass system responsive to the control signal, the method comprising: imparting rotational and translational kinetic energy to induce gyroscopic stabilization of the projectile about a gyroscopic axis and a movement of the projectile along a flight path; interacting the shell with surrounding air while moving, to induce aerodynamic forces; generating the control signal from the control system; and altering a state of the reaction wheel system selectively in dependence on the control signal, to alter the flight path.

Feb 17, 2026

US12553691 - Compact ballistic shield with offset spaced components for improved performance

A multi-piece ballistic shield is provided with a first shield having an outward face exposed to projectiles and an opposing inward face. The first shield having a first offset layer mechanically coupled to a first section of the outward face of the first shield and a second offset layer mechanically coupled to a second section of the outward face of the first shield. The multi-piece ballistic shield further includes a second shield having an outward face exposed to projectiles and an opposing inward face. The second shield is detachably coupled to the first shield such that the second offset layer overlaps a seam formed between the first and second shields. The multi-piece ballistic shield includes a harness coupled to a fastener to support a weight of the multi-piece ballistic shield.

Feb 10, 2026

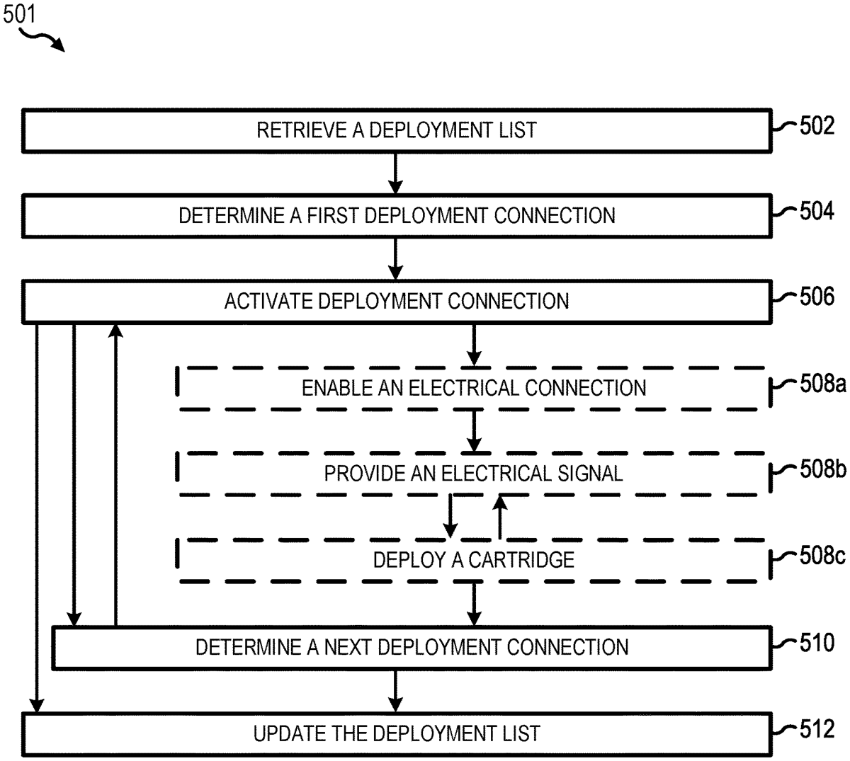
US12546572 - Distributing deployments in a conducted electrical weapon

A conducted electrical weapon (“CEW”) may distribute deployments from the CEW across a same activation event and across different activation events. The system may distribute deployments based on a deployment list. The deployment list may define a sequential deployment order for a deployment connections of the CEW. The system may determine a next deployment connection and activate the next deployment connection based on the deployment list. The system may update the deployment list responsive to activations of deployment connections such that the deployment list is sequentially maintained between activation events.

Feb 10, 2026

US12546573 - Gas generator

A gas generator includes a housing, an ignition device attached to one end side of the housing, a combustion chamber, a diffuser portion formed on the other end side and including a closed end, an open end, and a side wall positioned between the closed end and the open end, a plurality of gas discharge ports formed in the diffuser portion and including a first gas discharge port having a short distance from the combustion chamber and a second gas discharge port having a long distance from the combustion chamber, and a total opening area of the first gas discharge port and a total opening area of the second gas discharge port are different from each other, and a filter accommodated in the accommodating space, the filter extending from a side of the open end toward a side of the closed end in the diffuser portion.

Feb 10, 2026

US12546574 - Interceptor

Device for interception of incoming ordnance, comprises a dispersion unit to disperse an explosive cloud in an expected path of the incoming ordnance, a proximity detector to detect proximity of the incoming ordnance in relation to the explosive cloud; and an ignition unit associated with said proximity detector that ignites the explosive cloud to disrupt the incoming ordnance.

Feb 10, 2026

US12546578 - Countermeasure device

A laser weapon countermeasure device is described. The laser weapon countermeasure device comprises a sealed capsule having a filler disposed therein. The filler comprises either: a reflective particulate metal; or a precursor for a reflective metal or reflective metal alloy. The capsule is configured to burst in air such that the filler disperses into an aerosol. A countermeasure launcher and a vehicle comprising a countermeasure launcher are also described.

Feb 3, 2026

US12540792 - Stabilized end cap for common launch tube

A stabilized end cap for covering one end of a common launch tube on a military aircraft is disclosed. The stabilized end cap includes a central body having a portion with a disk-shape configuration. In some cases, the stabilized end cap has a peripheral extension that extends radially outward from the periphery of the central body, and the peripheral extension is provided with an aerodynamic configuration. In other cases, the stabilized end cap has at least one aerodynamic extension extending longitudinally outward from the outside surface of the central body.