Mount

Patents tagged Mount

May 19, 2026

US12631868 - Film through scope camera mount system

Systems and methods are described which provide a film through scope camera mount including a housing that includes a beam splitter, first and second mirrors, and a sensor. The camera mount system may receive an input optical signal from a first direction; split the input optical signal using the beam splitter such that a first portion of the input optical signal may be communicated out of the camera mount system in a second direction and a second portion of the input optical signal may be reflected lateral to the first direction; reflect the reflected signal vertically using the first mirror; reflect the vertically reflected signal in a second lateral direction using the second mirror; and receive the signal reflected by the second mirror in the sensor, which may comprise a visible light sensor and/or an infrared sensor.

May 12, 2026

US12624577 - Lockable gun mount

A lockable gun mount features a stock receiver, a trigger block, and a barrel lock. The stock receiver includes a base, sidewalls, a receiving aperture, and one or more fasteners. The trigger block includes a trigger rod and a wall member. The barrel lock includes a wall member, a hinged door coupled to the wall member, and a locking mechanism configured to secure the hinged door to the wall member. In some examples, the barrel lock further includes a biometric sensor. A cumulative force between the stock receiver, the trigger receiver, and the barrel lock prevents the gun from being removed from the lockable gun mount when secured to a wall or flat surface.

Apr 14, 2026

US12601564 - Alignment guidance system

A combined sight and optic sight mount securable to an upper surface of a firearm comprising: an aperture frame including: a stationary aft aperture frame; and a movable aft aperture sub-frame situated within the stationary aft aperture frame and comprising: opposed vertical sidewalls, a top wall connecting the opposed vertical sidewalls, and a pair of substantially horizontal planar aiming reference members extending inwardly from the vertical sidewalls and defining a gap therebetween.

Mar 24, 2026

US12584711 - Universal mount systems and methods for tactical accessories

A universal mount system for mounting an accessory to a base in various orientations is provided. The present disclosure provides a universal mount capable of being coupled to various bases. An accessory mount is then coupled to the universal mount in one of a number of different orientations. An accessory, such as a holster, is then coupled to the accessory mount.

Feb 24, 2026

US12560411 - Mount assembly for firearm

Some embodiments include an optic guard for a firearm, the optic guard including: a frame; and a bracket having a side to attach to a firearm assembly, the bracket integrally formed with the frame or fixably attached to the frame; wherein the frame is arranged to cover part of a front of an optic housing when the side of the bracket is attached to the firearm assembly. Other embodiments may be disclosed and/or claimed.

Feb 10, 2026

US12546570 - Firearm optics mount

A firearm optics mount is configured to position an optic device on a firearm in a position offset from vertical alignment above the barrel when the firearm is in the vertical position. The canted mount includes a base, a support, and an optic mount at the end of the support. The support is configured to offset the optic between 5 and 30 degrees from vertical alignment with the barrel when the firearm is vertically positioned. The support may be configured to offset the optic between 12 and 22 degrees. The base of the mount may include a rear sight. The optic mounted to the firearm via the canted mount may be a primary or only optic of the firearm. The mount may vertically align a bullet drop feature of an optic with the centerline of the barrel when the firearm is canted to position the optic vertically above the barrel.

Jan 27, 2026

US12535298 - Weapon accessory mount

A weapon accessory mount for removably mounting an accessory on a weapon. The weapon accessory mount includes an accessory rail supported by a base with a weapon attachment interface that engages the weapon. The weapon attachment interface includes an alignment pin that interfaces a portion of the weapon and a retaining pin that couples to an additional portion of the weapon. The accessory rail utilizes mounting grooves to interchangeably couple weapon accessories to the weapon accessory mount. Furthermore, accessory interference locators are located within some of the mounting grooves to define weapon-accessory-specific locations along the accessory rail, in which a weapon accessory should not be mounted to. Additionally, the weapon accessory mount is configured for mounting non-boresight aligned optics to a weapon and locating the non-boresight aligned optic in relation to the weapon to use in tracking a target.

Jan 20, 2026

US12529540 - Suppressor mount facility for a firearm

A suppressor mount facility for a firearm has a rear cap associated with a suppressor, an adapter having a facility for connection to a barrel associated with the firearm and defining an adapter bore, the rear cap defining an internally threaded cap bore, the adapter having an externally threaded portion configured to removably connect to the internally threaded cap bore in a connected condition, and at least one of the rear cap and the adapter having a flexible spring portion configured to bias against the other of the rear cap and the adapter when in the connected condition. There may be a plurality of springs arranged circumferentially about the adapter bore. The plurality of springs may be leaf springs. The plurality of springs may extend rearwardly from the threaded portion of the adapter.

Dec 9, 2025

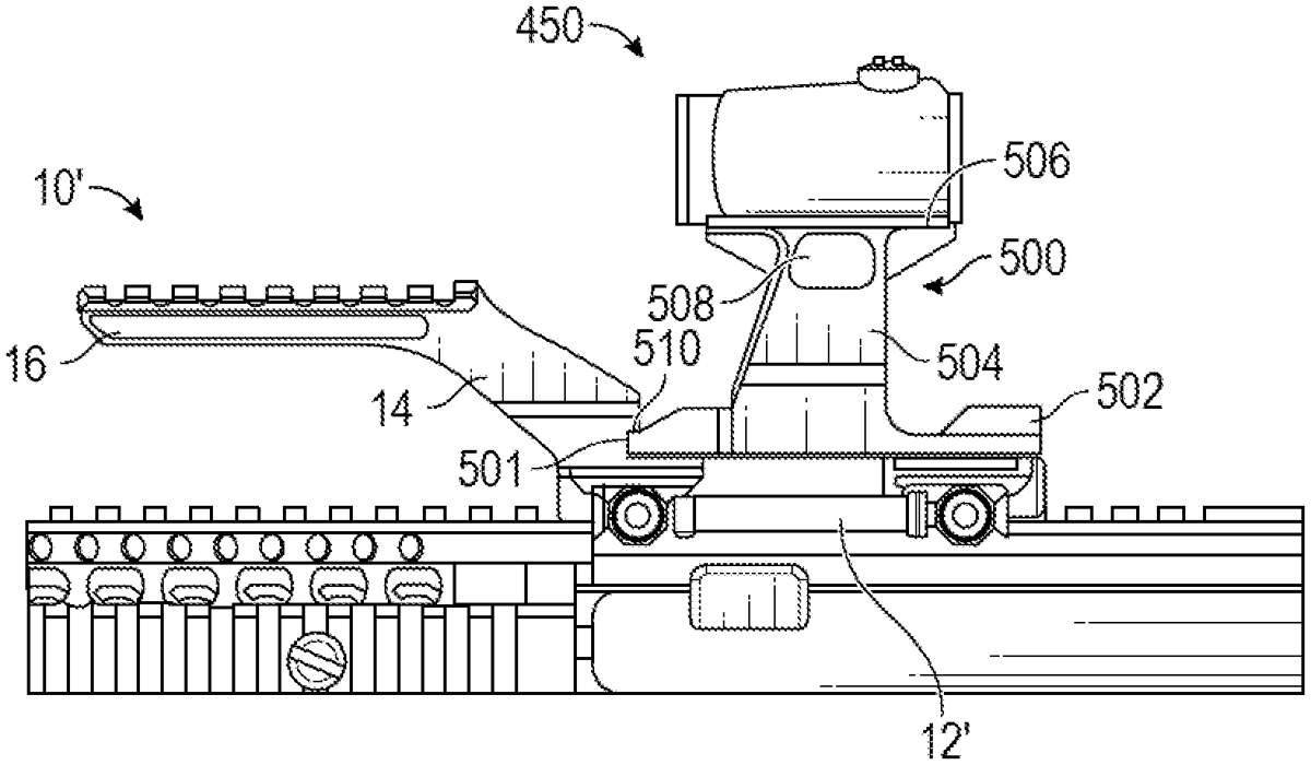
US12492880 - Accessory mount

Disclosed is an accessory mount configured for attachment to a rail interface system, such as the MIL-STD 1913 Picatinny rail. In particular, the accessory mount is a multi-position sliding mount that can be used to attach an accessory, such as a bipod or a tripod, to a handguard equipped with a compatible rail interface system. The accessory mount includes a spring-loaded push-button recoil lug that allows it to be quickly repositioned on a rail interface system. The accessory mount also includes an adjustment knob configured to facilitate attachment and removal without the need to slide the accessory mount on or off the end of the rail interface system. Additionally, the adjustment knob is configured to set sliding tension for the accessory mount and, if desired, to fix the accessory mount in position on the rail interface system.

Dec 9, 2025

US12492884 - Accessory mount system

An accessory mount system for connection to a rear sight block (RSB) of a Kalashnikov pattern firearm includes a locking insert that has a projection which extends in a first direction. The projection is adapted to be received within a first recess of the RSB for connection thereto. An adapter body is connected to the locking insert and has a projection that extends in a second direction opposite the first direction. The projection of the adapter body is adapted to be received within a second recess of the RSB for connection thereto. A mount body is connected to the adapter body and has an accessory interface which is adapted to connect to an accessory. An adapter body is secured with a push-pivot pin securely wedging the projection of the adapter against an internal wall of the RSB.

Nov 25, 2025

US12480744 - Firearm rotation mount for optics and accessories

A device implementable on a firearm includes a rotation mount comprising a first main piece and a second main piece. The first main piece has a first mounting side configured to accommodate mounting of optics and accessories thereon. The second main piece has a second mounting side configured to accommodate a mounting surface on the firearm such that the rotation mount is installable on the firearm via the second main piece. The first main piece is configured with a first coupling portion with a generally cone-shaped first feature. The second main piece is configured with a second coupling portion with a generally cone-shaped second feature configured to mate with the first feature of the first coupling portion such that the first main piece is pivotable around a rotation axis of the rotation mount when the first main piece and the second main piece are pivotably joined together.

Oct 7, 2025

US12435953 - Scope mount apparatus and method

A scope mount apparatus for attaching an optical scope to a firearm is provided. The scope mount apparatus includes at least one base with at least one fastening element for attaching the base to the firearm. The scope mount apparatus also includes two scope rings operatively connected to the at least one base. An integral sighting system is mounted with respect to the base. The scope mount apparatus is configured such that an unobstructed line of sight extends between the scope rings and the base. The unobstructed line of sight contacts or intersects the sighting system so that a user of the firearm has the option of using either a scope in the scope rings or the integrated sighting system to aim at a target.

Sep 16, 2025

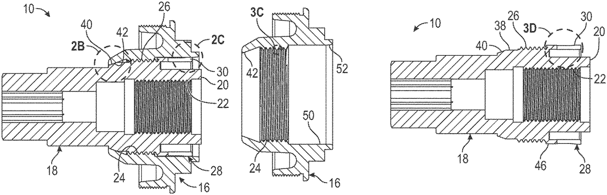
US12415221 - Method of manufacturing a rifle scope mount

A method of manufacturing a rifle scope mount has the steps of forming a first mount portion defining a first portion of a cylindrical scope tube passage, forming a second mount portion defining a second portion of the cylindrical scope tube passage, after forming the first and second mount portions, connecting the first and second mount portions together, connecting the first and second mount portions to a fixture, and after connecting the first and second mount portions to a fixture, machining the first and second mount portions to define a cylindrical bore at the cylindrical scope tube passage. The step of connecting the first and second mount portions together may include positioning a shim between the first and second mount portions. The step of connecting the first and second mount portions to a fixture may include clamping the first mount portion to a fixture rail.

Sep 9, 2025

US12410989 - Sight mount and related method of use

A weapon mount is provided to connect an accessory to a weapon adjacent a sight. The mount can include a main body, a forward projecting first arm and a locking plate. The main body can engage a rear of the sight, for example, a front sight post, and the locking plate can engage a front of the sight. The locking plate, main body and mount can be centered on the post via a centering fastener projecting through a center plate hole of the locking plate, and can be clamped to the sight post via first and second fasteners projecting through the locking plate and engaged with the first arm and a second arm which can be part of the main body or a modular body. The modular body can be slidably joined with the main body via a guide rail and corresponding slot. A related method is provided.

Sep 9, 2025

US12410991 - Systems and methods for multi-accessory mount assembly for a firearm

A multi-accessory mount assembly for use with a firearm, and methods for coupling the assembly to the firearm are provided. The assembly may include a proximal portion having a lower surface configured to be removably coupled to the firearm and an upper surface configured to be removably coupled to a sub mount. The sub mount may be configured to be removably coupled to a first firearm accessory, e.g., an optic scope, a red dot sight, a reflex sight, a night vision monocular or scope, or a magnifier. The assembly further may include a distal portion extending distally from the proximal portion via a neck portion, such that the distal portion is elevated higher than the proximal portion. An upper surface of the distal portion may be configured to be removably coupled to a second firearm accessory, e.g., an infrared laser or a night vision monocular or scope.

Sep 2, 2025

US12405089 - Locating fastener for firearm optic

In various embodiments, an apparatus comprises a locating optic assembly mount arranged to receive an optic or a bracket on which the optic is installed, wherein the locating optic assembly mount includes: one or more locating fastener openings to receive one or more locating fasteners with threaded sections and non-threaded shoulders, wherein the non-threaded shoulders extend through the optic or bracket and below a surface located below the optic or bracket, each locating fastener opening including: a threaded hole to mate with the threaded section of the corresponding locating fastener; and a counter opening located above the threaded hole, wherein the counter opening is arranged to slip fit with the non-threaded shoulder of the corresponding locating fastener to align a center axis of the locating fastener with a center axis of the locating fastener openings. Other embodiments may be disclosed and/or claimed.

Aug 12, 2025

US12385720 - Firearm magnet mount with barrel insert and method of securely holding firearm using the same

The present invention provides a magnet mount for securely holding a firearm. The magnet mount includes a mounting plate, one or more magnets affixed to the mounting plate, and a barrel insert that is substantially in parallel with the surface of the mounting plate. The magnets are configured for providing a holding power to support at least a portion of the weight of the firearm. The barrel insert can be inserted into the barrel of the firearm and stabilizes the firearm. Also provided is a method of securely holding a firearm using the magnet mount.

Jul 1, 2025

US12347615 - Side firearm magnet mount and method of securely holding firearm and preventing accidental discharge

The present invention provides a magnet mount for securely holding a firearm. The magnet mount includes a side mounting plate, one or more magnets are affixed to the side mounting plate, and a firearm holder. The firearm includes (a) a firearm seat, (b) a connector extending upwardly from the firearm seat and connecting to the side mounting plate, and (c) a trigger shield extending upwardly from the firearm seat. The trigger shield is configured for blocking at least 50% of a trigger accessing area of the firearm to prevent accidental discharge. Also provided is a method of securely holding a firearm using the magnet mount.

Jun 17, 2025

US12332021 - Scope mount system with offset accessory attachment mount

A mount for attaching an optical scope to a weapon includes a base and front and rear lower clamping members extending from the base. The rear lower clamping member is axially spaced apart from the front lower clamping member. A front upper clamping member is attached to the front lower clamping member to define a front scope ring having a front cylindrical bore. A rear upper clamping member is attached to the rear lower clamping member to define a rear scope ring having a rear cylindrical bore, and wherein the front and rear cylindrical bores are co-aligned with a first axis. An accessory mount configured to receive a weapon accessory extends from the front upper clamping member and has an elongate portion extending along a second axis. The first axis and second axis are parallel and the second axis is laterally offset with respect to the first axis.

Jun 17, 2025

US12332022 - Optics mount and riser system for a firearm

An optic mount modular system includes a bridge portion that is mounted on the top rail of a firearm. The bridge portion can have either an integral optics riser on which a sight can be mounted, or a top rail section. The bridge portion has a front end and a rear end, each of which have a vertical face in which there is a horizontal bore. At the top of the bridge portion at the front and rear ends there are horizontal interfaces or surfaces in which there are vertically oriented threaded bores. Accessories such as rail extension portions and magnifier mounts can be mounted to the bridge portion at the front and rear ends. These accessories can include an alignment pin or protrusion than extends from a vertical face that mates against the vertical face at the front end or rear end of the bridge portion, and the alignment pin or protrusion will fit into the horizontal bore of the front or rear end. The accessories also have a tongue that extends over the top of the bridge portion at the front end or rear end, and a threaded fastener passes through an opening in the tongue that is aligned with the vertical threaded bore in the bridge portion. A threaded fastener can then securely attach the accessory to the bridge portion.

May 27, 2025

US12313361 - Muzzle mount assembly

A mount assembly for attaching a firearm accessory to a muzzle of a firearm that promotes a more secure connection. The mounting assembly includes a front collar and a rear collar that are operable to clamp the mount assembly onto the muzzle. A detent ring mounted on the front collar yieldably biased by a spring against the rear collar to resist relative rotation of the front and rear collars. The mounting assembly is constructed so that the spring force applied by the spring does not continually increase as the front and rear collars move to clamp onto the muzzle. Detent springs used to yieldably hold the front and rear collars against relative rotation can be weaker than the main spring, which further reduces unwanted forces working against clamping of the mount assembly onto the muzzle. The mount assembly is also constructed to inhibit carbon lock.

May 27, 2025

US12313377 - Rifle scope mount

A mounting assembly enabled to adhere a sighting scope to a rifle is provided including a mounting rail attached to an upper edge platform of a rail mount and an extension bar attached at a lower edge of the rail mount at one end. A first ring clamp and a second ring clamp spaced apart and attached at a second end of the extension bar is provided, distal to the one end, and the first and second ring clamps are enabled to be secured to the rifle via tightening bolts enabling secure positioning of a sighting scope on the rifle without permanently modifying or scaring the rifle.

May 27, 2025

US12313378 - Kinematic mount for a firearm

A kinematic mount assembly is provided. The kinematic mount assembly includes a fixed mount and a pivot mount. The fixed mount and pivot mount together have a plurality of protrusions and recesses to guide the mounts into a repeatable position when rotating from an opened to a closed position. The protrusions may be semispherical balls and the recesses may be gothic-arch shaped. The pivot mount and fixed mount may be coupled by a pivot pin and rotate about the pivot pin. The pivot mount may contain holes configured to mount an accessory. A latch assembly may hold the fixed mount and pivot mount closed until the latch is actuated, usually by a switch, to allow the system to open.

Apr 29, 2025

US12287176 - Firearm optics mount plate with multiple footprints

A device implementable on a firearm includes a plate with a first primary side and a second primary side opposite the first primary side. When installed with the first primary side facing the firearm or an accessory of the firearm: (i) the first primary side is directly mounted on a portion of the firearm or the accessory, and (ii) the second primary side accommodates and mates with a first optic when the first optic is mounted on the second primary side of the plate. When installed with the second primary side facing the firearm or the accessory of the firearm: (i) the second primary side is directly mounted on the portion of the firearm or the accessory, and (ii) the first primary side accommodates and mates with a second optic different from the first optic when the second optic is mounted on the first primary side of the plate.

Apr 22, 2025

US12281873 - Sight mount and related method of use

A weapon mount is provided to connect an accessory to a weapon adjacent a sight. The mount can include a main body, a forward projecting first arm and a locking plate. The main body can engage a rear of the sight, for example, a front sight post, and the locking plate can engage a front of the sight. The locking plate, main body and mount can be centered on the post via a centering fastener projecting through a center plate hole of the locking plate, and can be clamped to the sight post via first and second fasteners projecting through the locking plate and engaged with the first arm and a second arm which can be part of the main body or a modular body. The modular body can be slidably joined with the main body via a guide rail and corresponding slot. A related method of use is provided.

Apr 15, 2025

US12276528 - Firearm mount

Provided are various mounts, firearms, firearm components, and associated elements and methods. A mount for an at least partially curved body surface may include at least one body defining a clamping portion and a component portion connected to the clamping portion, and a level vial engaged with the component portion of the at least one body. The clamping portion may be configured to engage and secure the mount to the at least partially curved body surface, and the clamping portion may define at least two tangent contact surfaces configured to engage the at least partially curved body surface to secure the mount to the at least partially curved body surface.