US12287184 - Ammunition cartridge casing

ammunitioncartridgecasing
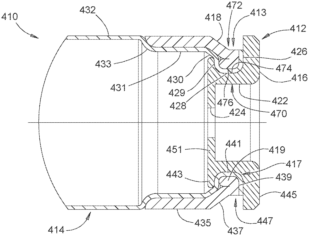
The patent describes an ammunition cartridge casing featuring a primer body with an inner and outer portion designed to interlock within a circumferential trench, enhancing structural integrity. The casing body is also designed to nest within this trench, ensuring a secure fit between the primer components and the casing.
Claim 1
- An ammunition cartridge casing, comprising: a primer body having an inner primer portion and an outer primer portion, an outer surface of the inner primer portion providing a circumferential trench having a radially outwardly extending first circumferential wall portion, a radially outwardly extending second circumferential wall portion, and an axially extending circumferential wall portion extending contiguously between the first circumferential wall portion and the second circumferential wall portion, the outer primer portion configured to nest in conformance within the circumferential trench; and a casing body having a distal end portion and a proximal end portion, the proximal end portion of the casing body interposed in nested conformance between the inner primer portion and the outer primer portion within the trench to interlock a complementary axially extending circumferential wall portion and complementary first and second circumferential wall portions of the casing body between the inner primer portion and the outer primer portion. a primer body having an inner primer portion and an outer primer portion, an outer surface of the inner primer portion providing a circumferential trench having a radially outwardly extending first circumferential wall portion, a radially outwardly extending second circumferential wall portion, and an axially extending circumferential wall portion extending contiguously between the first circumferential wall portion and the second circumferential wall portion, the outer primer portion configured to nest in conformance within the circumferential trench; and a casing body having a distal end portion and a proximal end portion, the proximal end portion of the casing body interposed in nested conformance between the inner primer portion and the outer primer portion within the trench to interlock a complementary axially extending circumferential wall portion and complementary first and second circumferential wall portions of the casing body between the inner primer portion and the outer primer portion.
Google Patents
https://patents.google.com/patent/US12287184
USPTO PDF
https://image-ppubs.uspto.gov/dirsearch-public/print/downloadPdf/12287184