US12416478 - Remote explosive separation tool

The patent describes a remote explosive separation tool designed to safely disarm unexploded ordnance (UXO) by creating a Linear Explosively Formed Projectile (LEFP) that can cut fuzing components from the main charge without detonation. This tool can be deployed by unmanned vehicles and features a housing that contains C-4 explosive and a copper liner to facilitate the explosive separation process.
Claim 1
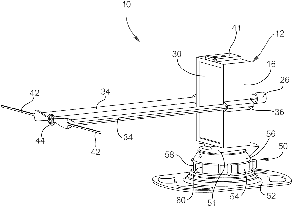
- A remote explosive separation tool for forming a Linear Explosively Formed Projectile (LEFP), comprising: a housing in the shape of a rectangular prism, the housing includes an open front, two opposing side walls, a rear wall, and top and bottom walls; a detonator well being located on the housing; a quantity of C-4 explosive being packed in the housing and extending from the top wall to the bottom wall; a linear concave copper liner being disposed adjacent to the quantity of C-4 explosive and extending from the top wall to the bottom wall, the linear concave copper liner faces the open front of the housing and includes an elliptical cross-section; a pair of parallel stand-off wands extending from respective opposing side walls midway between the top and bottom walls, the pair of parallel stand-off wands extends perpendicular to a plane of the open front and includes, at distal ends, visual indicators for identifying a point of impact of the LEFP; a base interface being attached to the bottom wall of the housing for attaching the housing to a base, the base being configured to contact a ground surface and stably support the tool so that the tool does not tip over prior to detonation of the quantity of C-4 explosive; and an unmanned vehicle interface being attached to the top wall of the housing for attaching the tool to an unmanned vehicle grip. a housing in the shape of a rectangular prism, the housing includes an open front, two opposing side walls, a rear wall, and top and bottom walls; a detonator well being located on the housing; a quantity of C-4 explosive being packed in the housing and extending from the top wall to the bottom wall; a linear concave copper liner being disposed adjacent to the quantity of C-4 explosive and extending from the top wall to the bottom wall, the linear concave copper liner faces the open front of the housing and includes an elliptical cross-section; a pair of parallel stand-off wands extending from respective opposing side walls midway between the top and bottom walls, the pair of parallel stand-off wands extends perpendicular to a plane of the open front and includes, at distal ends, visual indicators for identifying a point of impact of the LEFP; a base interface being attached to the bottom wall of the housing for attaching the housing to a base, the base being configured to contact a ground surface and stably support the tool so that the tool does not tip over prior to detonation of the quantity of C-4 explosive; and an unmanned vehicle interface being attached to the top wall of the housing for attaching the tool to an unmanned vehicle grip.
Google Patents
https://patents.google.com/patent/US12416478
USPTO PDF
https://image-ppubs.uspto.gov/dirsearch-public/print/downloadPdf/12416478