Grip

Patents tagged Grip

Mar 24, 2026

US12584702 - Grip module for handgun

A grip module system for a handgun or other firearm may include a lower receiver, a pistol grip affixed to the lower receiver, a buffer tube attachment point affixed to a rear portion of the lower receiver, and an accessory rail removably attached to a top of the buffer tube attachment point. The grip module system may be configured to accept and engage the firing components of various semi-automatic and automatic pistols or rifles.

Nov 4, 2025

US12460884 - Spade grip attachment assembly for a minigun

A spade grip attachment assembly for securing a spade grip to a minigun clutch includes a first adapter member and a second adapter member. The first adapter member is on the spade grip. The second adapter member is on the clutch. The first and second adapter members are configured such that one is receivable in the other. Each adapter member can define a pair of coaxially aligned pin holes that align to form a passage in which a fastener is receivable when one adapter member is received in the other. The fastener is receivable in the passage to releasably secure the first adapter member to the second adapter member.

Sep 23, 2025

US12422216 - Techniques for determining a grip layout to improve gun ergonomics

The present disclosure provides systems and techniques for determining a grip layout for a gun. The techniques include obtaining an image depicting a hand, obtaining calibration data associated with the image, calculating a real distance between a first landmark of the hand and a second landmark of the hand, and determining a grip layout for the gun based on the real distance between the first landmark and the second landmark. Calibration data may include a scale for the image or data that may be used to derive the scale, such as an object of known dimensions, an angular field of view, or a distance between the device used to capture the image and the hand. The grip layout may include a backstrap size, a sensor size, a sensor location on the gun, or any combination thereof.

Aug 19, 2025

US12392572 - Firearm spade grip assembly

A firearm spade grip assembly can comprise a firearm, paddle trigger assembly, and/or a mounting system. A paddle trigger assembly can comprise a base spanning between and comprising a base forward end and a base aft end; a paddle trigger coupled to the base; a trigger actuator coupled to the base; and/or an actuator housing coupled to and extending forward from the base, wherein the trigger actuator is disposed at least partially within the actuator housing. Movement of the paddle trigger can be configured to translate the trigger actuator. A mounting system of a firearm spade grip assembly can comprise a mounting base configured to couple to a firearm receiver base or a firearm receiver of the firearm.

Aug 5, 2025

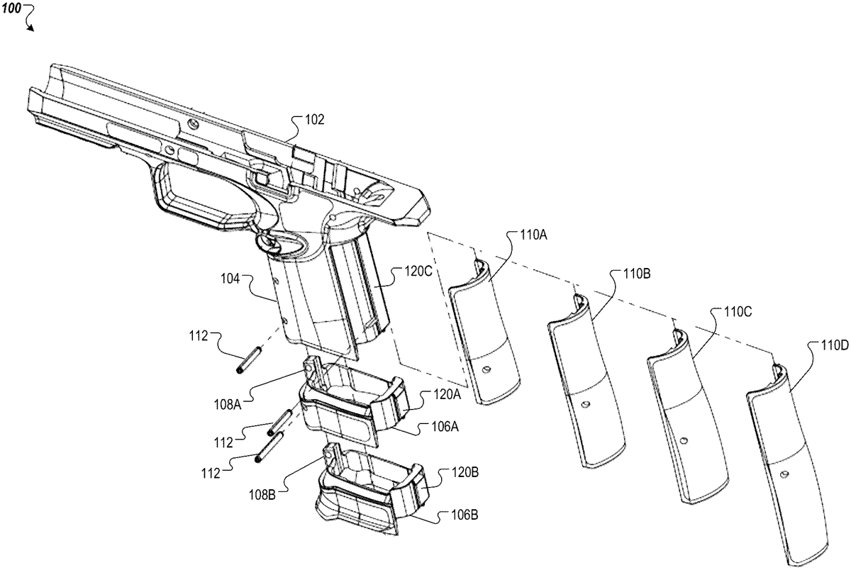
US12379168 - Recoil bracket for a handgun

A handgun grip module assembly includes a grip module with a handgrip portion, a slide portion, and a trigger guard extending between and connecting the handgrip portion to the slide portion. The slide portion extends longitudinally along a central axis and has opposed sidewalls and a bottom wall. The slide portion defines a bracket recess in the bottom wall and defines a receiver well between the opposed sidewalls and above the handgrip portion. A recoil bracket is movably disposed in the bracket recess. In some examples, the grip module can be made of a metal or a metal-infused polymer. During use, the recoil bracket can move in response to forces exerted on it during the firing cycle.

Aug 5, 2025

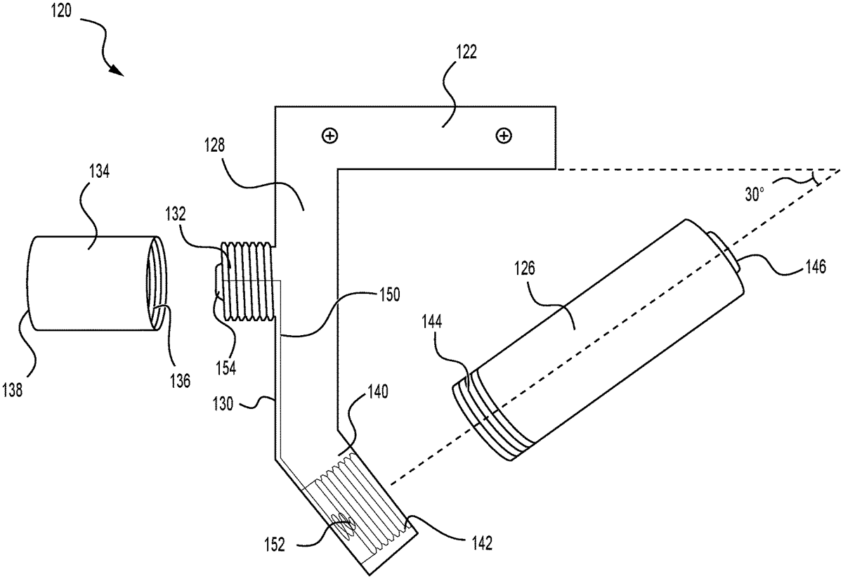
US12379183 - Angled support grip for firearms

An angled support grip for a firearm, such as a long gun, includes an upper portion configured to attach to the frame of the firearm beneath the barrel and forward of the trigger guard; and a forward support extending downward from an end of the upper portion opposite from the trigger guard. The angled support grip also includes an angled handle configured to be gripped by a hand of a user and attached to the forward support at a lower end thereof, opposite from the upper portion, the angled handle extending upward and rearward toward the upper portion along a length thereof away from the forward support. A flashlight head attaches to a forward face of the forward support to project light toward a target. The angled handle is selectively removable from the angled support grip and attachable directly to the flashlight head to form a flashlight assembly.

Aug 5, 2025

US12379739 - Modular controller system for use with a weapon

The invention is a controller system that can be used with or integrated with one or more weapons, such as a gun. The controller system includes a grip comprising one or more buttons and an optional thumb stick. The system also includes a base with an interior that houses the button circuitry. The base includes an opening that facilitates attachment to the weapon. When installed, the controller system allows the single hand of the user to access the grip buttons and the trigger of the weapon to simultaneously control the weapon and an accessory device, such as a drone.

Jun 24, 2025

US12339094 - Attaching a grip attachment or other attachment in a recoil environment at threadless region(s)

In various embodiments, an apparatus to operate in a recoil environment includes an attachment configured to slidable couple to a firearm, the attachment including a threadless region to couple to one or more corresponding threadless regions of at least one part: wherein the attachment includes: a slidable attachment interface to restrict a coupling movement of the attachment relative to the at least one part, to a fore/aft movement; and an additional interface associated with a plunger or other retaining part, the additional interface to restrict a fore/aft position of the attachment relative to the at least one part. Other embodiments may be disclosed and/or claimed.

Jun 3, 2025

US12320606 - Modular pistol grip

A modular pistol grip includes one or more modular extenders configured to couple to a main grip. The modular pistol grip further includes an interchangeable backstrap configured to couple to the main grip and the one or more modular extenders. The one or more modular extenders are configured to extend a length of the modular pistol grip when coupled to the main grip.