Suppressor

Patents tagged Suppressor

May 19, 2026

US12631415 - 3D-printed support structures for sound suppressors

Sound suppressors are provided. The sound suppressor includes an engagement, attachable to a barrel of a firearm, and one or more baffle structures manufactured by 3D printing and forming a baffle stack. Each baffle structure includes one or more baffles housed within a wall. The baffles are connected to one another and to the wall by one or more supports, which provide for improved structural strength. The supports further define channels between the baffles and the wall, decreasing weight without sacrificing structural strength. The channels are open or sealed to facilitate flow of pressurized gas between chambers defined by the baffles and the wall, the pressurized gas being generated during discharge of the firearm. The pressurized gas decompresses and cools while traveling between the chambers and the channels, thereafter exiting the sound suppressor at a decreased pressure, temperature, and velocity, which may attenuate a noise associated with the discharge.

May 19, 2026

US12631416 - Suppression systems for firearms

The present disclosure relates to a suppression system for a firearm, including: a barrel having first and second portions, wherein a wall thickness of the second portion is less than that of the first portion; and an integrally mounted suppressor.

May 12, 2026

US12624915 - Suppression device with purposely induced porosity for firearm

A suppression device includes a body including an outermost external surface of the suppression device, a first end, and a second end; a core configured to be inserted into the body and including a baffle; and a bore extending completely through and along a longitudinal axis of the suppression device, wherein porosity is a fraction of a volume of pores per volume of mass in a material of the suppression device, a structure of the pores is not random, and the porosity of a portion of the core including the baffle is different than the porosity of a portion of the body.

May 5, 2026

US12618630 - Modular firearm suppressor

A firearm suppressor that includes a mount configured to connect the firearm suppressor to a barrel of a firearm. The firearm suppressor includes a first module connected to the mount. The interior of the first module is a first chamber and the first module does not include a baffle. The firearm suppressor includes a second module connected to the first module. The second module includes a plurality of baffles and at least one peripheral pathway that bypasses a second baffle of the plurality of baffles by fluidly connecting an exterior of a first baffle of the plurality of baffles with an exterior of an exterior of a third baffle of the plurality of baffles. The firearm suppressor includes an end cap connected to the second module.

May 5, 2026

US12618631 - Suppressor

A suppressor assembly is disclosed. The suppressor can comprise an outer tube defining a barrel axis, a first endcap configured to couple to a barrel of a firearm at a first end of the outer tube, and a spacer assembly in the outer tube. The spacer assembly can be positioned and/or captured between the first endcap and an exit side of the outer tube. The spacer assembly can comprise a plurality of spacers comprising a plurality of small and large diameter baffles oriented in different desirable positions within the spacer assembly. The baffles and spacers can be constructed from different materials so the weight of the baffles are greater than the weight of the spacers.

May 5, 2026

US12618632 - Off-axis serpentine flow chamber for firearm suppressors

A firearm sound suppressor can include an outer housing that defines a bore axis and an inner wall disposed at least partially within the outer housing. The inner wall can be oriented along the bore axis and includes a cylindrical central chamber. An annular chamber can be disposed between the outer housing and the inner wall. At least one helical partition can be disposed in the annular chamber to define at least one interleaved helical pathway through the annular chamber. Each interleaved helical pathway includes a first forward helical segment, a reverse helical segment sharing a first common wall with the first forward helical segment, and a second forward helical segment sharing a second common wall with the reverse helical segment. The first and second common walls can be distinct from one another.

Apr 28, 2026

US12613072 - Fluid pressure dampener with structurally improved baffles

A suppressor has an outer shell with a bore defined along a central longitudinal axis of the shell and fluidically coupling an entrance port to an exit port. Baffles enclosed within the outer shell each have a central aperture circumvolving the bore and a deflecting channel radially offset from the bore and in fluid communication with the central aperture. Each deflecting channel is formed by opposing sidewalls formed in a baffle and extending to a diversion wall. First and second openings of a deflecting channel fluidically couple the channel with the bore and with the volume enclosed by the outer shell. Each deflecting channel deflects propellant gases in a direction perpendicular to axial flow through the bore.

Apr 14, 2026

US12601556 - Firearm suppressor

A firearm suppressor including a first baffle segment with a cylindrical outer wall and a conical baffle core that defines a central opening, where a longitudinal length of the cylindrical outer wall is longer than a longitudinal length of the conical baffle core; and a second baffle segment comprising a cylindrical outer wall and a conical baffle core that defines a central opening, where a longitudinal length of the cylindrical outer wall is less than a longitudinal length of the conical baffle core.

Apr 14, 2026

US12601557 - Quick coupling muzzle booster and surpressor adaptor system for locked breech pistols and pistol caliber carbines

The present invention provides a quick coupling muzzle booster and suppressor adaptor system having a quick coupling muzzle booster and suppressor adaptor and direct rifle mount that can be coupled to a suppressor and mounted on a lock breech pistol or pistol caliber carbine. The system according to the invention provides wherein the quick coupling muzzle booster includes a booster slide with an external quick connect for coupling to the suppressor adaptor, and wherein the external quick connect of the booster slide includes a plurality of lugs corresponding to a proximal end of a housing of the suppressor coupling, and wherein the muzzle booster includes a booster piston that is coupled to a pistol. The system according to the invention may provide wherein the muzzle booster includes a booster piston nut with a spring, wherein the booster piston nut is coupled to the booster piston.

Apr 7, 2026

US12595983 - Diverging central bore for firearm sound suppressor

An apparatus and methods are provided for a front plate having a diverging central bore for firearm sound suppressors that improves noise and flash characteristics during firing a weapon. The central bore is disposed between a back surface and a front surface of the front plate. An untapered portion of the central bore extends from the back surface to a diverging portion that opens toward the front surface. The diverging portion includes a curvature profile configured to allow for more controlled expansion of high-pressure propellant gases exiting of the suppressor through the central bore. The curvature profile provides an included angle of the central bore that decreases secondary flash events accompanying the expulsion of propellant gases accompanying a fired bullet exiting the suppressor through the central bore. The curvature profile exhibits a cross-sectional area of the central bore that is proportional to a distance along the diverging portion.

Apr 7, 2026

US12595984 - Gun muzzle sound suppressor

A gun muzzle sound suppressor including a plurality of segments, wherein each segment among the plurality of segments including a cylindrical housing having an inner surface and an outer surface, wherein the each segment further includes a conical baffle fixedly attached to the inner surface of the each segment's cylindrical housing, wherein the each segment further includes a plurality of vanes fixedly attached to the outer surface of the each segment's cylindrical housing; an outer housing having an inner surface, wherein the outer housing is fitted for sliding receipts of the segments, wherein upon the receipts of the segments, the vanes contact the outer housing's inner surface; and a pair of rings fixedly attached to the outer housing, one the rings among the pair of rings being positioned muzzlewardly from a muzzleward-most segment among the plurality of segments, the other ring among the plurality of rings being positioned breachwardly from a breachward-most segment among the plurality of segments.

Mar 24, 2026

US12584707 - Firearm suppressor cover

A firearm suppressor cover ( 1 ), comprising a thermal insulator ( 3 ) which is, in use, configured to surround a firearm suppressor ( 4 ); and a curved spring ( 2 ) which is located at a first end of the cover and pre-bent into a shape of a ring, which is open at one point, the spring ( 2 ) being, in use, configured to tighten around the firearm suppressor ( 4 ) in order to tighten said thermal insulator ( 3 ) around the firearm suppressor ( 4 ) and to prevent the longitudinal movement of said thermal insulator ( 3 ) in relation to said suppressor ( 4 ).

Mar 10, 2026

US12571603 - Silencer for multi barrel weapon systems

A suppressor for a multi-barrel weapon system includes an adapter baffle configured to engage the weapon system and receive the muzzles of the barrels, a plurality of extension baffles configured to be aligned with and arranged in a stack on the adapter baffle, and an endcap baffle configured to align with the extension baffles and engage the final extension baffle in the stack. A plurality of projectile apertures in each baffle aligns with the muzzles to define a plurality of parallel bullet paths. Each projectile aperture can be in fluid communication with each other projectile aperture. Each extension baffle can include a plurality of internal vanes configured to circulate propellant gasses emitted from the muzzles of each barrel within an interior space at least partially defined by the extension baffle. The adapter baffle can define an expansion space in which propellant gases emitted from each muzzle comingle during discharge of the weapon system.

Feb 24, 2026

US12560396 - Assembly for a firearm

An assembly ( 1 ) for a firearm ( 2 ). The assembly includes a muzzle device ( 3 ) configured to be attached to the firearm ( 2 ), a substantially tubular muzzle adapter ( 9 ), a substantially tubular attachment mount ( 15 ), a substantially tubular clutch collar ( 19 ), and a device ( 23 ) such as a sound suppressor. The device ( 23 ) is releasably attached to the substantially tubular attachment mount ( 15 ) by an attachment device ( 25 ). The muzzle device ( 3 ) is configured to be releasably received in the substantially tubular muzzle adapter ( 9 ). The substantially tubular muzzle adapter ( 9 ) is attached to the substantially tubular clutch collar ( 19 ) for rotation about the longitudinal central axis A together with the substantially tubular clutch collar ( 19 ) with respect to the device ( 23 ), to the muzzle device ( 3 ) and to the substantially tubular attachment mount ( 15 ) between (i) a locking position, and (ii) an unlocking position.

Feb 10, 2026

US12547790 - Firearm sound suppressor with peripheral venting

An apparatus and methods are provided for a suppressor to be coupled with a muzzle end of a barrel of a firearm to reduce muzzle blast and muzzle flash. The suppressor comprises a housing having a proximal end and a distal end. A front portion within the housing comprises a series of cylindrical gas expansion chambers for attenuating the temperature and energy of propellant gases accompanying a projectile fired from the firearm. An annular gas expansion chamber surrounds the cylindrical gas expansion chambers and directs a portion of the propellant gases from a rear portion of the suppressor to peripheral vents disposed at the distal end. Lateral chambers within the rear portion deflect and rebound a portion of the propellant gases before passing them into the annular gas expansion chamber. Ledges within the annular gas expansion chamber direct the propellant gases distally through suppressor toward the peripheral vents.

Jan 27, 2026

US12535285 - End cap muzzle control

A firearm accessory and an end cap useful with the firearm assembly. The firearm assembly handles exhaust gas expelled with a round fired from a firearm and includes a fitting, a sleeve, a fluid pressure dissipation structure, and an end cap assembly located at a distal end of the fluid dissipation structure. The sleeve defines an internal volume that at least partially receives the fluid dissipation structure. The end cap assembly and the fluid dissipation structure at least partially define one or more distal chambers in communication with the internal volume. The end cap assembly defines an angled port.

Jan 20, 2026

US12529539 - Integrally suppressed barrel system for velocity reduction of loads

An integrally suppressed barrel system for a firearm, the system comprises a barrel having a series of transverse holes and a spiral groove forming machine-type threads of some dimension or specification, a gas block assembly configured to provide integration with the gas cycling system inherent to a firearm, a gas tube configured to protrude back into an upper receiver of the firearm, and a suppressor having a main housing. The main housing of the suppressor includes an inner wall, an outer wall, a series of holes and a base attached to the barrel through machine threads. The suppressor is fixed in a concentric pattern about the bore of the barrel.

Jan 20, 2026

US12529540 - Suppressor mount facility for a firearm

A suppressor mount facility for a firearm has a rear cap associated with a suppressor, an adapter having a facility for connection to a barrel associated with the firearm and defining an adapter bore, the rear cap defining an internally threaded cap bore, the adapter having an externally threaded portion configured to removably connect to the internally threaded cap bore in a connected condition, and at least one of the rear cap and the adapter having a flexible spring portion configured to bias against the other of the rear cap and the adapter when in the connected condition. There may be a plurality of springs arranged circumferentially about the adapter bore. The plurality of springs may be leaf springs. The plurality of springs may extend rearwardly from the threaded portion of the adapter.

Jan 13, 2026

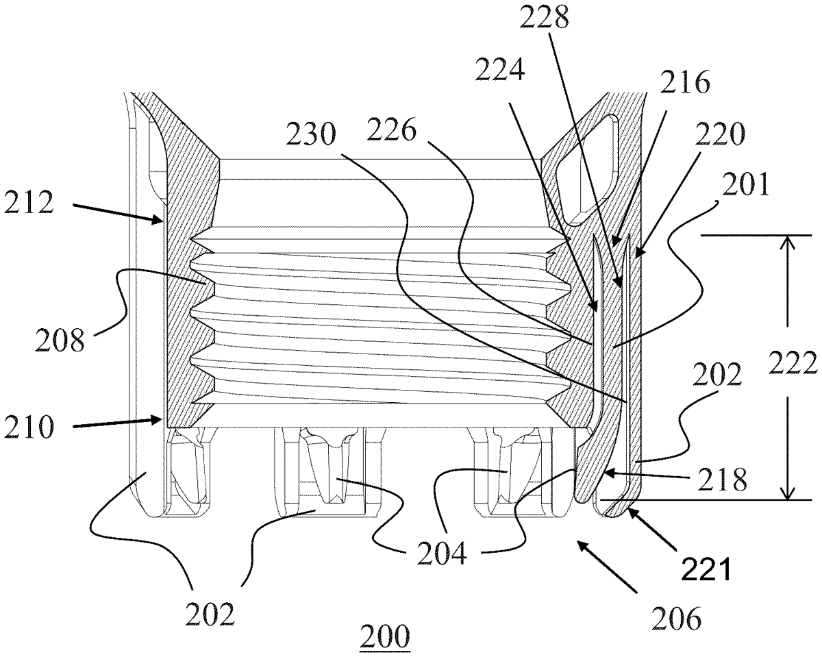
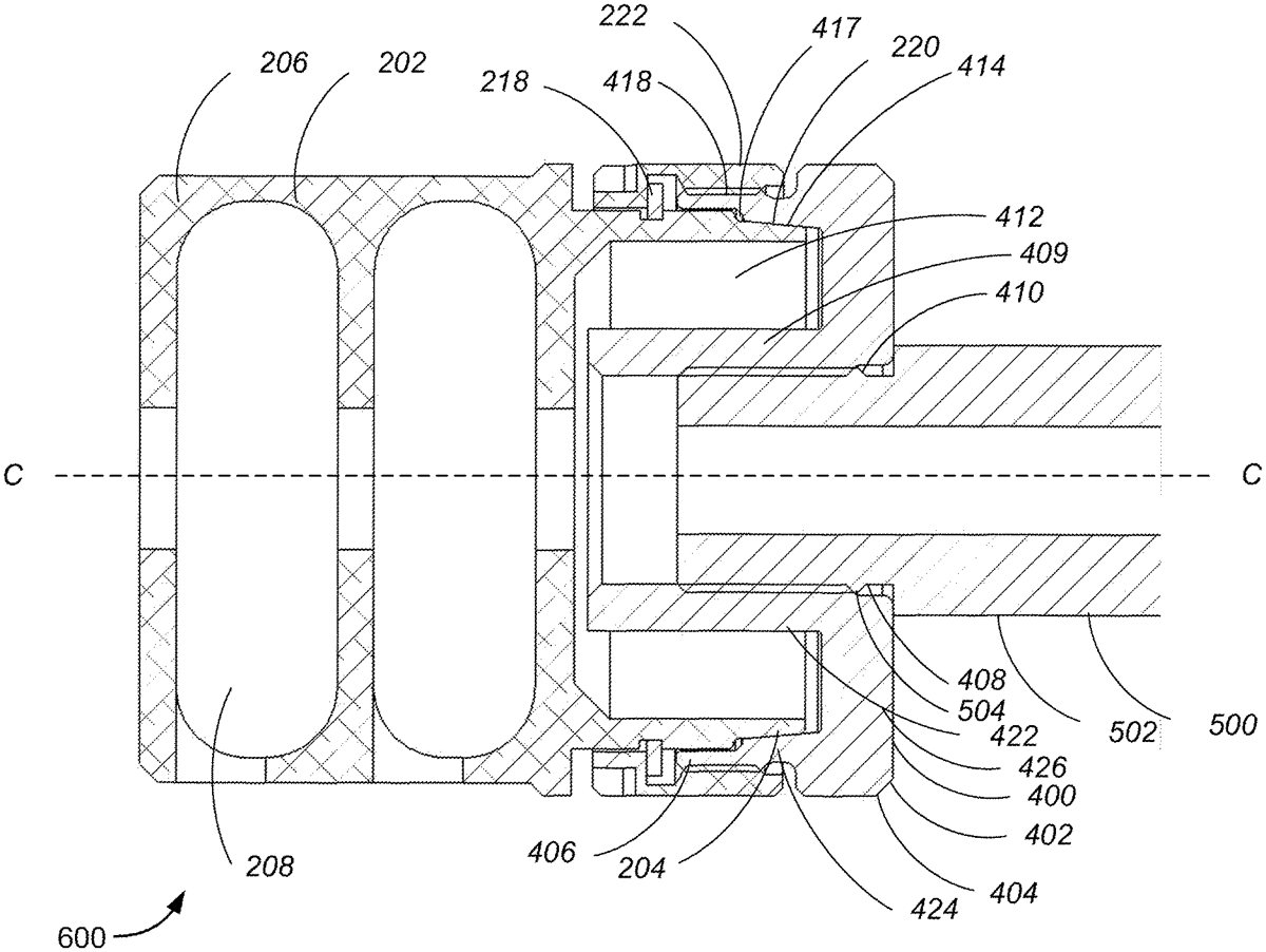
US12523439 - Firearm suppressor

A firearm suppressor ( 100 ) is disclosed that includes a plurality of fluid redirectors ( 202 ). The fluid redirectors ( 202 ) include vanes ( 402 ) in one of either a clockwise or counterclockwise configuration. The firearm suppressor ( 100 ) also includes an outer tube ( 102 ) disposed around the plurality of fluid redirectors ( 202 ). The fluid redirectors ( 202 ) are stackable and include an annular base ( 404 ) that tapers to a central opening ( 406 ), where the central opening ( 406 ) is configured to receive a projectile. Each vane ( 402 ) is configured to nest into the annular base ( 404 ) of a first adjacent stackable fluid redirector ( 202 ). A firearm is also disclosed and includes a barrel ( 1402 ) and the firearm suppressor ( 100 ).

Dec 2, 2025

US12487045 - Firearm suppressor

A suppressor assembly for a firearm includes a rear mount, a rear cap, at least one baffle on a forward side of the rear cap, and a front cap on a forward side of the at least one baffle. The rear mount includes an inner bore, a rear attachment interface, and a forward attachment interface. The rear cap is attached to the rear mount through the forward attachment interface. The rear attachment interface connects the suppressor assembly to the firearm. The front cap includes a plurality of exit holes that allow propellant gases to exit the suppressor assembly through the front cap.

Dec 2, 2025

US12487046 - Suppressor

A suppressor comprising a cylindrical housing ( 1 ) and a core ( 2 ) with radially located disk partitions ( 3 ) arranged along it, wherein the thickness of the disk partitions ( 3 ) decreases in the direction from the rear to the front of the suppressor, a number of gas openings ( 4 ) are provided along the core, a sound-absorbing material is placed in working chambers between two adjacent disk partitions ( 3 ), and clamping grooves ( 6 )—offset from each other—are provided in the core ( 2 ) yielding a torque to the core when gas escapes therethrough, the sound-absorbing material being a cooling mesh ( 7 ) formed in a structured package ( 8 ) with an annular shape, consisting of two folded accordion-like strips, one of said strips being folded radially and the other being folded axially in relation to the axis of the compressor.

Nov 18, 2025

US12474136 - Firearm suppressor with progressive rotation baffle arrangement

A firearm suppressor includes a first section along an axis; a second section along the axis downstream of the first section, the second section having a second section twist rate; a third section along the axis downstream of the second section, the third section having a third section twist rate, the third section twist rate greater than the second section twist rate; and a fourth section along the axis downstream of the third section, the fourth section having a fourth section twist rate, the fourth section twist rate greater than the third section twist rate.

Nov 18, 2025

US12474137 - Suppressor brake

A system for a firearm having a timeable brake and a suppressor. The brake comprises a brake body, a first taper, and a collar configured to rotate independently of the brake body. The suppressor comprises a second taper. When the brake body is oriented in a selected orientation with respect to the suppressor, a force is applied to wedge the first taper into the second taper and rotationally lock the selected orientation of the brake body. Rotation of the collar to a locked position then secures the brake body to the suppressor.

Nov 4, 2025

US12460887 - Suppressor

A suppressed firearm can include a firearm including a slide; and a suppressor configured to mount to the firearm, the suppressor including a suppressor cap, the suppressor cap defining at least one protuberance configured to rotationally interlock with the slide. A suppressor cap can include a flange defining a through hole, the through hole defining an axis; a first lug extending axially outward from the flange, the first lug defining a first radially inner surface; and a second lug extending axially outward from the flange, the second lug defining a second radially inner surface positioned parallel to the first radially inner surface, the axis centered between the first radially inner surface and the second radially inner surface.

Nov 4, 2025

US12460888 - Suppressor with gas cross flow and reduced back pressure

A suppressor for a firearm has a tubular housing extending along a bore axis from a proximal end to a distal end. A baffle stack within the hollow tubular housing extends along the bore axis and includes a tubular baffle wall with a plurality of baffle structures connected to an inside of the tubular baffle wall, where individual baffle structures taper proximally to a central opening on the bore axis. The suppressor defines an inner volume inside of the tubular baffle wall and an outer volume between the tubular baffle wall and the hollow tubular housing. Flow-directing structures in the outer volume include pairs of diverging vanes and pairs of converging vanes. A conduit between adjacent baffle structures defines a gas flow pathway in a radially outer portion of the inner volume and defines an opening located between the adjacent baffle structures to direct gas flow across the bore axis.

Nov 4, 2025

US12460889 - Suppressor connector for firearms

A suppressor connector has distal end threads operable to couple the suppressor connector to a suppressor device and proximal end threads operable to couple to a muzzle of a firearm. At least one flexible pawl is coupled to the suppressor connector and has a free-floating proximal end that terminates beyond the proximal thread end of the set of proximal end threads of the suppressor connector and has an engagement face on the free-floating proximal end. At least one outer hood has a distal end coupled to the suppressor connector proximate to the distal end of the flexible pawl and a free-floating proximal end that at least partially covers the free-floating proximal end of the flexible pawl and that extends beyond and substantially parallel to the free-floating proximal end of the flexible pawl.

Oct 21, 2025

US12449219 - Firearm suppressor and self-torquing feature

A suppressor for a firearm may include a core and a tube. The tube may be arranged around the core. The core may have a first longitudinal axis and include a first proximal end, a first distal, and a first end cap disposed adjacent to the first proximal end. The first end cap may include a proximal end wall and an opening for receiving a barrel of a firearm. The opening for receiving the barrel of the firearm may extend from the first proximal end to a first interior end wall. A bore may extend from the first interior end wall to the proximal end wall. The core may further include a first static vane spaced from the proximal end wall along the first longitudinal axis, and an array of baffles aligned with the bore, the array of baffles being arranged between the first static vane and the distal end.

Oct 21, 2025

US12449220 - Suppressor cover for rifle

A suppressor cover for a rifle has a first panel and a second panel that combine to form a tube, and a collar configured to wrap around the forward end of the tube. The panels have locking tabs configured to mate with corresponding rail slots on the rifle's handguard. The panels may have air vents.

Oct 14, 2025

US12442610 - Firearm suppressor assembly

A firearm suppressor assembly includes a modular suppressor which comprises a tube and a pair of end caps each being attachable to opposing ends of the tube and a plurality of baffles each being positionable within the tube such that a first bullet hole in each of the pair of end caps is aligned with a second bullet hole in each of the plurality of baffles. A bullet from a firearm passes through the first bullet hole in the end caps and the second bullet hole in each of the plurality of baffles when the modular suppressor is attached to a firearm. Each of the plurality of baffles has a plurality of gas holes is in fluid communication with a vent hole in the tube to pass combustion gases through the gas holes and the vent hole thereby reducing the intensity of the report of the firearm.

Oct 14, 2025

US12442611 - Modular suppressor with beveled segments

A suppressor for a gun is compatible with expanding projectiles (e.g., shot shells, pepper balls, bean bags, etc.). The suppressor includes a core configured to attached to a barrel of the gun and extend forward from the barrel. One or more baffles attaches to an external surface of the core between a rear end and a front end of the core. A housing generally surrounds the baffle and core. An end cap attaches to a front of the housing to define the front of the suppressor. The core includes a plurality of annular segments or bushings configured to limit expansion of the projectile as it traverses the suppressor, and the annular segments or bushings are spaced apart from one another and supported by rails.

Oct 7, 2025

US12435942 - Suppressor for a firearm

A suppressor for a firearm has a body defining an internal volume, a baffle in the body and defining a baffle aperture on a bore axis, a piston element including a mount facility configured for connection to the barrel, the piston element defining a piston bore registered with the bore axis, and the piston element operable to reciprocate with respect to the body along the bore axis between a rest position in which the piston element contacts the baffle and a recoil position in which the piston element is away from the baffle. There may be a spring interfacing the piston element and the body and be operable to bias the piston element to the rest position. There may be a second spring operable to interface the body and the piston element only when the piston element is in a range of positions proximate the recoil position.

Sep 9, 2025

US12410983 - Firearm suppressor with components of two or more materials

A firearm suppressor is provided, including a tubular core, a baffle carried within the core, and a tubular mount. The core may be attached end-to-end to the mount. A cap may be attached end-to-end to the core opposite the mount. An intermediate member may be included, extending between the mount and the cap, and residing outboard of the core. The intermediate member may be welded to the mount and to the cap. The mount, the cap, and the intermediate member may be composed of one or more of titanium, aluminum, resins, polymers, composites, carbon fiber, and ceramics, whereas the core and the baffle may be composed of one or more of cobalt, nickel alloy, steel, stainless steel, and cobalt alloy.

Sep 2, 2025

US12405078 - Compact space saving gun silencer

A compact silencer (suppressor) device for a firearm including multiple chambers which trap the gases from a projectile exiting the barrel of a gun to slow down the gases and reduce the temperature, sound, and flash associated with the projectile. In one embodiment, the first chamber which attaches to the barrel of the firearm includes sound baffling materials or gas porting baffles which vent gases from the second chamber passing rearward. The second chamber includes a chamber which can accommodate a retractable third chamber of the device, the second and third chamber of the device can have sound baffles to slow down the gases from the projectile.

Jul 29, 2025

US12372317 - Bolt carrier with gas exhaust pocket

A bolt carrier for gas impingement rifles equipped with a sound suppressor mechanism. The bolt carrier is configured to tortuously direct gas to a gas exhaust pocket and into a magazine well of the gas impingement rifle, thereby lessening ejection port light signature and significantly reducing the peak noise in the vicinity of the firer's ears. The gas exhaust pocket of the bolt carrier also improves the operator air quality and reduces bolt lug and chamber fouling associated with the other devices that have attempted to address the noise problem.

Jul 1, 2025

US12345491 - Diverging central bore for firearm sound suppressor

An apparatus and methods are provided for a front plate having a diverging central bore for firearm sound suppressors that improves noise and flash characteristics during firing a weapon. The central bore is disposed between a back surface and a front surface of the front plate. An untapered portion of the central bore extends from the back surface to a diverging portion that opens toward the front surface. The diverging portion includes a curvature profile configured to allow for more controlled expansion of high-pressure propellant gases exiting of the suppressor through the central bore. The curvature profile provides an included angle of the central bore that decreases secondary flash events accompanying the expulsion of propellant gases accompanying a fired bullet exiting the suppressor through the central bore. The curvature profile exhibits a cross-sectional area of the central bore that is proportional to a distance along the diverging portion.

Jul 1, 2025

US12345492 - Hybrid heterogeneous material baffle for firearm noise suppressor

Provided is a firearm noise suppressor baffle formed of at least two material zones. The zones are made of materials having dissimilar coefficients of thermal expansion from each other and have an interface substantially transverse to a bore axis. The baffle includes an annularly interrupting gap having a width. The gap is formed in at least one of the material zones and extends substantially longitudinal relative to the bore axis from an edge of the baffle.

Jun 24, 2025

US12339082 - Suppressor attachment system

A disclosed attachment system for a energy suppression device may include an energy suppression device and an attachment mechanism secured to the energy suppression device. The attachment device may include a first lever and a second lever, the first lever may be rotatable with respect to the second lever such that the first lever may apply a force against the second lever when in a locked position and the force may be reduced when the first lever is moved to an unlocked position. The first lever may have a slot having a width that tappers from a first end of the slot to a second end of the slot. The slot may be configured to receive a tool to apply additional force to move the first lever from the locked position to the unlocked position.

Jun 17, 2025

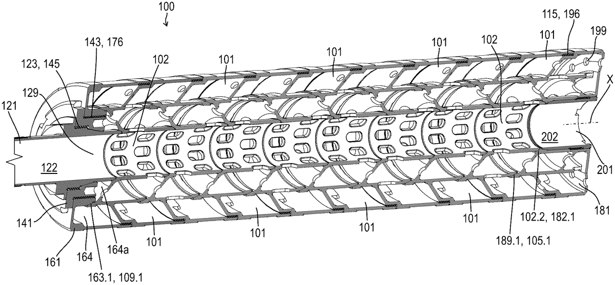
US12332008 - Firearm suppressor integrated with handguard

A suppressor assembly for a firearm having a receiver and a barrel connected to the receiver which includes a tube adapted to be coupled to the receiver and which serves as the handguard for the firearm. The tube circumferentially encloses and extends along the barrel and defines ports arranged proximate to the receiver and apertures arranged near the muzzle end. Near the ports is a modulator that adjusts the openings of the ports. Coupled to the end of the tube is noise suppression tube wherein orifices to vent propellant gases and a baffle assembly is disposed. Propellant gases expand within the expansion volume and exit the suppressor through the ports, the apertures, the orifices and through the opening for the bullet in the end cap.

Jun 10, 2025

US12326310 - Firearm noise suppressor

A suppressor system for a firearm having aligned sleeve openings between the barrel or a central tube and an inner sleeve. The suppressor system further includes dividers located between an outer sleeve and the inner sleeve. The suppressor system provides improved noise attenuation through the expansion of hot gasses multiple cavities in the suppressor system and also by slowing the hot gasses via tortuous pathways or collision of hot gasses in the suppressor system.

Jun 3, 2025

US12320602 - Firearm muzzle attachment apparatus

A mount for mounting a firearm sound suppressor or silencer to a firearm muzzle or muzzle device operates by using primary mounting lugs on the suppressor which engage sockets on the muzzle device. The primary lugs prevent the suppressor from axially moving with respect to the muzzle device, thus causing them to be fixed together as a unitary device. Angled bearing faces on the muzzle device and the sound suppressor are pressed against each other by rotating the sound suppressor on threads which drive the angled bearing faces together, thus tightening the primary lugs within their sockets. Backup lugs on the silencer engage an annular groove on the muzzle device to retain the silencer on the firearm to which it is mounted in case of failure of the primary lugs. Rapid attachment and detachment are supported by these structures.

Jun 3, 2025

US12320603 - Firearm sound suppressor

A sound suppressor for a firearm includes a housing, a first sleeve, and a second sleeve. The housing extends along, and is disposed about, an axis. The first sleeve is concentrically disposed within the housing and defines a plurality of first apertures. The second sleeve is concentrically disposed within the first sleeve and defines a plurality of second apertures.

Jun 3, 2025

US12320604 - Firearm sound suppressor

A suppressor for a firearm includes a housing, a cylindrical construct, and a structure. The cylindrical construct is disposed within the housing and surrounds a central pathway along a central axis of the suppressor. The cylindrical construct defines a plurality of apertures. The structure is disposed within the housing and surrounds the cylindrical construct. The structure extends along the central axis and includes a plurality of walls. The plurality of walls define a first fluid passage and a second fluid passage in fluid communication with the first fluid passage. At least one of the plurality of apertures is in fluid communication with the central pathway, the first fluid passage, and the second fluid passage.

May 27, 2025

US12313359 - Expansion-compression baffle

A suppressor baffle and a suppressor for a firearm. The suppressor includes a firearm attachment portion, a sleeve portion, and a baffle assembly with a plurality of baffles. At least one of the baffles includes a tubular body with a proximal exterior surface. The proximal exterior surface has a plurality of spaced-apart annular ridges. A first annular ridge includes a first annular compression surface and a first annular expansion surface, and a second annular ridge includes a second annular compression surface. The ridges are shaped and arranged to define a convex first expansion corner between the first annular compression surface and the first annular expansion surface, and a concave first compression corner between the first annular expansion surface and the second annular compression surface. Gas flowing along the proximal exterior surface expands at the first expansion corner and compresses at the first compression corner to dissipate energy in the gas.

May 27, 2025

US12313360 - Suppressor for a firearm

A firearm suppressor with a simple, light, easy-to-manufacture and easy-to clean is provided. In the device and solution provided, the propellant gas is not stopped inside the suppressor but directed to flow in a controlled manner through the suppressor and out of the suppressor. This significantly reduces the heating of the suppressor, the fouling of the firearm by propellant gases and gunpowder firing residues. Moreover, the solution reduces contact of the propellant gases with the shooter's face.

May 13, 2025

US12298096 - Firearm suppressor assembly, and apparatus and method for audible signature reduction of a firearm

A suppressor for a firearm is disclosed. The suppressor may have a first longitudinal axis and include a mount body for receiving a muzzle of a firearm barrel. The mount body may include a first proximal end, a first distal end spaced from the first proximal end along the first longitudinal axis, a collar adjacent to the first proximal end, and an annular stem adjacent to the first distal end. The annular stem may include a first outer side wall surface which comprises a first screw thread, and a first interior side wall surface which comprises a second screw thread. The suppressor further may include a core connected to the mount body, and a tube disposed over the core and the annular stem. The mount body, core, and tube may form a plurality of chambers for sound signature reduction of a host firearm.

Apr 15, 2025

US12276467 - Sound, flash, and heat dissipating firearm suppressor

Embodiments described herein relate to suppressors for reducing or eliminating sound, flash, and/or heat generated by firearms while discharging projectiles. The suppressor includes a unitary structure containing a cone shaped nozzle disposed at one end of a body. The body has a plurality of baffles surrounding a central bore, a breech end opposite a faceplate, and a plurality of cooling channels spanning a length of the body. Each cooling channel has a first opening at the breech end and a second opening at the faceplate. The unitary structure further contains an outer ring spanning from the breech end to at least the faceplate, a longitudinal wall spanning from the breech end to the faceplate, and a plurality of radially oriented walls extending between the longitudinal wall and the outer ring. The plurality of cooling channels is disposed between the longitudinal wall, the outer ring, and the radially oriented walls.

Apr 15, 2025

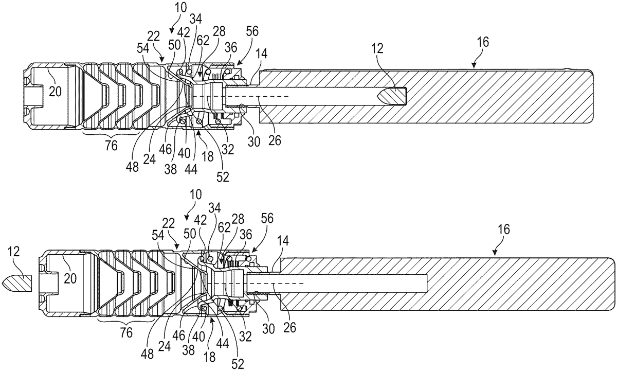
US12276468 - Firearm sound suppressor

A firearm accessory may include an elongate body having an end that is positioned adjacent to a firing end of a barrel of a firearm. The firearm accessory may also include a piston assembly that is located at least partially within the elongate body. A first end of the piston assembly may be configured to be secured to the barrel of the firearm. The piston assembly may also include an indexing ring positioned at a second end of the piston assembly. The elongate body and the piston assembly may be rotatable relative to one another about a longitudinal axis that extends from the first end of the piston assembly to the second end of the piston assembly. The firearm accessory may also include an orientation assembly that includes a pawl and a selector component for selectively disengaging the pawl with the indexing ring of the piston assembly.