Barrel

Patents tagged Barrel

May 19, 2026

US12631412 - Tapered barrel guides for firearms

A recoil operated gun or firearm utilizes a tapered guide face on a barrel guide and/or a tapered barrel face on a barrel of the gun to realign or zero the barrel relative to a sight device (e.g., optic or iron signs) mounted on the slide or forend supporting the barrel guide.

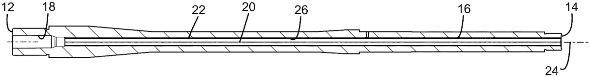
May 19, 2026

US12631416 - Suppression systems for firearms

The present disclosure relates to a suppression system for a firearm, including: a barrel having first and second portions, wherein a wall thickness of the second portion is less than that of the first portion; and an integrally mounted suppressor.

May 5, 2026

US12618628 - Forged carbon fiber rifle barrel

A method of forming a carbon fiber rifle barrel may include the steps of heating a barrel core to increase the length of the barrel, placing the barrel core inside a mold and holding the lengthened barrel in place, adding a carbon fiber mix to the mold in which the carbon fiber mix includes a blend of resin and chopped carbon fibers, sealing the mold, curing the carbon fiber mix surrounding the lengthened barrel core in which the cured carbon fiber mix holds the length of the barrel core creating a tension on the cooled barrel core which increases a rigidity of the rifle barrel thereby increasing the accuracy of the rifle barrel, removing the rifle barrel from the mold, and finishing the rifle barrel via grinding to a desired finish.

Apr 28, 2026

US12613077 - Barrel shroud for tilting barrel

A weapon accessory includes a barrel shroud that has left and right side walls from which rearwardly extends an attachment member. An upper member extends between upper portions of the left and right side walls. The upper member does not extend to a distal end of the barrel shroud, and instead a distal opening is left between the upper portions of the left and right side walls. This distal opening accommodates barrel tilt of a barrel extension.

Feb 3, 2026

US12540784 - Break-barrel firearm with mechanical extraction assembly

A firearm comprising at least one frame defining a housing seat of a barrel group; and a barrel group comprising at least one barrel with longitudinal development axis (A), the barrel group being mounted in a tilting manner with respect to the frame between a position in which the barrel group engages the housing seat and a position in which the barrel group is rotated with respect thereto. The barrel group comprises at least one extractor device associated with the barrel and configured to at least partially expel at least a portion of an ammunition from the at least one barrel. The extractor device is configured to selectively operate in a first mode in which it integrally ejects a casing of an exploded ammunition and in a second mode in which it accompanies part of an unexploded ammunition in partial exited from the at least one barrel.

Jan 27, 2026

US12535307 - Firearm barrel

A firearm barrel has an elongated body defining a bore and defining a bore axis, the body defining a breech end and an opposed muzzle end, a chamber defined in the breech end and contiguous with the bore; the bore having an interior surface having a plurality of alternating lands and grooves, the grooves being surfaces separated from the bore axis by first radius, the lands being surfaces separated from the bore axis by second radius less than the first radius and the lands and grooves being straight elements parallel to the bore axis, such that no spin is imparted to a projectile propelled down the bore. The lands and grooves may extend from the chamber to the muzzle end. The bore may have a constant cross-sectional profile along its length.

Jan 20, 2026

US12529539 - Integrally suppressed barrel system for velocity reduction of loads

An integrally suppressed barrel system for a firearm, the system comprises a barrel having a series of transverse holes and a spiral groove forming machine-type threads of some dimension or specification, a gas block assembly configured to provide integration with the gas cycling system inherent to a firearm, a gas tube configured to protrude back into an upper receiver of the firearm, and a suppressor having a main housing. The main housing of the suppressor includes an inner wall, an outer wall, a series of holes and a base attached to the barrel through machine threads. The suppressor is fixed in a concentric pattern about the bore of the barrel.

Jan 13, 2026

US12523437 - Multi-caliber firearm, a bolt and a barrel extension

A multi-caliber firearm includes a barrel extension configured to connect to an interchangeable barrel that is selected from at least two predetermined caliber sizes. An interchangeable magazine well receives a magazine that is selected to house cartridges from the predetermined caliber sizes. The magazine well includes a first end facing towards the stock and a second end facing towards the barrel extension. A bolt carrier group includes a bolt carrier and a bolt. A reverse movement unloads a used cartridge from the bolt and a forward movement loads a new cartridge from the magazine. The bolt carrier group receives an interchangeable bolt that is selected to load and unload one of the predetermined caliber sizes. The bolt includes a longitudinal cartridge retaining notch facing towards the magazine. The cartridge retaining notch is configured to retain the new cartridge in the magazine during the reverse movement.

Jan 13, 2026

US12523441 - Energy disperser for a firearm

A muzzle device with an inner core coupled to the barrel, and an outer sleeve coupled to the inner core. The inner core is sized so that it has a smaller outside diameter than an inside diameter of a gas block fitted to the firearm to which the inner core is to be attached.

Jan 6, 2026

US12516902 - Load balanced firearm barrel extension

A barrel extension configured to reduce the likelihood of premature bolt failure in automatic and/or semi-automatic style weapons. The barrel extension includes one or more cutouts within a body of the barrel extension. The cutouts are configured to reduce rigidity of the barrel extension proximal to the location of the cutout. As the rigidity around the extractor is lowered, the force on the bolt lugs is more evenly distributed. In one example, the cutouts are in the form of a single oval cutout positioned adjacent an extractor of the bolt.

Dec 23, 2025

US12504245 - Firearm receiver systems offering a fixed-barrel arrangement and pressure relief capability

A firearm receiver system comprises a receiver and a handguard. The receiver includes a front mounting body and a central bore configured for having a bolt carrier slidably disposed therein. The central bore includes a barrel-receiving receptacle at least partially located within the front mounting body. The handguard includes a handguard mounting body receptacle at a first end portion thereof. The front mounting body includes a plurality of interior surfaces each matingly engaged with a corresponding one of a plurality of exterior surfaces of the handguard mounting body receptacle. The receiver and the handguard may unitarily-formed body. The receiver may be configured for accommodating a barrel extension. The front mounting body may be configured for providing a fixed-barrel receiver system. The receiver may accommodate a pressure relief body for enabling the receiver to exhibit pressure relief functionality in the event of an over-pressure event within the receiver.

Dec 2, 2025

US12487054 - Bore sighting target mount

A system and method for calibrating a weapon using a precision barrel mount calibration system, wherein one or more components of the precision barrel mount calibration system are self-centering, and the system is configured to prevent scratching of an inner surface of the barrel.

Nov 25, 2025

US12480729 - Firearms, systems, and methods for quick connection of a barrel to a firearm

Firearms, components, systems and methods to quickly connect or remove a barrel to or from an upper receiver, the receiver including an elongated body defining a central bore and configured to receive a barrel of a firearm, a cam positioned within the receiver and oriented transverse the central axis where turning the cam locks a barrel into the receiver, and in aspects includes a spring which straddles the barrel and applies a force to a hand guard which in turn applies force to a rim of the barrel to lock the barrel within the upper receiver.

Nov 4, 2025

US12460886 - Reducing blow-by in firearms

A firearm barrel, including rifling formed of an alternating, spirally-extending plurality of grooves and lands defining a twist angle adapted for imparting rotation to a bullet being impelled through the barrel from a chamber end to and exiting a muzzle end. The plurality of lands each include a reduced width component communicating with the chamber end of the barrel for a predetermined distance towards the muzzle end of the barrel. The reduced width component defines an acute angle in relation to a longitudinal axis of the barrel adapted to cause a bullet being fired from the firearm to prevent blow-by gases to exit the barrel in advance of the bullet. A method of forming the firearm and barrel is also disclosed.

Oct 28, 2025

US12455134 - Quick take-down firearm

Quick take-down firearms and methods of using quick-take down firearms. The quick-take down includes an upper receiver coupling and a barrel coupling. The quick take-down can be unlocked by sliding a sliding lock collar in a translational motion to an unlocked position to release locking elements from a locked configuration. In the unlocked position, a barrel and handguard may be installed onto and removed from the upper receiver of the firearm. Releasing the sliding lock collar returns it to a locked position, securing the barrel and handguard to the upper receiver.

Oct 28, 2025

US12455136 - Quick take-down firearm

Quick take-down firearms and methods of using quick-take down firearms. The quick-take down includes an upper receiver coupling and a barrel coupling. The quick take-down can be unlocked by sliding a sliding lock collar in a translational motion to an unlocked position to release locking elements from a locked configuration. In the unlocked position, a barrel and handguard may be installed onto and removed from the upper receiver of the firearm. Releasing the sliding lock collar returns it to a locked position, securing the barrel and handguard to the upper receiver.

Oct 21, 2025

US12449221 - Assembly of a receiver with a barrel

An assembly of a receiver ( 1 ) with a barrel ( 4 ) wherein the barrel ( 4 ) is inserted into a barrel hole ( 7 ) in the receiver ( 1 ) and is attached in a replaceable manner by means of a clamping connection that comprises a longitudinal slot ( 2 ) that longitudinally divides the receiver ( 1 ) wall in the insertion location of the barrel ( 4 ). In the location of the longitudinal slot ( 2 ) at least two transversal screws ( 3 ) pass through the receiver ( 1 ). In the location of the longitudinal slot ( 2 ), a transversal hole ( 5 ) extends into the receiver ( 1 ) and a transversal pin ( 10 ) passes through the transversal hole ( 5 ) in such a way that the transversal pin ( 10 ) reaches into a corresponding transversal recess ( 9 ) in the barrel ( 4 ). Perpendicularly to the longitudinal axis of the transversal pin ( 10 ) a threaded hole ( 11 ) with a connecting screw ( 12 ) passes through the transversal pin ( 10 ). The connecting screw ( 12 ) further passes through a straight-through hole ( 6 ) in the receiver ( 1 ) and through a stock/frame ( 13 ) of the firearm to connect the receiver ( 1 ) to the stock/frame ( 13 ) of the firearm.

Sep 30, 2025

US12429299 - Firearm barrel with non-metal outer sleeve

A firearm barrel with non-metal outer sleeve preferably includes an elongated tube, a first non-metal tube, a second non-metal tube, a sleeve nut and a coupler bushing. A first raised sleeve support section and a raised coupler section are formed on the elongated sleeve. The raised coupler section is formed in substantially a middle of the elongated tube. The bushing inner diameter is sized to slidably receive an outer diameter of the raised coupler section. The first and second non-metal tubes include a tube inner diameter and a plurality of openings formed through a wall thereof. The tube inner diameters are sized to slidably receive an outer diameter of the first raised sleeve support section and each end of the coupler bushing. The sleeve nut retains the first and second non-metal tubes and the coupler bushing on the elongated tube. A second embodiment includes a single non-metal tube.

Sep 9, 2025

US12410977 - Firearm

A firearm, comprising a frame ( 1 ) in which a breech block carrier ( 4 ) is arranged, as well as a barrel ( 2 ) behind the rear face ( 3 ) of which the breech block ( 5 ) is arranged in the frame ( 1 ). The barrel ( 2 ) is firmly connected to a barrel sleeve ( 6 ). The barrel sleeve ( 6 ) is slidingly mounted in a linear guide in the frame ( 1 ). The breech block ( 5 ) is mounted behind the rear face ( 3 ) of the barrel ( 2 ) slidingly in the direction of the barrel ( 2 ) axis. The breech block carrier ( 4 ) is slidingly mounted in a linear guide in the frame ( 1 ). On the top side of the breech block ( 5 ), a vertically movable locking block ( 9 ) is arranged, and the locking block ( 9 ) can be introduced into a recess ( 10 ) in the barrel sleeve ( 6 ). The frame ( 1 ) is provided with a front stop ( 12 ) of the barrel sleeve ( 6 ) and a rear stop ( 13 ) of the barrel sleeve ( 6 ). The barrel sleeve ( 6 ) is provided with a front stop ( 15 ) of the breech block ( 5 ), and a rear stop ( 16 ) of the breech block carrier ( 4 ). A barrel spring ( 14 ) is arranged between the frame ( 1 ) and the barrel sleeve ( 6 ).

Sep 9, 2025

US12410984 - Adaptable handguard

A system and method for an adaptable handguard. The system includes a receiver adapter configured to couple with a firearm via an adapter nut. The receiver adapter has a tapered inner wall and the adapter nut has a tapered outer wall. There is a barrel adapter assembly which couples to a barrel. The barrel assembly has a tapered downstream outer wall. There is a housing which fits around the barrel adapter assembly. The housing has one or more latches to couple with the receiver adapter. This allows for quick and easy changing of barrels once the system is installed.

Jul 29, 2025

US12372112 - Barrel nut positioning frame

A barrel nut positioning frame for maintaining a barrel nut in a desired position in a bore of a component is disclosed having a frame body configured to receive a barrel nut therein, the frame body being adapted to fit, together with a received barrel nut, within a bore, and a bore engagement element configured to engage with a positioning feature in the bore so as to restrict movement of the frame within the bore.

Jul 29, 2025

US12372321 - Conversion kit for replacing a barrel on a service weapon with a training barrel to fire reduced energy training rounds

A conversion kit for installation into weapon to replace the service barrel with a sub-caliber barrel for firing reduced energy training cartridges. The conversion kit includes a barrel sleeve, a barrel support and a collet disposed between in the barrel support for fixedly securing the barrel sleeve therein. The collet is disposed in a double tapered bore formed in the barrel support for fixedly securing the barrel sleeve at both ends of the collet into the barrel support. A flash hider, which has been removed from the service barrel, is threadably received in the barrel support and functions as a collet nut for clamping the collet onto the barrel sleeve.

Jul 29, 2025

US12372338 - Method of reducing gun barrel heating

A cartridge includes a bullet on which there is formed a coating. At least an upper layer of the coating is porous and comprises a thermoset polymer and a filler. The filler may be a dry film lubricant. The cartridge may be used in a gun of the type that has a rifled barrel. A rifled barrel has a bore diameter and a groove diameter. The bullet may have a metal diameter that is less than the groove diameter but slightly greater than the bore diameter. The coated bullet may have a diameter that is greater than or equal to the groove diameter. When fired, the bullet produces less barrel friction and heating than a conventional bullet. The velocity of the coated bullets is greater and the velocity distribution is more narrow compared to uncoated bullets.

Jul 22, 2025

US12366425 - Muzzle-mounted devices

An assembly directing gas to an action of a firearm has a barrel with a bore and a forward sealing surface. A gas block has a bore, a port for directing gases from the block bore through the block port, a rearward sealing surface for sealingly mating with the forward sealing surface of the barrel, and a forward sealing surface. A component has a bore and is attached to a forward end of the barrel, the component bore being in fluid communication with the barrel bore. At least one port communicates the component bore with the block port, the component having a rearward sealing surface for sealingly mating with the forward sealing surface of the gas block. A portion of the component rearward of the rearward sealing surface is received within the bore of the gas block. The barrel and component cooperate to sealingly retain the gas block therebetween.

Jul 15, 2025

US12359887 - Firearm barrel with outer sleeve

A firearm barrel assembly having a barrel tube and an outer sleeve. A sleeve nut is threaded on the barrel tube to retain the outer sleeve on the sleeve nut and to tension the barrel tube.

Jul 1, 2025

US12345490 - Extended life composite matrix-wrapped lightweight firearm barrel

A firearm barrel and a method for manufacturing the same are disclosed. In some embodiments, a barrel for a firearm may be provided. The barrel may comprise a chamber, an entire geometry of which is formed to a final depth. After providing the barrel with the entire geometry of the chamber being formed to the final depth, a material modification process that modifies one or more properties of the barrel may be performed. After performing the material modification process, a composite matrix wrapping that surrounds an outer circumference of the barrel over a length of the barrel may be applied.

Jun 24, 2025

US12339085 - Customizable firearm system

A customizable firearm system includes a chassis. A barrel assembly is disposed in the chassis. The barrel assembly including a trunnion and a barrel nut assembly. The barrel nut assembly includes an outer barrel nut sleeve and an inner barrel nut sleeve receiving a barrel. The barrel nut assembly is removably disposed in the trunnion. A bolt carrier assembly is disposed in the chassis. The bolt carrier assembly includes a backplate assembly and a pair of guide rods. Each of the guide rods have a first end disposed in the backplate assembly, and a second end disposed in the trunnion. A bolt carrier slidably disposed on the guide rod.

May 20, 2025

US12305945 - Heat shield and firearm including the same

A heat shield is for a firearm. The firearm includes a barrel, a magazine tube extending parallel to and being coupled to the barrel, and a magazine tube cap coupled to an end of the magazine tube. The barrel has a barrel ring coupled to the magazine tube. The heat shield includes a perforated shroud, a rear ring provided with the shroud, and a front bracket provided with the shroud. The rear ring and the front bracket are each configured to receive at least one of the barrel and the magazine tube therethrough in order to removably couple the heat shield to the barrel.

May 20, 2025

US12305949 - Firearm assemblies with multiple gas ports

An assembly for directing propellant gas to an action of a firearm includes a barrel and a gas block. The barrel has a plurality of gas ports that communicate with the bore of the barrel. The barrel and the gas block define a passage that receives pressurized propellant gas from the bore by way of the barrel gas ports, and directs the propellant gas to a gas port of the gas block. The plurality of barrel gas ports and the passage act as a manifold in which the propellant gas is taken from multiple locations within the barrel, combined into a single flow, and directed into the gas block via the gas block gas port. The pressurized gas is then routed to an action of the firearm by way of a gas tube and a gas key.

May 13, 2025

US12298098 - Firearm barrel having at least one barrel gas port and method of manufacturing the same

Various embodiments are directed to a barrel for a firearm. In various embodiments, a barrel comprises an inner surface defining a bore configured to guide a projectile as the projectile is propelled through the bore by pressurized gas; and a barrel gas port having a gas port depth extending between a port entrance defined by the inner surface of the barrel and a port exit, wherein the barrel gas port is configured to fluidically communicate with the bore and an action of the firearm; wherein the port entrance defines a length dimension defined parallel to a longitudinal axis of the barrel and a width dimension defined perpendicular to the length dimension; and wherein the length dimension of the port entrance is greater than the width dimension of the port entrance. Various embodiments are directed to a firearm comprising the exemplary barrel.