Holster

Patents tagged Holster

May 12, 2026

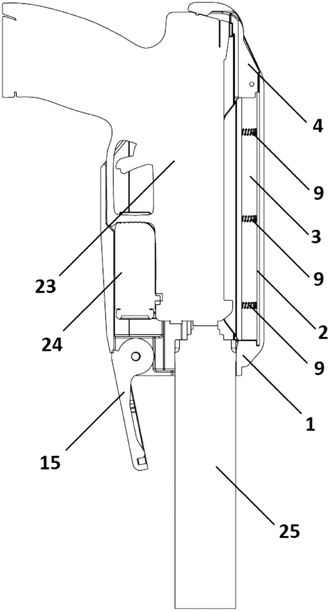
US12624919 - Front-opening handgun holster

A handgun holster is provided herein which permits the removal of the handgun through the front of the holster as opposed to the traditional vertical removal of the handgun from the holster. The handgun holster comprises a housing having an internal cavity. The housing is defined by two parallel sidewalls which are a fixed distance apart, a fixed rear spacer wall and a front hinged spacer wall. The handgun can be removed from the holster when a person is in a seated position and/or in a more natural motion. This allows the handgun to be more readily produced for use in situations where a user may be in a vehicle, a tight space, or when the holster is mounted horizontally. The hinge is kept closed with sufficient pressure being provided by torsion springs in a hinge mechanism. However, the front hinged spacer wall can be moved to an open position by lifting the gun into a frontal position.

May 5, 2026

US12618642 - Universal holster

A universal holster is disclosed, including a sleeve body and a first adjustable component. The sleeve body has a chamber, and the first adjustable component includes a first bracket, a connecting rod, a movable part and an adjustable part. The first bracket is rotationally connected with respect to the sleeve body and one end of the connecting rod is rotationally connected to the first bracket, a rotational connection point between the connecting rod and the first bracket is eccentric to a rotational connection point between the first bracket and the sleeve body, another end of the connecting rod is rotationally connected to the movable part, the adjustable part is connected with the movable part, and the adjustable part is used to drive the movable part for movement. The universal holster can be suitable to different models of pistols.

May 5, 2026

US12618643 - Handless shoulder-fire firearm carry system

A handless shoulder-fire firearm carry system for securing a shoulder-fire style firearm to a user moving in a walking pace or in a running pace includes a firearm including a frame having a first section, a second section, and a center section. A belt is worn about a waist of the user. An anchor is coupled to the belt and secures the firearm to the belt. A vest is worn on a torso of the user. The vest holds the firearm in a downward position relative to the user. A pair of securing attachments is coupled to the firearm. Each of the securing attachments facilitates securing the firearm to the anchor. The pair of securing attachments includes a first securing attachment facilitating securing the first section of the firearm to the anchor and a second securing attachment facilitating securing the center section of the firearm to the anchor.

Apr 21, 2026

US12607432 - Holster for conducted energy device with control access

The present invention discloses a holster for a conducted energy device. The holster comprises a holster body having a cavity to receive the conducted energy device. The conducted energy device comprises one or more switches to control one or more functions of the conducted energy device. The holster further comprises one or more access modules integrated at an outer surface of the holster body. The access module is configured to activate the switches while the conducted energy device is secured within the holster to control the functions including energization of the conducted energy device. The access module includes an opening to expose the switch. The opening enables a user to access the switch.

Mar 31, 2026

US12590785 - Target pins and target pin holster system

A target pin holster system includes target pins, which are used to secure a paper target face to a penetrable archery target, and a holster that securely stores the target pins when they are not in use. Each target pin houses an embedded magnet which is attracted to a magnet embedded in the target pin retention holster resulting in safe and secure storage for the target pins when they are not in use.

Mar 24, 2026

US12584710 - Adjustable, interchangeable holster

A passive retention holster including a holster body and at least one compatible holster accessory, wherein the holster body includes a cavity, configured to realisably receive and retain a preselected handgun frictionally therein. The holster body is provided with a first adjustable attachment formation, located on one side of the holster body, wherein the first attachment formation is dimensioned and configured to render the body operatively securable, adjustably, to the compatible holster accessory; and a second adjustable attachment formation, located on an opposing side of the holster body, relative to the first attachment formation, wherein the second attachment formation is dimensioned and configured to render the body operatively securable, adjustably, to the compatible holster accessory. The compatible holster accessory is provided with a corresponding attachment formation, dimensioned and configured to render the compatible holster accessory operatively securable to the opposing sides of the holster body.

Mar 10, 2026

US12571609 - Quick release holster

A holster assembly includes a holster having an interior shaped to receive a handgun, and an entrance. An ejection port restraint pivotally connected to the holster includes a latch and is biased toward an obstruction position for engaging the latch with the ejection port of the handgun. A release device mounted on the holster body is configured to actuate both the ejection port restraint and the hood restraint, each toward the respective non-obstruction position thereof, in response to a single movement by a user to allow the handgun to be withdrawn from the holster.

Feb 24, 2026

US12560405 - Multi-directional adjustable holster hanger

The present invention is directed to various embodiments of a multi-directional adjustable holster hanger device configured to be coupled with a holster that can be independently adjusted in a plurality of separate spatial orientations relative to the body of a user to provide a personalized holster configuration to accommodate a rapid and consistent draw of a holstered firearm.

Feb 10, 2026

US12546563 - Sensor mount holster

A holster for an implement, such as a handgun, includes a holster body and a sensor mount integral to the holster body. The sensor mount has a mounting surface for mounting a sensor, an opening through the mounting surface to an interior of the holster body, and a sensor mount guide comprising a raised portion extending at least partially around a periphery of the mounting surface.

Feb 10, 2026

US12546564 - Locking belt slide

A locking belt slide assembly is used to mount and to support an implement (such as a handgun, for example) or an implement holster (such as a handgun holster, for example), or the like (e.g., various pouches, holders, accessories, etc.), in a variety of configurations. The locking belt slide assembly includes at least two pivotally coupled hard mount components with features that form a locking receiver when pivoted into a parallel arrangement. A mounting adapter may be inserted into the receiver.

Feb 3, 2026

US12540791 - Method of making a gun holster

A method of making a holster for a gun includes selecting a starting polymer material, a starting leather material, and a gun model; preparing a first side of the polymer material by creating texture on the first side; adhering the polymer material and the leather material together to create a combined material; cutting the combined material into a specific shape as determined by the gun model and a desired holster model; stitching around a perimeter of the cut combined material with a pre-selected thread to render a stitched combined material; heating up the stitched combined material to above a predetermined temperature; forming the stitched combined material to a specific shape associated with the gun model and the holster model; and allowing the stitched combined material to cool into the specific shape associated with the gun model and the holster model to render the holster.

Jan 27, 2026

US12535290 - Holster facilitating master grip

A polymer holster has an index finger slot on a distal wall portion of the holster for allowing a user to grip a handgun therein with a master grip before withdrawing the handgun therefrom. A thumb actuated release may be positioned on a proximal wall portion of the holster.

Jan 27, 2026

US12535292 - Systems and methods of handgun and holster safety and security

A method for securely maintaining a handgun in a holster is provided. The method comprises a secure handgun holster receiving, at a circuit board within the holster, contact from a lever within the holster, the contact resulting from pushing action of the lever; The method also comprises the holster waking up the circuit board based on the received contact. The method also comprises the holster verifying, via an authorized user detection process executed at least by the circuit board, that a provider of the push action is an authorized user of a handgun presently held by the holster. The method also comprises the holster activating, based on the verification, an unlocking process. The method also comprises the holster releasing the handgun based on completion of the unlocking process.

Jan 27, 2026

US12535294 - Printing prevention systems

A printing prevention system that utilizes a contact pad connected to a concealment wing for enhancing the concealment and use of a firearm in a holster. In one implementation, the apparatus comprises a body member of a concealment wing attachable to a holster and a removable contact pad attached to the body member. The contact pad comprises a waistband contact surface to leverage the pressure from the user's waistband to draw the grip of a firearm closer to the user's body and an angled ramp surface to assist positioning of the holster within a waistband or belt. The position of the contact pad may be adjustable relative to the body member so that the contact pad can stay in contact with the user's belt with a variety of different placements of the belt clip on the holster.

Jan 13, 2026

US12523444 - Handgun holster with retention mechanism

A holster includes a holster housing having an opening for inserting therethrough a weapon, a retention release lever including a shaft that has a pusher member and an inclined surface, and a holster retention tab pivotally coupled to the holster housing by a pivot element. The holster retention tab includes a catch, which lockingly engages an ejection port of the weapon when the weapon is inserted into the holster housing, and a force inclined surface. A biasing device is mounted in the holster housing to apply an urging force on the holster retention tab so as to retain the catch in the ejection port when the weapon is inserted into the holster housing. The inclined surface pushes against the force inclined surface, thereby creating a force vector that causes the holster retention tab to pivot about the pivot element and overcome the urging force of the biasing device and release the catch from the ejection port.

Dec 9, 2025

US12492883 - Holster

A holster for carrying a handgun of the type having a front section including a muzzle, a middle section including a trigger guard, and a back section including a grip, includes a holster upper section with walls configured to substantially enclose the middle section of a handgun when the handgun is carried in the holster. The holster also includes a generally open holster web portion that extends forward from the holster upper section and that defines a window through which is visible a substantial portion of the front section of a handgun when the handgun is carried in the holster.

Oct 7, 2025

US12435949 - Deep concealment holster assembly

Example implementations relating to a deep concealment holster assembly are disclosed herein. In one particular implementation, a holster specifically designed and/or structured for a waist belt concealment may be adapted for a deep concealment.

Sep 23, 2025

US12420525 - Re-moldable holster

A holster for a firearm is disclosed. The holster includes a first layer, a second layer and a third layer sandwiched between the first layer and the second layer. The first layer is made of a first material and defines an outer surface of the holster. The second layer is made of a second material and defines an inner surface of the holster. The third layer is made of a thermoplastic composite material with fibers embedded in a thermoplastic resin. A heating of the holster between a predetermined temperature range softens the third layer to facilitate a molding of the holster.

Sep 23, 2025

US12422217 - Firearm holster with safety features

A device implementable on a firearm includes a holster including a case with a void therein. The void is configured to accommodate the firearm such that the firearm is at least partially received in the void responsive to the firearm being holstered in the void. The case further includes at least one physical feature configured to engage with at least one portion of the firearm as the firearm is inserted into the void to be holstered such that the firearm is rendered inoperable while being holstered.

Sep 16, 2025

US12416470 - Holster with retention device and related methods

A holster is for a firearm and may include a holster body having a proximal wall to be adjacent a user, a distal wall opposite the proximal wall and defining a cavity to receive the firearm, a first longitudinal side coupling the proximal wall and the distal wall, and a second longitudinal side opposite the first longitudinal side and coupling the proximal wall and the distal wall. The holster may include a first retention device having an anchor body coupled between the proximal wall and the distal wall at the second longitudinal side, a flexible arm extending from the anchor body and to press against the firearm when in the cavity, and an adjustable feature carried by the anchor body and configured to bias the flexible arm against the firearm.

Sep 2, 2025

US12405082 - Thumb-actuated locking holster

A holster for receiving and withdrawing a handgun has a proximal wall portion with a handgun retention mechanism thereon. The mechanism having a first lever with a tab portion for actuation and release of a trigger guard, the lever having a snap fit into a lever region without a separate pin. A belt engaging member covers the lever region capturing the first lever therein. If a second retention mechanism is used, another lever with a tab portion is positioned so the tabs are stacked, depressing one also depresses the tab behind it, such that both mechanisms are released. Overmolded polymer layers in the holster body provides a softer interior handgun engagement surfaces. The holster body is split forwardly with a threaded fastener for clamping onto the handgun. No holster body is beneath or rearward of the tab portion, configured as a thumb button, allowing smooth transition to gripping the handgun.

Aug 5, 2025

US12379184 - Trigger guard stabilizer

A trigger guard stabilizer for a holster provides trigger guard side-to-side support. Because the trigger guard stabilizer is spring-loaded, and can be depressed into a receiving pocket, it automatically moves downward out of the way if a taller light passes over the stabilizer top during a holstering action. Once the light has passed over the stabilizer, the stabilizer springs back into a position with portions that extend on either side of the trigger guard. This helps to hold the trigger guard centered laterally in the holster, thus impeding unwanted access to the trigger.

Jul 15, 2025

US12359890 - Firearm holster with backside tensioning

A firearm holster that includes a back pad having front and back sides. The firearm holster includes a rigid front plate connected to the front side of the back pad. The front side of the back pad and the rigid front plate define a pocket. The firearm holster includes a first tensioning mechanism connected to the back side of the back pad. The first tensioning mechanism is configured to vary tension applied to a firearm within the pocket. The firearm holster may include a second tensioning mechanism connected to the back side of the back pad. The second tensioning mechanism is configured to vary tension applied to the firearm within the pocket. The orientation of the tensioning mechanisms may be varied to vary the tension applied to a firearm positioned within the pocket of the holster. One or more compressible washers may be used to vary the tension.

Jul 8, 2025

US12352529 - Holster, holster accessory, and related methods

A firearm holster has a holster body that includes a plurality of walls defining a encasement for the firearm and an opening for inserting the firearm into that encasement. The walls include an interior wall, as well as an exterior wall disposed opposite the interior wall. The holster also includes a first magnetic element disposed on the holster body, and a second magnetic element that is configured to cooperate with the first magnetic element to magnetically attract the first and second magnetic elements to one another. The second magnetic element includes a coupler for coupling the second magnetic element to an article of clothing.

Jun 17, 2025

US12332018 - Pistol holster

A pistol holster which is formed by a rigid hollow body which fully covers the entire firearm except for the grip and thus protects it from damage, containing a longitudinal inner cavity situated inside and, under the back of the holster in which cavity there is movably and flexibly seated firearm sight guide, engaged in the holes in the body of which guide are spring elements mounted and locked therein, which also fit against the flat locking plate in the cavity of the holster with the holster also containing a sight cover to secure the position of the sight guide with the locking plate and spring elements in the cavity.

May 6, 2025

US12292257 - Holster cover device

A holster cover device that is capable of covering a strap having a firearm holster secured thereto with a firearm therein. The device may include a sleeve component having an elongated body, an internal cavity extending through the body, and a pair of openings to the internal cavity at ends of the body, and a pocket component having a body with sides that define therebetween an internal compartment, an opening to the internal compartment at an end of the body, and connection members configured to releasably couple to ends of the sleeve component such that the sleeve component forms a closed loop. The internal cavity of the sleeve component is configured to receive the strap and the internal compartment of the pocket component is configured to receive the firearm holster while the firearm holster is secured to the strap and has the firearm therein.

Apr 15, 2025

US12276478 - Firearm holster

A firearm holster has an outer wall, extending between a muzzle end and a breech end, defining a cavity configured to receive a firearm. A magnet and/or magnet assembly may be included, wherein the magnet is at least partly in the cavity at the muzzle end. The magnet assembly is coupled to the muzzle end and includes a magnet housing coupled to the outer wall and connected to the magnet. The holster may include a protruding wedge on a side panel of the outer wall, wherein the protruding wedge comprises a surface formed at an angle from the longitudinal holster axis. The wedge presses against a user's body to help alleviate the holster sagging. The holster may also have a spacer assembly, a portion of which can be configured to press against a user's body to achieve a desired resting angle of the holster.