Sight

Patents tagged Sight

May 19, 2026

US12631426 - Adjustable rear sight used for adjusting height and direction during firearm aiming

The invention relates to the design of an adjustable rear sight assembly which is developed for improving the low hit rate that is caused by user or external errors in the daily use of firearms ( 4 ) and/or professional marksmanship contests; which provides a more stable shooting for the user by producing the fixed rear sight piece used in aiming the firearm ( 4 ) with adjustable height and direction. The rear sight lever ( 1 ), sliding rear sight ( 3 ) and closure part ( 2 ) form the rear sight assembly by being mounted to each other. The adjustable rear sight assembly is also formed on the firearm ( 4 ) and can be connected to the mounting surface ( 12 ).

Apr 14, 2026

US12601564 - Alignment guidance system

A combined sight and optic sight mount securable to an upper surface of a firearm comprising: an aperture frame including: a stationary aft aperture frame; and a movable aft aperture sub-frame situated within the stationary aft aperture frame and comprising: opposed vertical sidewalls, a top wall connecting the opposed vertical sidewalls, and a pair of substantially horizontal planar aiming reference members extending inwardly from the vertical sidewalls and defining a gap therebetween.

Apr 14, 2026

US12601904 - Ranging and ballistic display optical sight

The invention relates to a ranging and ballistic display optical sight featuring a mounting bracket, control mainboard, laser emitter, and receiver. An objective lens group and beam splitter prism are arranged coaxially, with the prism positioned above the laser receiver. The laser beam emitted is reflected by the prism into the receiver. A digital reticle plate, aligned with the optical path, displays the range data. The control mainboard calculates distance based on the time difference between laser emission and reception, then displays the result on the reticle. This system enhances shooting precision and efficiency.

Apr 7, 2026

US12596265 - Aiming device with a diffractive optical element and reflective image combiner

A diffractive optic reflex sight (DORS) is provided for aiming devices in which a virtual image, such as a reticle, is produced and appears in the distance of a user's view when looking through the reflex sight. A light source illuminates a diffractive optical element (DOE) that includes a modulation pattern that generates a patterned illuminations corresponding with the virtual image. A reflective image combiner then reflects the patterned illumination so that the virtual image appears in the distance of the viewer's view. The DORS optical design system is mechanically and optically stable for precision aiming across a range of environmental conditions and in different use scenarios or applications including use in rapidly changing temperatures, varying light conditions, and a wide range of user proficiencies. The DORS optical design system is a readily manufacturable aiming and sighting device for a wide range of applications from handguns to astronomical telescopes.

Mar 31, 2026

US12590782 - Archery bow sight support systems

The disclosed technology includes a support system for an optical sighting device of a bow. The support system includes a support structure configured to attach to a bow and an elevation assembly configured to move along an elevation direction relative to the support structure. The support structure can include an elevation actuator configured to cause the elevation assembly to move along the elevation direction when the elevation actuator is actuated and a windage assembly configured to move along a windage direction relative to the support structure. The windage direction can be approximately perpendicular to the elevation direction. The support structure can further include a windage actuator configured to cause the windage assembly to move along the windage direction when the windage actuator is actuated. The windage actuator can be disposed at least partially in the elevation actuator.

Mar 24, 2026

US12584713 - Adjustable aperture axis peep sight device

An adjustable aperture axis peep sight device is disclosed with an outer ring having a first axis, and an inner body member having a second axis. The first axis of the outer ring forms a sight angle with the second axis of the inner body member. A first partially spherical surface is formed on the outer ring. A second partially spherical surface is formed on the inner body member. The first partially spherical surface movably mates with the second partially spherical surface. The sight angle is adjustable by moving the inner body member relative to the outer ring.

Mar 17, 2026

US12578169 - Archery sight mounting assembly

An archery sight mounting assembly includes an elevation rail having a longitudinal axis, an elevation carriage mounted on the elevation rail and a windage assembly connected with the elevation carriage. An elevation adjustment knob is connected with the elevation carriage and is operable to displace the carriage relative to the elevation rail. The windage assembly is operable to displace a scope in a direction normal to the longitudinal axis of the elevation rail. The windage assembly is spaced from the inner circumference of the elevation adjustment knob and includes a windage adjustment knob arranged on a side of the elevation carriage opposite the elevation knob. Alternatively, the windage adjustment knob may be arranged on a side of the elevation rail opposite and beyond the elevation adjustment knob relative to the archer. Rail guide and tension assemblies are also provided between the elevation carriage and the elevation rail.

Mar 10, 2026

US12571610 - Optical sight for firearm with integral rear sight

A passively and naturally illuminated optical reflex sighting system for a firearm in one embodiment includes a housing configured for detachable coupling to the firearm, an optical lens supported by the housing, a fiber optic element, and a light-transmissible cover enclosing the fiber optic element. The cover and fiber optic element are in visual communication with ambient light which is collected by fiber optic element through the cover. In operation, the fiber optic element absorbs ambient light and generates a reticle on the lens for aiming the firearm. A red or other colored dot reticle may be projected on the lens in some embodiments. No onboard artificial light is used to illuminate the fiber optic element. The housing may include an integrally-formed rear sight which is alignable with a front sight to aim the firearm independently of the fiber optics generated reticle.

Mar 3, 2026

US12566045 - Rear firearm sight slide elevator

A rear firearm sight slide elevator with a base member that is configured to surround a part of a firearm barrel and first and second clips that are situated on top of the base member and parallel to each other, with the first clip situated along a first side of the base member and the second clip situated on a second side of the base member. Each clip has a top part in the form of an elongated member, a bottom part in the form of an elongated ramp, and a hinge that connects the top part to the bottom part at a rear end of the clip. The elongated member includes a plurality of teeth that extend downwardly from a bottom surface of the elongated member. The hinge may be rounded or rectangular in shape.

Feb 24, 2026

US12560408 - Red dot sight charging cover, rechargeable red dot sight and rechargeable sight assembly

A red dot sight charging cover, a rechargeable red dot sight, and a rechargeable sight assembly are provided. The red dot sight charging cover includes a housing and a charging cover circuit board, a charging cover battery, and a charging cover conductive assembly that are provided in the housing. A shape of the housing is adapted to a rechargeable red dot sight, and the housing detachably covers the rechargeable red dot sight. When the housing covers the rechargeable red dot sight, the charging cover conductive assembly is electrically connected to the rechargeable red dot sight. The charging cover circuit board is electrically connected to the charging cover battery and the charging cover conductive assembly, respectively, and the charging cover circuit board is configured to control the charging cover battery to supply power to the rechargeable red dot sight through the charging cover conductive assembly.

Feb 17, 2026

US12553687 - Weapon sight

A handgun may include a slider-integrated active illumination sight. By integration of electrical connectors into the slider that conduct power from a rear powered sight to a front sight mounting area, a light source inside the front sight can emit light to the shooter's eye and make the front sight visible in any light condition. In combination with actively illuminated rear sight marks, the user now sees three evenly illuminated aiming marks. Alternatively, light can be conveyed from the rear unit to the front aiming marks by means of fiber optics.

Feb 17, 2026

US12553692 - Angle mirror with backup sight

The invention relates to an angle mirror including a backup sight. The angle mirror includes a housing connected to a mirror head and a lower part. An objective is arranged outside of the housing and is connected to the housing by an optical connection, for example a fiber optic line, that does not require electrical power or current to transmit the image from the objective. The mirror head and the objective provide separate images to a first insight and a second insight, respectively. The objective functions as a backup or auxiliary sight of the surrounding environment even in the event of a power failure.

Jan 27, 2026

US12535297 - Protective cover for an optical sight

A protective cover for an optical sight of a firearm, with at least one transparent end wall section for protecting either a proximal opening or a distal opening of the optical sight is disclosed. In order to provide a backup sight, it is proposed for the transparent end wall section to have a permanently displayed optical reticle or a part of this reticle.

Jan 13, 2026

US12523445 - Reflective sight for a firearm

A gun sight includes a rear sight including a plurality of light sources with each of at least two light sources of the plurality of light sources emitting a different color of light than the other of the at least two light sources; and a front sight including a reflective surface that is directly opposing the plurality of light sources, wherein the rear sight and the front sight are configured such that light emitted from the plurality of light sources is reflected by the reflective surface toward the rear sight.

Jan 13, 2026

US12523448 - Infrared firearm sight camera attachment, system and method

Devices, systems and methods for providing firearms, including handguns, with infrared sights and a camera which can be held in one shooter's hand. The camera can send live video which can display a target to a portable display, such as a smart phone, smart watch or smart glasses, that is held in another hand of the shooter, so that the shooter remains out of harms' way if the target is armed. The novel sight can include hybrids of combinations of infrared and bright white visible lights, and use all visible bright white light. A motion sensor or magnetometer sensor can be separately used to cause the novel sight to become activated. Wireless charging can be accomplished with charging circuits, charging pads and USB cables and ports. A multi-position locking system can allow for a rail key to be used for spacing the novel sight at up to twelve different positions relative to the firearm.

Jan 6, 2026

US12516910 - Firearm sight mounting plate assembly

A firearm sight mounting plate assembly for a firearm is provided. The firearm sight mounting plate assembly includes a mounting plate. The mounting plate having a first area supporting an iron sight, and the mounting plate having a second area supporting an optic. The first area is different from the second area.

Dec 2, 2025

US12487055 - Sight-assist system for a firearm, and related methods and components

A system for assisting one's vision while aiming a firearm, includes a scope (but may also not include a scope) that is operable to capture light from an object downfield, and an optical collar that is operable to divert some or all of the light captured, and generate an image of the object. The scope has a first end and a second end. The first end captures light from the object located downfield from the first end, and looking through the second end, one receives the light captured by the first end, and generates an image of the object from the captured light. The optical collar includes a camera operable to generate an image from light that the camera receives, a beam-splitter optically aligned with the second end of the scope and operable to reflect a portion of the light captured by the scope's first end toward the camera, and a display operable to show the image generated by the camera from the light that the camera receives.

Nov 25, 2025

US12480742 - Dual illumination optical sight

An optical sight for a firearm can be provided with multiple light sources for illuminating one or more aiming marks on the sight. The light sources may be multiple LEDs, e.g. of different colors that can provide illumination in different lighting conditions. The lights sources may also be physical process driven light sources, such as a Gaseous Tritium Light Source (GTLS). A combination of LEDs and GTLS may also be used. The light sources may be disposed at multiple focal points of a multi-lens system. Alternatively, a selector may be used to selectively locate one of the light sources at the focal point of a single lens system. The optical sight may be a reflex sight, e.g. for a handgun, or may be a riflescope for a rifle.

Nov 18, 2025

US12474141 - Rotationally deployed non-blocking firearm mirror accessory

A firearm accessory is rotatable on two axes via a sleeve mounted on a bearing comprising a first and a second part, the second part being rotatable and coupled to the first part and facilitating a central opening and a first rotational motion and protrusions with at least one hinge from the sleeve attaching to a mirror device acting as a second rotational motion. An alternative teaches digital control of a swinging mirror assembly having spring acting ball actuators providing the digital action between the actuators and a surface. In another alternative, two armatures also are taught that connect a reflective device to a bearing mounted sleeve in front of or behind a target viewing device. These may be directly rail mounted with appropriate attachment devices or directly connected to or manufactured as an integral part of a reflex sight, night vision, scope or similar viewing system of a firearm.

Nov 18, 2025

US12474142 - Firearm laser sight alignment assembly

The present disclosure relates to a firearm which may include a frame with a first outer wall, and a second outer wall opposite the first outer wall. A laser module may be disposed between the first and second outer walls. An alignment pin may be in communication with the first outer wall and may be configured to move the laser module relative to the frame.

Nov 11, 2025

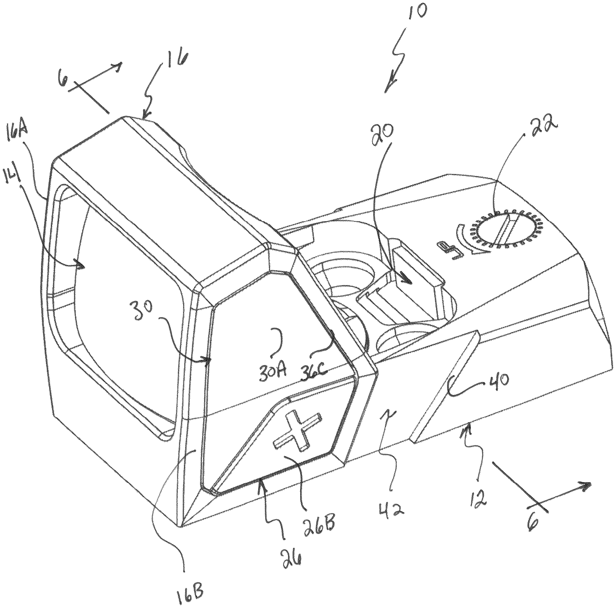
US12467717 - Enclosed reflex sight for firearms, assembly, system and method

The disclosure is related to an enclosed reflex sight for one or more firearms. The enclosed reflex sight may be provided as part of an assembly including a mounting interface. The enclosed reflex sight includes a rearward bottom portion that houses an adjustment assembly, wherein the rearward bottom portion includes a lowermost surface of the enclosed reflex sight. The enclosed reflex sight includes an upper bottom surface forward of the rearward bottom portion of the enclosed reflex sight, the upper bottom surface comprising an abutment surface for the mounting interface. When the assembly is secured to an upper mounting surface of a firearm then the lowermost surface of the rearward bottom portion of the enclosed reflex sight is closer to the upper mounting surface of the firearm than the upper bottom surface of the enclosed reflex sight.

Nov 11, 2025

US12467719 - Compact dovetail pistol sight adjustment tool

A compact dovetail pistol sight adjustment tool is provided. The compact dovetail pistol sight adjustment tool has a main housing, a folding leg, a folding sight pusher, an adjustable ratchet and a hex drive. The compact dovetail pistol sight adjustment tool can be transformed into a collapsed orientation for easy storage and transportation.

Nov 11, 2025

US12468139 - Weapon sight packaging

Packaging for a weapon sight and associated components and methods. The weapon sight may comprise a telescopic sight or scope and include a sighting axis along which a user looks to use the optical sighting device. The packaging comprises a package defining an interior sized and shaped to fit the sight. The packaging is configured to permit the user to view the optical sighting device through the cover and to look through the sight along the sighting axis.

Oct 21, 2025

US12449233 - Gun sight optic contingency system

A gun sight optic contingency system is mounted co-witnessed with a red dot sight onto a firearm. The red dot sight has a sight window that remains functionally unobstructed. The gun sight optic contingency system has a low profile rear sight located proximal to a shooter, and a front sight located distally to the shooter. The rear and front sights together define a sighting axis aligned with the path a fired projectile takes. Amounting, such as an adapter plate, couples to the firearm. When aimed at a target, the front sight is visible within and adjacent to a bottom of the view visible in the sight window. The rear sight is outside of and adjacent to a bottom of the sight window and also adjacent to and just below the front sight view in the sight window. The front and rear sights may contain a luminescent compound.

Oct 14, 2025

US12442621 - Firearm sight mounting plate assembly

A firearm mounting plate assembly is provided. The firearm mounting plate assembly includes a firearm slide with a first side, a second side, and a top side. A recess defined by a first slide wall, a second slide wall, and a recess base surface is disposed on the firearm slide top side. The recess includes a rib, a slot, and an ejector projection. The firearm mounting plate assembly includes a mounting plate with a top surface, a bottom surface, a front side, and a rear side. An ejector notch and a channel is disposed along the bottom surface. The mounting plate includes a stud, and one or more bosses. The mounting plate is configured to secure within the recess of the firearm slide.

Oct 7, 2025

US12435951 - Sight

An apparatus for providing information for adjusting a sight of a projectile weapon is provided. The apparatus comprises an input for receiving information regarding measured velocity of a projectile in flight at least at one moment of time. The apparatus comprises an analyzer for determining the velocity and moment of time; an estimator for estimating value for a set of parameters; a calculator for using velocity, moment of time, estimated value and a zero-in angle of the sight to calculate a velocity of the projectile at the moment of time; and a comparator for comparing calculated velocity and measured velocity to determine whether a difference between the calculated and the measured velocity is less than a predetermined value. The apparatus is configured to repeat estimating, calculation of the velocity of the projectile and comparison with another estimated value for the set of parameters to model a trajectory of the projectile.

Sep 30, 2025

US12429304 - Systems and methods for alternating sight adaptors plates and associated accessories

An assembly comprising a firearm slide and an adaptor plate configured to mate with the firearm slide. The adapter plate includes a first seat in a top surface of the adaptor plate and a second seat in the top surface of the adaptor plate. The assembly also includes a first iron sight configured to mate with the first seat and a second iron sight configured to mate with the second seat.

Sep 30, 2025

US12429305 - Constant intensity light regulating firearm sight device

A constant intensity light regulating firearm sight device includes a main body that is mountable onto the firearm and a lens that is positioned along the main body in a direction that is line of sight parallel to a firing axis of the firearm. The device includes a light source, a light sensor and a controller that are positioned along the main body. The light source emits a visible aim point onto the lens, and the light sensor detects and reports ambient light conditions to the controller. The controller includes a memory and processor for storing information and for controlling the operation of the device based on inputs from a user interface and the light sensor. The brightness level of the aim point is adjustable to a user-defined custom brightness setting, and the controller increases or decreases the custom brightness level based on data from the light sensor.

Sep 30, 2025

US12429308 - Systems and methods for firearm sight mounting plates

A firearm mounting plate assembly is provided. The firearm mounting plate assembly includes a firearm slide with a first side, a second side, and a top side. A recess defined by a first slide wall and a recess base surface is disposed on the firearm slide top side. The recess includes a rib. The firearm mounting plate assembly includes a mounting plate with a top surface, a bottom surface, a front side, and a rear side. The mounting plate includes one or more bosses. The mounting plate is configured to secure within the recess of the firearm slide.

Sep 23, 2025

US12422221 - Firearm laser sight alignment assembly

The present disclosure relates to a firearm which may include a frame with a first outer wall, and a second outer wall opposite the first outer wall. A laser module may be disposed between the first and second outer walls. An alignment pin may be in communication with the first outer wall and may be configured to move the laser module relative to the frame.

Sep 23, 2025

US12422222 - Weapon system with multi-function single-view scope

Certain aspects of a novel weapon sight system combine a direct view, a visible light video view, and an infrared (IR) video view mode. Each of the view modes may be viewed individually or simultaneously with one or more of the other view modes through a single viewing aperture. Further, the one or more view-modes may be provided while providing a bore-sighted reticle superimposed on the selected view. Further, the reticle may be powered separately from the video view electronics enabling use of the reticle regardless of the power status video view electronics.

Sep 2, 2025

US12405084 - Sight installation and removal tool

A sight installation device, comprising a body having a notch which is capable of receiving a pistol slide with a sight receiving groove, the notch possessing a first and a second lateral sidewall, and an at least one horizontal brace abutment. The sight installation device's body also has at least one guide channel proximate the notch, in which a pusher bit is longitudinally slidable and configured so as to contact a sight element directly in line with the pistol slide's sight-receiving groove. The sight installation device also possesses a drive screw configured to engage an opening in the body proximate the guide channel, the drive screw engaging the opening and configured to engage the pusher bit.

Sep 2, 2025

US12405085 - Rear firearm sight slide elevator

A rear firearm sight slide elevator with a base member that is configured to surround part of a firearm barrel and has a first wing on one side and a second wing on another side of the front part of the base member, first and second fins that are parallel to each other and situated at least in part on top of the base member, and a smooth ramp that is situated on a central portion of the base member between the fins. The ramp increases in height from front to back and has a central channel that is configured to provide a sight path from the user to the front sight on the firearm. The inner wall of the first and/or second fin includes a plurality of vertically oriented ridges. The outer wall of at least one of the first and second fins displays a plurality of sight markings.

Aug 26, 2025

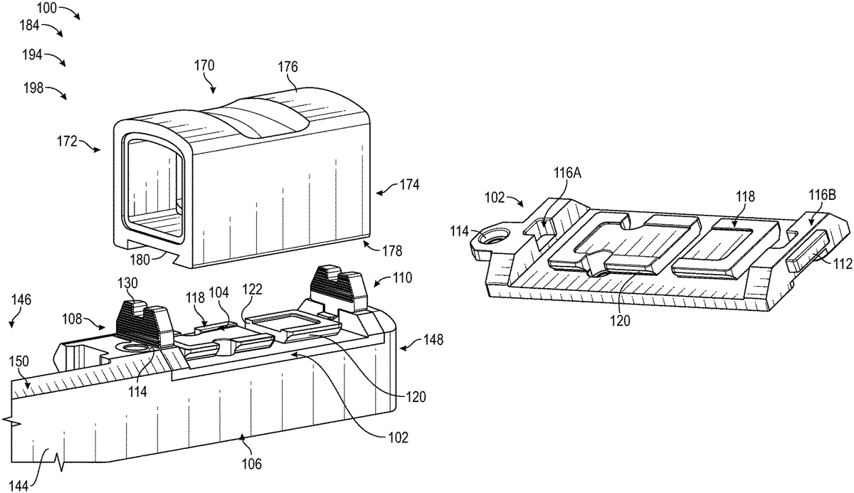
US12398976 - Rear sight and related assembly

A rear sight and related assembly are disclosed. The rear sight has a notch component coupled to a base portion. The notch component includes a notch forming a channel through the notch component, the channel having a channel direction. The base portion has a first flange having a first aperture and a second flange having a second aperture couple coupling with an optic mount. The assembly of the rear sight includes the rear sight coupled to the optic mount. The apertures of the rear sight are configured to concentrically align with mounting holes of the optic mount. The optic mount is configured to couple to a slide of a firearm.

Aug 19, 2025

US12392579 - Constant intensity light regulating firearm sight device

A constant intensity light regulating firearm sight device includes a main body that is mountable onto the firearm and a lens that is positioned along the main body in a direction that is line of sight parallel to a firing axis of the firearm. The device includes a light source, a light sensor and a controller that are positioned along the main body. The light source emits a visible aim point onto the lens, and the light sensor detects and reports ambient light conditions to the controller. The controller includes a memory and processor for storing information and for controlling the operation of the device based on inputs from a user interface and the light sensor. The brightness level of the aim point is adjustable to a user-defined custom brightness setting, and the controller increases or decreases the custom brightness level based on data from the light sensor.

Aug 19, 2025

US12392580 - Fiber optic handgun sight

A firearm sight has a body having an attachment facility configured to connect to a pistol having a forward target end and a rear end. The body has a forward end and an opposed rear end associated with the forward and rear ends of the firearm. The body defines a bore with a forward opening and a rear opening. An elongated insert is received in the bore and has a rear end and a forward end. The insert and body have an insertion limiting facility configured to admit insertion of the insert with the rear end of the insert inserted via the forward opening of the bore, and to prevent passage of the insert beyond a limited insertion amount. The insertion limiting facility may include the bore defining a step, a greater bore width forward of the step and lesser bore width rear of the step.

Aug 19, 2025

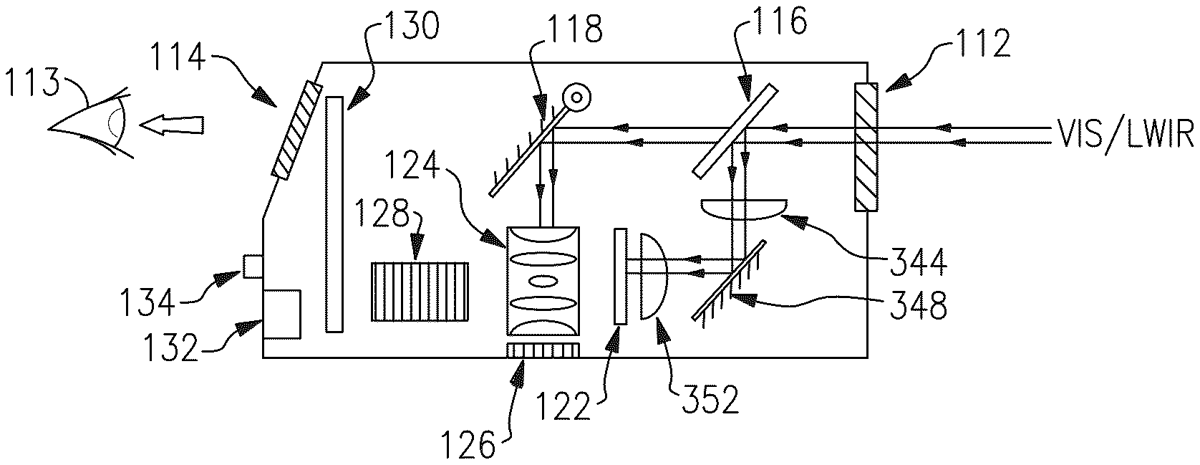
US12392581 - Telescopic sight

A telescopic sight for firearms including: magnifying elements disposed along a user optical path between an objective lens assembly and an ocular lens; an imaging system including an imaging sensor and an image processor; a digital optical augmentation (DOA) system disposed outside of the user optical path; at least one optical element adapted to: redirect a spectrum of incoming light from the objective lens assembly to the imaging sensor along a video optical path, redirect/reflect digital markings projected from the DOA system into the user optical path and disallow the projected digital markings from reaching the imaging sensor, and wherein the imaging system is adapted to capture and process imagery from the incoming light to provide image processing data.

Aug 5, 2025

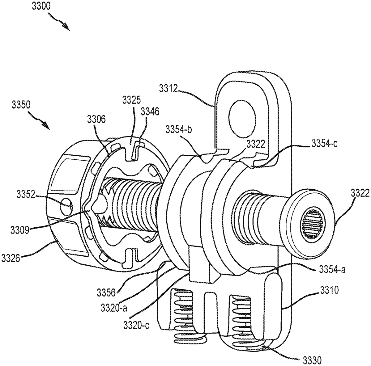
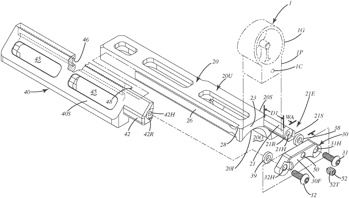
US12379186 - Adjustable sight assembly

In one example, the disclosure relates to adjustable flip up sight assembly that can be adjusted vertically and laterally in particular, for an automatic firearm, comprising a front sight support element that is supported by an axle on a mount, in particular such that they can pivot thereon, wherein the front sight support element has an adjustment element supported on a spring element and releasably connected to a front sight, which contains a keyhole type opening through which the axle is inserted, wherein the adjustment element can be moved in relation to the axle against the spring force between two positions inside the front sight support element such that the keyhole opening prevents a lateral movement of the front sight support element along the axle when engaged with the axle, and allows the lateral adjustment of the front sight support element in a released position.

Jul 22, 2025

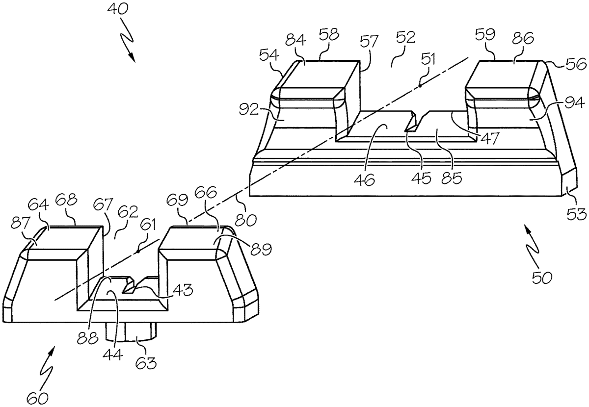
US12366429 - Back-up sights with compact aperture, centering sight post, and miniaturized windage detent mechanism

A sighting system for a firearm and related methods are disclosed. The sighting system has front and rear flip-up sights, wherein the front sight comprises a flip-up portion having an aperture through which a sight post can partially extend; a knob comprising one or more notches on a first side and the sight post extending from a second side; at least one detent arranged to face and interact with the one or more notches. The knob is configured to rotate about a first axis, where the rotation causes the sight post to move in a first direction along the first axis; tilting of the knob in a second direction based on the detent interfacing with the notches; and tilting of the sight post in the second direction, thereby forcing at least a portion of the sight post to press against the aperture, or a combination thereof.

Jul 22, 2025

US12366430 - Firearm optical sight, system and method

The disclosure is directed to an optical sight for a firearm comprising a reticle operationally configured to visually inform a user when the optical sight is misaligned from an intended target and operationally configured to visually inform the user as to the direction of misalignment.

Jun 24, 2025

US12339098 - Enclosed reflex sight for firearms, assembly, system and method

The disclosure is related to an enclosed reflex sight for one or more firearms. The enclosed reflex sight may be provided as part of an assembly including a mounting interface. The enclosed reflex sight includes a rearward bottom portion that houses an adjustment assembly, wherein the rearward bottom portion includes a lowermost surface of the enclosed reflex sight. The enclosed reflex sight includes an upper bottom surface forward of the rearward bottom portion of the enclosed reflex sight, the upper bottom surface comprising an abutment surface for the mounting interface. When the assembly is secured to an upper mounting surface of a firearm then the lowermost surface of the rearward bottom portion of the enclosed reflex sight is closer to the upper mounting surface of the firearm than the upper bottom surface of the enclosed reflex sight.

Jun 17, 2025

US12332019 - Adjustable target sight

A target sight for a firearm includes a base for securing a body of the target sight to the firearm, a light source coupled to a carrier mount that is disposed within a carrier plate, a horizontal adjustment system for the carrier plate structured to cause the carrier plate to move horizontally within the body of the target sight, and a vertical adjustment system for the carrier mount structured to cause the carrier mount to move vertically relative to the carrier plate. Methods are also described.

Jun 3, 2025

US12320617 - Reflex sight device

A reflex sight device for a firearm includes a cover body configured to be couplable to a sight and having a vision opening; and a lens shield being detachably covered on the vision opening.

May 20, 2025

US12305957 - Aiming apparatus

In some embodiments, an apparatus comprises a first body and a second body aligned upon an axis. The first body comprises a first sight window and a first side edge, a second side edge and a base edge defining the first sight window, and a first central indicator. The second body comprises a second sight window and a first side edge, a second side edge and a base edge defining the second sight window, and a second central indicator. The axis extends through a center of the first sight window and through a center of the second sight window.

May 13, 2025

US12298101 - Weapon sight grip

A weapon sight grip and associated components and methods. The weapon sight can be a firearm sight, such as a red dot type sight. The firearm accessory includes a base configured to be connected to a weapon and a sighting portion configured to assist a user in aiming the weapon. The firearm accessory includes grip structure such as an elastomeric pad, ridge, or other structure configured to facilitate a user in gripping the sight, such as to rack a slide on which the sight is mounted.

May 13, 2025

US12298102 - Collapsible sight for a firearm

A firearm includes a rail; a mount attached to the rail; a lens attached to and rotatable with respect to the mount; a light source that reflects a light off a reflective surface of the lens to aim the firearm; a hood rotatably mounted and in contact with the lens, wherein the hood folds over the lens in a collapsed configuration and is angled from the lens in a deployed configuration, and the hood and the lens each pivot on respective axes that are parallel to each other.

Apr 22, 2025

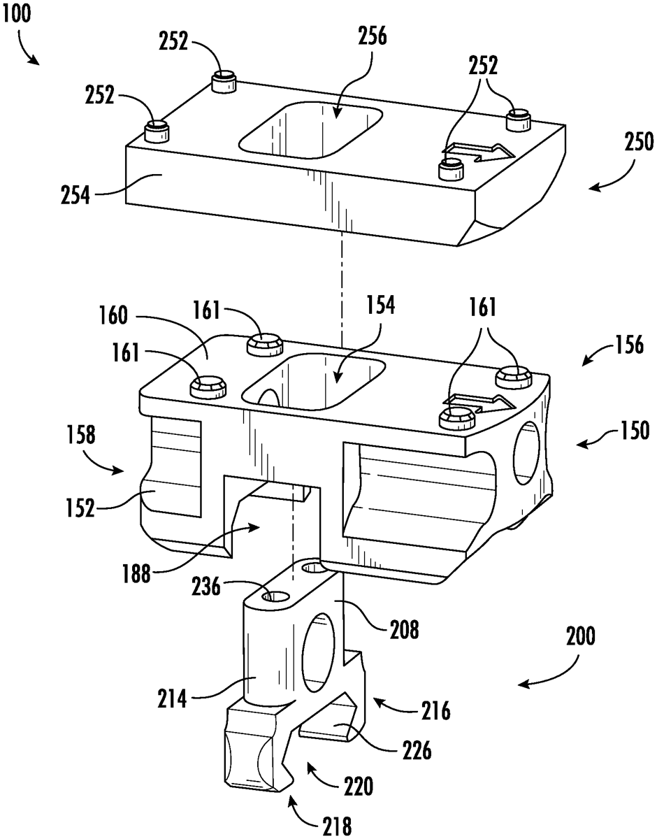
US12281873 - Sight mount and related method of use

A weapon mount is provided to connect an accessory to a weapon adjacent a sight. The mount can include a main body, a forward projecting first arm and a locking plate. The main body can engage a rear of the sight, for example, a front sight post, and the locking plate can engage a front of the sight. The locking plate, main body and mount can be centered on the post via a centering fastener projecting through a center plate hole of the locking plate, and can be clamped to the sight post via first and second fasteners projecting through the locking plate and engaged with the first arm and a second arm which can be part of the main body or a modular body. The modular body can be slidably joined with the main body via a guide rail and corresponding slot. A related method of use is provided.