Trigger

Patents tagged Trigger

Mar 31, 2026

US12590773 - Magazine disconnect mechanism

A firearm has a magazine disconnect mechanism. The firearm includes a trigger operable between a resting position and a pulled position. The magazine disconnect mechanism has a trigger block positioned between the trigger and a magazine well of the firearm, where the trigger block is movable between a blocking position and a non-blocking position. In the blocking position the trigger block obstructs moving the trigger to the pulled position. The trigger block occupies the non-blocking position when a magazine is installed in the magazine well, and the trigger block occupies the blocking position when the magazine is absent from the magazine well.

Mar 31, 2026

US12590775 - Trigger lock

A trigger lock provides a high retention force and a low reset force to secure, release and reset a translating member to a stationary member. A retention latch has a complementary shape to engage and resist axial translation of the translating member. The retention latch pivots downward to disengage from the translating member. A spring pack compresses to resist the downward pivot to set the high retention force. A trigger lock assembly restrains the compressed spring pack to allow the translating member to return and reset the trigger lock with the low reset force. A spring-loaded latch clearance cam is configured to push the translating member away from the retention latch as the translating member disengages and returns to reset the trigger lock.

Mar 24, 2026

US12584706 - Front removeable trigger shoe

A trigger assembly for a 1911 format pistol comprising of a trigger bow having a forward portion defining a first threaded portion, a threaded fastener having a second threaded portion mateable with the first threaded portion, and a trigger shoe configured to operably engage the threaded fastener to secure the trigger shoe to the trigger bow.

Mar 17, 2026

US12578159 - Firearm trigger mechanism

A trigger mechanism that can be used in AR-pattern firearms has a hammer, a trigger member, a disconnector, a cam, and a “three position” safety selector having safe, standard semi-automatic, and forced reset semi-automatic positions. In the standard semi-automatic position, rearward movement of the bolt carrier causes rearward pivoting of the hammer and pivoting of the cam from a first position to a second position such that a cam lobe forces the trigger member towards the set position, but prior to reaching the set position the disconnector hook catches the hammer hook, at which time a user must manually release the trigger member to free the hammer from the disconnector to permit the hammer and trigger member to pivot to their set positions so that the user can pull the trigger member to fire the firearm. In the forced reset semi-automatic position, rearward movement of the bolt carrier causes rearward pivoting of the hammer and pivoting of the cam from the first position to the second position such that the cam lobe forces the trigger member to the set position, the safety selector preventing the disconnector hook from catching the hammer hook, at which time the user can pull the trigger member to fire the firearm without manually releasing the trigger member.

Mar 10, 2026

US12571602 - Trigger assembly

A trigger assembly can include a sear defining a trigger bar engagement surface and a reset notch; and a trigger bar including an upper leg, the upper leg defining a sear engagement surface, the upper leg deflectable from a default leg shape to a disconnected leg shape, the sear engagement surface laterally aligned with the trigger bar engagement surface when the upper leg is in the default leg shape, the sear engagement surface laterally misaligned from the trigger bar engagement surface when the upper leg is in the disconnected leg shape.

Mar 3, 2026

US12566037 - Hunting or sports weapon with improved magazine arrangement

A hunting or sports weapon with a handguard ( 4 ) attached to a receiver ( 5 ) and a barrel ( 3 ), wherein the barrel ( 3 ) with a cartridge chamber ( 34 ) leads into a breechblock ( 26 ) and forms a breech face ( 20 ) for the cartridge to be fired there, wherein a magazine well ( 24 ) for the introduction of a magazine ( 17 ) is arranged on or in the receiver ( 5 ), and on the receiver ( 5 ) a trigger unit ( 6 ), wherein a buttstock ( 11 ) adjoins the receiver ( 5 ), wherein the magazine ( 17 ) is arranged in a swivel unit ( 31 ) which can be swung away in a horizontal axis or in a plug unit ( 32 ) and is integrated at least partly in the buttstock ( 11 ).

Mar 3, 2026

US12566044 - Crossbow de-cocker and related method of use

A crossbow can include a de-cocking system to allow a bowstring to be transitioned from a drawn mode to an undrawn mode. The de-cocking system can include a sled that engages the bowstring to draw it to a drawn mode and/or lets down the bowstring to the undrawn mode during a de-cocking operation. The sled can include a stop that prevents the sled or bowstring from engaging a safety and/or interfering with transition of the safety from a safety on mode to a safety off mode. The safety can be manually actuated from the safety on mode to the safety off mode. With the safety in the off mode, upon actuation of a trigger assembly, the sled assists transition of the bowstring to the undrawn mode. The stop can be reconfigured to a neutral mode so the sled can be used to draw the bowstring. A related method is provided.

Mar 3, 2026

US12566047 - Dual trigger weapon control system with integrated manual and assisted targeting

The devices, systems, and methods described herein are directed to a manual and assisted targeting system integrated into a weapon control system that includes dual triggers. One trigger is fully manual and is always operational. The second trigger is electronically controlled and is linked to aiming sensors, targeting sensors, and a controller comprising firing control logic. The firing control logic calculates an aim goal, based at least partially on location information pertaining to the target, and determines when the difference between the aimpoint of the weapon and the aim goal is below a threshold. In response to this determination, a control signal is sent to a trigger actuator to fire the weapon.

Feb 17, 2026

US12553680 - Dynamically balanced trigger system

A dynamically balanced trigger system for a firearm. The dynamically balanced trigger has a specific design, orientation, weights, and cutouts such as to provide a balanced trigger, where the chances of accidental discharge due to drops, shocks, and impacts are dramatically reduced. Unlike other triggers, the dynamically balanced trigger system has a trigger with a center of gravity near the center point of the trigger, which weights the trigger components against itself to prevent movement, such as may be caused by dropping the firearm, thereby helping prevent an unintentional discharge of the firearm.

Feb 17, 2026

US12553681 - Dynamically balanced trigger system

A dynamically balanced trigger system for a firearm. The dynamically balanced trigger has a specific design, orientation, weights, and cutouts such as to provide a balanced trigger, where the chances of accidental discharge due to drops, shocks, and impacts are dramatically reduced. Unlike other triggers, the dynamically balanced trigger system has a trigger with a center of gravity near the center point of the trigger, which weights the trigger components against itself to prevent movement, such as may be caused by dropping the firearm, thereby helping prevent an unintentional discharge of the firearm.

Feb 10, 2026

US12546550 - Firearm

A firearm, particularly a gun operating by recoil exploitation, comprising: a frame; a barrel, a hand grip; a breechblock slidable for the closing of the breech of the barrel; a striker; a longitudinal elastic device for the recovery of the recoil kinetic energy of the breechblock for rearming the striker; a release lever having a coupling position and a release position of the striker; a single action trigger mechanism comprising a trigger and a trigger transmission rod operatively connected to the trigger and to the release lever, and an antagonist lever to the release lever, the mass of the antagonist lever being distributed and arranged to strain the antagonist lever with inertial forces that contrast the release lever for preventing the accidental release of the striker.

Jan 27, 2026

US12535284 - Linear trigger bolt action firearm

Disclosed is a linear trigger mechanism for a firearm. In certain examples, the trigger mechanism includes a trigger housing having a linear trigger pathway and a removeable side plate. The trigger mechanism also includes a trigger that is at least partially disposed between the trigger housing and the removeable side plate, where the trigger is configured to move between a first position and a second position along a path that is defined by the trigger pathway, and where the trigger includes an angled sear engagement surface. The trigger mechanism also includes a sear that is at least partially disposed between the trigger housing and the removeable side plate and is configured to pivot with respect to the trigger housing, where the sear includes an angled trigger engagement surface that corresponds with the angled sear engagement surface.

Jan 27, 2026

US12535291 - Trigger shroud assembly, small arms apparatus, and method

A trigger shroud assembly ( 14 ) for a small arms weapon ( 12 ) is disclosed. The trigger shroud assembly ( 14 ) may include a rail mount ( 22 ), an accessory body ( 28 ) slidably connected to the rail mount, a spring guide ( 24 ) disposed between the rail mount and the accessory body, a resilient member ( 26 ) arranged about the spring guide, and a starboard side trigger shroud ( 32 ) and a port side trigger shroud ( 34 ) connected to the accessory body. A belt clip ( 36 ) may be disposed on one of the starboard side trigger shroud or the port side trigger shroud. The trigger shroud assembly ( 14 ) may include a closed configuration ( 17 ) and an open configuration ( 27 ). The trigger shroud assembly ( 14 ) may include a tactical accessory ( 47 ) such as a flashlight. The trigger shroud assembly ( 14 ) may be secured to a handgun for inside the waistband carry and to deter inadvertent handgun discharge.

Jan 20, 2026

US12529535 - Ammunition convertible firearm

A firearm as disclosures herein comprises a main receiver body, a barrel, a breech bolt structure, a buffer assembly, a trigger group assembly, a bolt catch and at least one of an auto-sear, a magazine adapter and a breech bolt anti-rotation structure. The main receiver body is preferably of a monolithic construction whereby the handguard and breech bolt carrying bore can be manufactured from a single piece of material. The auto-sear is tripped by engagement with a buffer of the buffer assembly. The magazine adapter has an exterior surface structure engaged with a mating interior surface structure of a magazine well space of the main receiver body. A distal end portion of the breech bolt anti-rotation structure is engageable by the buffer for limiting forward travel of the buffer when the barrel is detached from the main receiver body.

Jan 20, 2026

US12529538 - Safety mechanism for firearm

A safety mechanism for a firearm includes a cam selector, a lever, and a trigger. The cam selector comprises a first end, a second end, a top side, and a bottom side. The cam selector comprises a longitudinal slot positioned on the top side of the cam selector. The lever comprises a proximal end and a distal end. The longitudinal slot is configured to receive the lever. The cam selector further comprises a first recess and a second recess on the bottom side of the cam selector. The trigger comprises a first trigger tail portion. In addition to the standard semi-automatic and safe modes, the present invention provides an additional active reset mode in which the cam selector is configured to allow the first trigger tail portion to engage the second recess and be moved down by a cam portion of the second recess when the cam selector rotates.

Dec 30, 2025

US12510317 - Firearm semiautomatic trigger mechanism

A trigger mechanism having a hammer, a trigger member, movable ejector lever, and locking member. The trigger member being forced to the set position by the hammer during rearward pivoting. A locking member is adapted to move between a first position at which the locking member mechanically blocks the trigger member from moving to the released position and a second position at which the locking member does not mechanically block the trigger member allowing the trigger member to be moved to the released position. The locking member is spring biased toward the first position and moved against the spring bias to the second position by contact from the movable ejector lever during forward movement of the bolt carrier as the bolt carrier reaches a substantially in-battery position.

Dec 30, 2025

US12510318 - Firearm trigger

Disclosed is a linear trigger mechanism for a firearm. In certain examples, the trigger mechanism includes a trigger housing configured to couple with a fire control unit of the firearm, and a trigger slideably coupled with the trigger housing and movable along a linear path. The linear trigger mechanism also includes a trigger bar having a first end coupled with the trigger and a second end coupled with a sear activation module, where the sear activation module is moveable with respect to the fire control unit along a longitudinal path with the trigger bar, and where the sear activation module is moveable laterally with respect to the trigger bar.

Dec 16, 2025

US12498191 - Adjustable trigger assembly and method of adjusting pre-travel distance

A trigger assembly apparatus for a firearm which allows adjustment of the pre-travel distance a trigger travels before initiating a firing sequence and method of making the pre-travel adjustment using the apparatus disclosed herein. The apparatus generally comprises a trigger and a trigger bow, with the trigger bow having at least one threaded receptacle in a front lateral portion thereof. The pre-travel adjustment can be achieved by rotating a threaded fastener within the threaded receptacle and the method of adjusting the pre-travel can be accomplished without complete disassembly of the firearm.

Dec 2, 2025

US12485344 - Triggering mechanism

A triggering mechanism for a weapon may include a moveably arranged trigger; an actuator slidably arranged along a path; and a releasable coupling. The releasable coupling member may be configured to couple the actuator with the trigger such that when a pulling motion is exerted on the trigger, the actuator moves in a first direction along the. An adjustable stop member may be configured to stop the movement of the actuator in the first direction at an adjustable stop position, such that further pulling motion on the trigger causes the actuator to be released from the trigger and to be moved in a second direction along the path. The second direction is different than the first direction. A sensor may be configured to detect movement of the actuator in the second direction and in response to the detection transmit a trigger signal.

Nov 25, 2025

US12480728 - Firearm trigger with safety blade

A safety trigger system comprising a trigger housing, a safety blade member, a safety latch member configured to interfere with a firearm housing preventing the entire trigger stroke and the release of the firearm firing pin. The safety blade member and the safety latch member disposed within the trigger housing and held into a pre-depressed state through resistance force provided by a resistance member.

Nov 25, 2025

US12480740 - Two-part folding trigger for a folding firearm

The present disclosure describes a foldable firearm that collapses into a folded state under spring pressure. The foldable firearm may include a foldable grip assembly. The foldable grip assembly may include a foldable pistol grip, a foldable trigger assembly, a folding bar, and a foldable hand stop. The foldable grip assembly may fold into the housing of the foldable firearm. The foldable grip assembly may include a two-part folding trigger a part of which folds forward when the platform folds, to compress the vertical profile of the platform and also to present an inherent safety in the stowed configuration. The foldable firearm can also include a manual safety accessible from outside a housing of the platform that renders a trigger bar incapable of movement and release of the striking mechanism when the safety is engaged.

Nov 18, 2025

US12474135 - Firearm trigger chock

A firearm trigger chock that may include a chock portion and a forward extending plate having an aperture. The chock portion is configured to prevent depression of the trigger. The chock portion has an interior side and an exterior side, and a trigger-engaging surface that substantially corresponds with the dimension and curvature of the rear of a trigger. In a version, the aperture extends through the plate and forward of the trigger.

Nov 11, 2025

US12467706 - Trigger mechanism for firearms

The invention is aimed at improving the accuracy of shooting by reducing the force on a trigger of a firearm during firing. The technical result is achieved by the fact that the design of the trigger mechanism includes a housing in which a hammer and a hammer spring are installed, a tubular axle on which the trigger having a groove allowing longitudinal movement along the axle is installed, thereby disengaging a return mechanism installed in its housing, a roller sear, and a single-fire sear. To engage the return mechanism, the trigger and the hammer are equipped with cams, and when a breechblock carrier is recoiled, the hammer is lowered and its cam affects the trigger cam, forcing the trigger to move backwards (if it has been moved to a forward position before). The return mechanism is also engaged when a safety lock is activated.

Nov 4, 2025

US12460885 - Smart firearm safety device

Methods, systems, and apparatus, including computer programs encoded on a computer storage medium, are described for implementing a smart firearm safety device. The safety device attaches to a firearm having a trigger and a slot for receiving a magazine. The safety device includes a locking mechanism that attaches to the trigger to preclude depressing a trigger of the firearm and a sensor that determines an orientation of the firearm or a relative motion of the firearm to indicate detected movement of the firearm. The safety device also includes a radio device that receives parameter signals from the sensor indicating movement of the firearm. The radio device communicates with a component of a property monitoring system to receive a command to engage the locking mechanism to preclude depressing the trigger of the firearm based on parameter signals indicating a particular type of detected movement of the firearm.

Oct 28, 2025

US12455132 - Pistol having a plurality of operating conditions

Pistols having a plurality of operating conditions have a frame having a trigger, an elongated slide connected to the frame and having a rear end facing a user, a moving control element on the elongated slide and positioned in a first position when the pistol is in a first operating condition, and positioned in a second condition when the pistol is in a second operating condition, an indicator on the moving control element visible to the rear, indicia on the elongated slide having a first element associated with the first operating condition and a second element associated with the second operating condition, and the indicator being registered with the first element of the indicia when the moving control element is in the first position, and the indicator being registered with the second element of the indicia when the moving control element is in the second position.

Oct 21, 2025

US12449218 - Adjustable trigger safety system

An adjustable trigger safety system that replaces a handle or grip of a firearm is disclosed. The adjustable trigger safety system can have a frame that mounts to a portion of a firearm. A finger actuator is used to reposition an indicator that allows the main safety to rotate from a “safe” position to a “fire” position. The lower grip can have an accessory connector to connect external devices. The frame can house and provide pivot points for components located internally or partially internally to the frame, including a safety lever, an activation lever, and a safety cable. Rotation of the activation lever causes the main safety to rotate. The amount of pressure needed to move the safety and activation levers and deactivate the system is adjustable. The safety lever must be depressed before the activation lever, or the activation lever cannot be depressed. The finger actuator is ambidextrous.

Oct 14, 2025

US12442606 - Lock for gun and multifunctional gun storage stand

The present disclosure relates to the technical field of gun locks, and particularly, to a lock for safety protection of a gun trigger and a multifunctional gun storage stand. The lock includes a base, a shell fixedly connected to the base, a stabilizer fixedly connected to the shell, and a locking device mounted inside the shell. The locking device is provided with a movably opened and closed lock catch assembly and a locking assembly restraining the lock catch assembly from being movably opened and closed; the lock catch assembly is movably connected to the locking assembly, and the lock catch assembly is provided with a lock catch post.

Oct 14, 2025

US12442608 - Machine gun trigger with select fire

A trigger assembly includes a selector operable between a safe position, a semiautomatic fire position, and an automatic fire position. In one example, the assembly includes a trigger rotatable between a resting position and a pulled position, a disconnector pivotable between a first position where it is in the path of the operational rod, and a second position where it is out of the path of the operational rod. A sear is pivotable between an engaged position and a disengaged position and is biased to the engaged position where it is positioned in the path of the operational rod. A sear link is pivotably connected to the trigger, such that pulling the trigger moves the sear link into contact with the sear to pivot the sear towards the disengaged position. The sear link is spaced from the sear when the trigger is in the resting position.

Oct 7, 2025

US12435937 - Firearm trigger control device

A firearm trigger control device, which is adapted to control the displacement of a firearm's trigger, such as to enable the discharge of a projectile upon receiving a firing signal (e.g., at a timing determined as optimal for hitting a designated target).

Oct 7, 2025

US12435938 - Trigger safety with rotatable lever

A firearm safety mechanism assembly is provided. The firearm safety mechanism assembly includes a firearm with a receiver, a trigger guard coupled to the firearm, and a housing pin. The firearm safety mechanism assembly includes a trigger safety mechanism. The trigger safety mechanism includes a plate, a rod extending from the plate, a trigger coupled to the rod, and a lever nested within the trigger. The lever includes a lever first end and a lever second end, where the lever rotates between a first position and a second position. In the first position, the lever first end abuts a housing pin.

Oct 7, 2025

US12435940 - Trigger assembly having a secondary disconnector

A trigger assembly for a firearm includes a housing with an opening adapted to receive a trigger bar guide portion of a trigger bar. The opening includes a ridge that extends downward from an upper surface of the opening. The trigger bar guide is forced downward in the opening by a connector as the trigger is pulled to cause a first disconnect of a striker resulting in a first firing. Upon release of the trigger the trigger bar guide moves upward and upon return to a released position is forced downward to cause a secondary disconnect of striker resulting in a second firing.

Oct 7, 2025

US12435941 - Trigger assembly and method of calibrating and adjusting a pull force on a trigger

A trigger assembly and associated method for use for the adjustment of trigger pull force of a firearm. The trigger assembly having a housing with an adjustment means in the form of a fastener in communication with one or more trigger springs that interface with a trigger. The adjustment means can be configured to adjust a length of one or more trigger springs to adjust the trigger pull force of the trigger assembly. A calibrated force tester can be coupled to a portion of the trigger to test the amount of trigger pull force necessary to release a hammer of the trigger assembly. The trigger assembly enables a calibrated repeatable method of giving a user the ability to adjust the trigger system pull force by the means of a calibrated laser etched scale on the trigger housing that works in conjunction with the adjustment means.

Sep 30, 2025

US12429297 - Trigger arrangement for manual and remote firing

An apparatus for discharging a weapon includes a combination trigger that includes both a manual trigger and a remote trigger. The weapon may be discharged using either the manual trigger or remote trigger. The apparatus may also include a remote and/or manual safety to prevent the weapon from being discharged.

Sep 16, 2025

US12416460 - Receiver assembly for a handgun

A receiver assembly for a handgun. The receiver assembly includes a receiver having a magazine well, a locking device having a locking lever for actuating the locking device, a control block accommodated in the receiver, a trigger pivotable in the receiver and about a trigger axis, a sear bar coupled to the trigger, a locking bar having a guide lug, and a lowering component accommodated in the control block, which has a bar guide slot formed therein. The sear bar extends to the control block and includes a guide bracket. The locking bar interacts with the locking device. The lowering component is displaceable for removing the slide assembly from the receiver assembly. The lowering component includes a control window and a guide link. The guide bracket is guided in the control window. The guide lug protrudes into the guide link and through a bar guide slot of the control block.

Sep 16, 2025

US12416462 - Electromechanical trigger and methods of operating a gun using the same

The present disclosure provides systems and techniques for an electromechanical trigger that is implementable in a gun. The gun may include a trigger mechanism, a trigger sensing mechanism, and a fire control manager. The fire control manager may identify a trigger break based on the trigger sensing mechanism generating a voltage, and the fire control manager may transmit a signal to an actuator mechanism based on the trigger break. A detent mechanism may be dislocated in response to a force applied to a trigger mechanism, and the trigger sensing mechanism may generate the voltage based on the dislocating of the detent mechanism. Dislocating the detent mechanism may correspond to satisfying a trigger break threshold. The actuator mechanism may be displaced in response to the signal, and displacing the actuator mechanism may result in a projectile being propelled from the gun.

Sep 9, 2025

US12410979 - Control element, breechblock stop lever, breechblock carrier, trigger, trigger assembly for an automatic weapon, and an automatic weapon equipped therewith

One example control element for controlling a breechblock stop lever that can move about a first axis of rotation, which can be moved between a standby position for releasing a breechblock carrier and a retaining position for retaining the breechblock carrier, includes a first arm ( 15 ) that can rotate about a second axis of rotation (B), a first control section on the first arm, the first control section including a first contact surface ( 11 a ) and a second contact surface ( 11 b ) facing away from the first contact surface ( 11 a ), which can be rotated about the second axis of rotation (B) for the control element ( 10 ) by a control curve ( 36, 37, 38 ) on the breechblock carrier ( 30 ); and a second control section ( 13 ) on the first arm, wherein the second control section can be controlled by a control surface ( 55 a ) on a trigger ( 50 ). Other examples are possible.

Sep 9, 2025

US12410980 - Drop-in system to enhance the resetting and operations of semiautomatic firearms

A drop-in system for a semiautomatic firearm trigger includes a trigger-locking block, a hump block, a trigger-locking block transfer bar and an axis retainer plate that operate together to enhance the operations of a semiautomatic firearm trigger. The trigger-locking block is pivoted on a firearm safety pin to lock the trigger when the carrier bolt travels rearward, the hump block is pivotally disposed within a trigger cradle on a trigger pin to receive a force of a hammer to rotate rearward to rotate the trigger assembly backward, the trigger-locking block transfer bar slides along carrier bolt guide and rotate the trigger-locking block forward to releasee the trigger, and the axis retainer plate holds the trigger-locking block rotatably in place and limits the rotation of the trigger-locking block.

Sep 2, 2025

US12405077 - Remotely activated firearm accessory

The invention relates to an electronic device that is used to block the accessibility of a firearms Trigger. Wherein an electronic device is mounted on a rail or rail accessory and is locked in place using a lock and frame allowing the device to fit an array of firearms. The lock and frame are in place to stop easy removal unless the possessor has the key to remove them. The device its self uses a battery to operate and picks up a transmission broadcasted from a Bluetooth within its programmed range by the use of a Bluetooth proximity detector. Once the transmission has been picked up it activates its locking mechanism in the form of a solenoid causing its pin to shift and allows a slide placed in front of the trigger acting as a second trigger to move back and forth allowing the movement of the firearms trigger. The slide is moved back into its original position by the use of a spring. When the Bluetooth is out of the device's proximity detectors programmed range, the solenoid returns to its locked state stopping access to the trigger. Making the trigger locking device a beneficial reusable safety device.

Aug 19, 2025

US12392572 - Firearm spade grip assembly

A firearm spade grip assembly can comprise a firearm, paddle trigger assembly, and/or a mounting system. A paddle trigger assembly can comprise a base spanning between and comprising a base forward end and a base aft end; a paddle trigger coupled to the base; a trigger actuator coupled to the base; and/or an actuator housing coupled to and extending forward from the base, wherein the trigger actuator is disposed at least partially within the actuator housing. Movement of the paddle trigger can be configured to translate the trigger actuator. A mounting system of a firearm spade grip assembly can comprise a mounting base configured to couple to a firearm receiver base or a firearm receiver of the firearm.

Aug 12, 2025

US12385707 - Modular trigger control unit for firearms

A modular trigger control unit Is configured to be removably installed on a grip frame of a firearm and includes a locking block and a pin configured to traverse through both the trigger control unit and the grip frame. The trigger control unit has a protruding tab protruding rearward. The locking block includes slide rails extending forward, with each slide rail of the pair of slide rails having a flat wall extending downward or upward with respect to the grip frame when the trigger control unit is installed on the grip frame. The trigger control unit is secured to the grip frame by: (1) the protruding tab received in a recess on an interior wall of a beavertail portion of the grip frame; (2) the pin; and (3) one or more first physical features on the trigger control unit mating with one or more second physical features on the grip frame.

Aug 12, 2025

US12385708 - Safety for firearm electromagnetic firing system

An electronic trigger system with safety mechanism for firearms includes a trigger unit comprising an electromagnetic actuator operably coupled to the firing mechanism and a programmable trigger mechanism microcontroller. The actuator is changeable between a non-powered unactuated position and powered actuated firing position via pulling both an outer trigger and inner safety trigger of the trigger unit. The actuator is operably interfaced with a movable firing component of the firing mechanism operable to discharge the firearm. In a blocking position of the safety trigger, the safety trigger is configured to block outer trigger movement which prevents energizing and actuating the electromagnetic actuator thereby preventing the firearm from discharging. Conversely in an unblocking position, the safety trigger allows outer trigger movement sufficient to discharge the firearm by either energizing the actuator when a pre-selected trigger pull force threshold is applied or applying sufficient trigger force to manually trip the actuator.

Aug 12, 2025

US12385709 - Two-stage trigger arrangement

In some embodiments, a fire control mechanism comprises a trigger, a hammer and a disconnector. The trigger comprises a trigger sear and is arranged to rotate about a trigger axis. The hammer comprises a hammer sear and a secondary sear and is arranged to rotate about a hammer axis. The disconnector comprises a disconnector sear and is arranged to move with respect to the trigger. The fire control mechanism comprises an orientation wherein the trigger sear contacts the hammer sear and the secondary sear contacts the disconnector sear.

Aug 5, 2025

US12379176 - Remotely activated firearm accessory

The invention relates to an electronic device that is used to block the accessibility of a firearms Trigger. Wherein an electronic device is mounted on a rail or rail accessory and is locked in place using a lock and frame allowing the device to fit an array of firearms. The lock and frame are in place to stop easy removal unless the possessor has the key to remove them. The device its self uses a battery to operate and picks up or sends a broadcasted transmission within a programmed range by the use of a printed circuit board (PCB) capable of receiving or sending a broadcasted transmission. Once the transmission has been picked up or sent and received it activates the electronic devices locking mechanism in the form of a electromechanical mechanism causing it to shift and allows a slide placed in front of the trigger acting as a second trigger to move back and forth allowing the movement of the firearms trigger. The slide is moved back into its original position by the use of a spring driven mechanism. When the worn device or the electronic device is out of the programmed range, the electromechanical mechanism returns to its locked state stopping access to the trigger. Making the trigger locking device a beneficial reusable safety device.

Aug 5, 2025

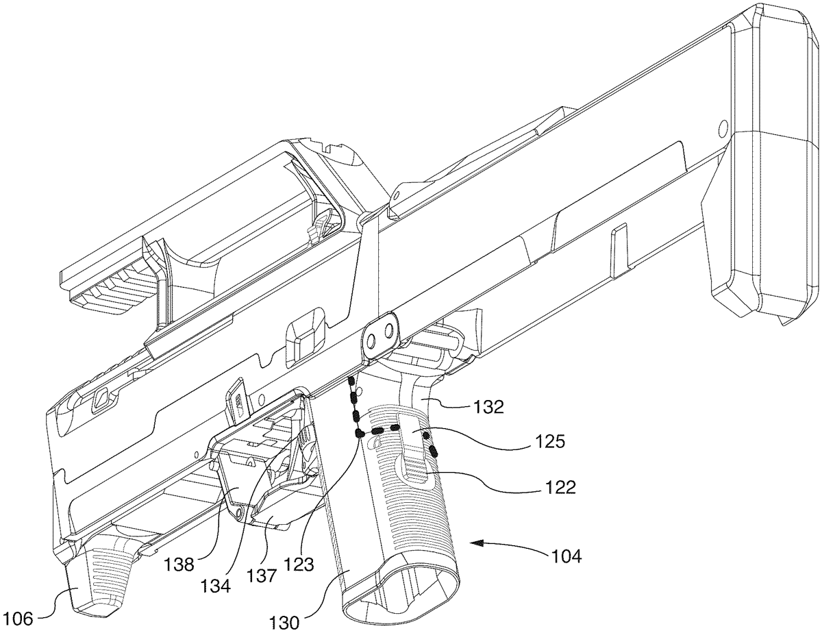
US12379178 - Modular firearm trigger system

A trigger system having a detachable trigger shoe. The trigger shoe is made detachable from the trigger bow while the trigger bow remains in an installed state within the pistol. A selectable detachment feature is provided for the connection between the trigger shoe and the trigger bow. The user can activate this detachment feature and remove the shoe while leaving the trigger bow in place. The user can then install a different trigger shoe while the trigger bow remains in place.

Jul 29, 2025

US12372316 - Takedown lever, takedown safety, and trigger shoe

A handgun trigger has a trigger body configured for pivotable or rotatable movement when installed in a handgun. A trigger shoe is removably attached or attachable to the trigger body and defines a user interface for firing the handgun. The trigger shoe can be made of polymeric material and can be attached to the trigger body using a snap fit. For example, the trigger shoe snaps over rear-facing surfaces of the trigger body when installed. Also disclosed is a takedown lever assembly for a semiautomatic handgun, where the takedown actuation lever operable between a firing position and a takedown position. In the takedown position the takedown actuation lever permits removal of the slide from the frame. In the takedown position the trigger is blocked from rotating to the pulled trigger position.

Jul 29, 2025

US12372319 - Fire control mechanism

The present disclosure provides systems and techniques for a fire control mechanism that is implementable in a gun. The fire control mechanism is operable to cause projectiles to be fired by the gun. The gun may include a trigger, a barrel defining a bore axis, a firing component, and an actuator configured to i) obstruct the firing component while in a default position and ii) be displaced in a direction that is substantially perpendicular to the bore axis in response to movement of the trigger, where displacement in the direction that is substantially perpendicular to the bore axis causes the firing component to be released and results in the gun firing a projectile. The gun may include an energy store located below the barrel when the gun is in an upright position, and the actuator may be displaced based on the energy store.

Jul 8, 2025

US12352519 - Loaded-chamber indicator firearm trigger device

A loaded-chamber indicator firearm trigger device is provided. The device is comprised of a firearm with a trigger (or only a trigger in one embodiment), wherein the trigger is comprised of an exterior side surface with at least one indicia. The indicia is only visible outside of the frame of the firearm when the firing pin of the firearm is engaged (which causes the portion of the trigger the indicia is positioned on to move outside of the frame of the firearm). As a result, the observability of the indicia on the trigger indicates the firearm has an engaged firing pin and is ready to fire.

Jul 1, 2025

US12345488 - Self-loading pistol with a pre-cocked firing pin with an assembly for safe disassembling

A self-loading pistol with a pre-cocked firing pin and with an assembly for safe disassembling, comprising a trigger bar ( 7 ) with a peripherally at least partly closed frame part ( 7 c ) to surround a pistol magazine ( 39 ). The frame part ( 7 c ) having, with respect to the shooting direction, a vertical surface ( 7 m ) arranged on its rear side, and on the front side, a lug ( 7 f ) for catching a firing pin ( 3 ). The trigger bar ( 7 ) is arranged in the pistol frame on a cross pin ( 29 ) that crosses the vertical surface ( 7 m ). The trigger bar ( 7 ) is moveable by means of a trigger ( 15 ). In the pistol frame, over the trigger bar ( 7 ), a disassembling lever ( 11 ) is arranged that has a button ( 11 d ) and a pivot ( 11 a ) that carries a cam ( 18 ) for engagement with the trigger bar ( 7 ). The cross pin ( 29 ) passes through a guide cam ( 7 e ) arranged in the vertical surface ( 7 m ). The vertical surface ( 7 m ) has, at its side facing the magazine ( 39 ), a contact surface ( 7 i ) for the magazine ( 39 ). An arm ( 7 k ) protrudes from the frame part ( 7 c ) at its front side with respect to the shooting direction. A pulling thumb ( 7 a ) and at a distance from it, a support stop ( 7 j ) being arranged at the free end of the arm ( 7 k ). The cam ( 18 ) has a nose ( 18 a ) at one side and a protrusion ( 18 b ) at the opposite side. The nose ( 18 a ) reaches between the pulling thumb ( 7 a ) and the supporting stop ( 7 j ) of the trigger bar ( 7 ). The protrusion ( 18 b ) is bringable into a recess ( 1 a ) at the facing side of the slide ( 1 ).

Jul 1, 2025

US12345489 - Trigger mechanism for a firearm

Embodiments of the present disclosure relate to trigger mechanisms for firearms. In one aspect of the present disclosure, the trigger mechanism can include a linkage between a striker sear and a main sear to control an amount of force exerted on the main sear by the striker sear. A portion of the force exerted on the striker sear by the striker can be exerted on the main sear through the sear linkage. In another aspect of the present disclosure, trigger mechanisms are described which additionally, or alternatively utilize one or more biasing members to provide a variable trigger pull weight.

Jun 24, 2025

US12339081 - AK fire control mechanism

In some embodiments, a fire control mechanism comprises a hammer, a trigger and a safety. The hammer is rotatable about a hammer axis. The trigger is rotatable about a trigger axis and arranged to contact the hammer. The safety is arranged to interfere with rotation of the trigger. The safety comprises a second portion moveable with respect to a first portion.

Jun 17, 2025

US12332007 - Trigger block

A plurality of trigger blocks are described. Embodiments of the trigger block can be implemented as a collapsible trigger block adapted to shroud a trigger to aid in preventing accidental discharges of a firearm. The collapsible trigger block can implement a linear ratchet assembly and a stop to secure the collapsible trigger block inside a trigger guard of a firearm.

Jun 10, 2025

US12326307 - Firearm with cocking safety lever

A firearm, including a hammer, a safety lever configured to select an operation mode, a trigger, an electromechanical sear, wherein the operation modes include an electromechanical mode, and the firearm is configured so that when changing to the electromechanical mode the safety lever moves the position of the hammer to be held by the electromechanical sear instead of by the trigger. Likewise when changing the operation mode from the electromechanical mode to other modes the safety lever moves the position of the hammer so that the hammer. is released from the electromechanical sear and held by the trigger.

Jun 10, 2025

US12326309 - Trigger relocation assembly for modern sporting firearm

A trigger relocation assembly for a modern sporting firearm includes a frame enclosing a trigger of the modern sporting firearm, an assembly trigger within the frame, the assembly trigger positioned forward of the trigger, an asymmetrical transfer bar coupled to transfer movement of the assembly trigger one-to-one to the trigger, and a plurality of bushings. The bushings are configured to guide the transfer bar within the frame.

Jun 3, 2025

US12320600 - Reduced friction, low profile trigger mechanism

A trigger mechanism assembly for a firearm provides a horizontal arrangement of its sear relative to a trigger of the firearm by way of a linkage bar. The sear and a disconnector share a pivot point, wherein at each engagement surface between the pivot point and the sear and the disconnector, respectively, there is a bearing. A pair of mandibles is provided, one mandible by each of the sear and the disconnector. A spring is operatively associated between the sear and the disconnector to bias them to rotate about the pivot point dependently, whereby a first distance between the pair of mandibles is maintained. An inclined surface is provided along at least one mandible so that a downward force urged by a hammer against the inclined surface moves the disconnector independently of the sear, whereby a second distance between the pair of mandibles is greater than the first distance.

Jun 3, 2025

US12320601 - Concealable pistol

A pistol comprises a barrel connected to a frame that has a grip portion defining an elongated magazine well. A magazine defining a plurality of chambers is removably receivable within the well. A trigger assembly connected to the frame engages a magazine with a follower or cam surface by which trigger assembly advances the magazine within the well and indexes the magazine along its length to sequentially align each chamber with the barrel, and sequentially discharge each cartridge in the magazine. The follower elements may be arranged parallel to the length of the magazine so that each may be associated with a particular chamber. A “safety” condition is effectible by pushing a loaded magazine downward and into a concealable condition with its chambers out of alignment with the gun barrel and wherein a transfer bar safety blocks the hammer from inserting its firing pin into a magazine chamber.

May 27, 2025

US12313357 - Flexible hinge based trigger for a firearm

A mechanism using flexure hinges as part of the trigger and/or safety mechanism of a firearm. Flexure hinges provide relative motion between two stiff members by the elastic deformation of an arbitrarily shaped flexible connector often implemented in metallic and composite materials. The flexure hinges are formed by flexure links connecting two stiff members. The flexure links connect various parts of the trigger assembly, such as a trigger component, including a shoe, plate, or safety, to a housing of the firearm. A method of creating the mechanism provides a trigger component, a housing, and connects the two parts by a flexure link with a flexure hinge.