Assembly

Patents tagged Assembly

May 12, 2026

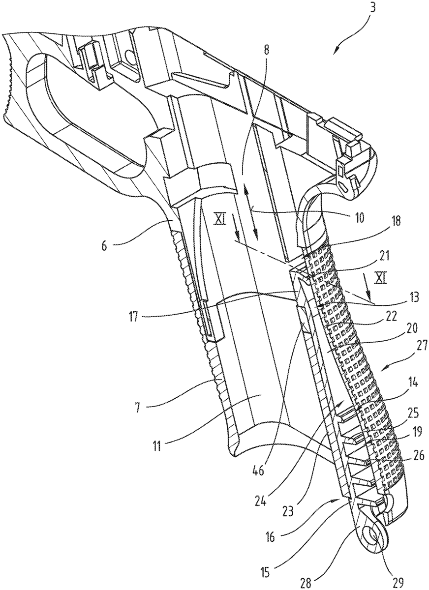
US12624912 - Slide assembly for a firearm, as well as an indicator for use in the slide assembly, and a firearm comprising the slide assembly, and a method for assembling the slide assembly

The invention relates to a slide assembly ( 2 ) for a firearm ( 1 ), the slide assembly ( 2 ) comprising: a slide ( 5 ); a barrel ( 7 ) with a cartridge chamber ( 21 ); an indicator ( 23 ) for indicating whether a cartridge ( 22 ) may be loaded in the cartridge chamber ( 21 ), wherein the indicator ( 23 ) has a first lever arm ( 24 ) and a second lever arm ( 25 ), wherein a pivot bearing ( 26 ) for pivotably receiving the indicator ( 23 ) in the slide ( 5 ) is formed between the first lever arm ( 24 ) and the second lever arm ( 25 ). The pivot bearing ( 26 ) has a first pin ( 34 ) on a first side ( 33 ) and has a second pin ( 36 ) on a second side ( 35 ) with respect to a transverse direction ( 13 ). The first pin ( 34 ) is received in the slide ( 5 ) in a first pin receptacle ( 38 ) and the second pin ( 36 ) is received in the slide ( 5 ) in a second pin receptacle ( 39 ).

May 12, 2026

US12624927 - Boltless viewport assembly for a ballistic shield

A boltless viewport assembly for a ballistic shield can include a piece of ballistic glass; a body side viewport retention sleeve, a ballistic glass holder sleeve, and a strike face side ballistic glass holder retention sleeve. The body side viewport retention sleeve can include a body side flange and an aperture insertion portion. The ballistic glass holder sleeve can include an aperture sleeve portion and a ballistic glass nest portion. The strike face side ballistic glass holder retention sleeve can include a strike face side flange. The ballistic glass can be placed in the ballistic glass holder sleeve, and the body side viewport retention sleeve can be attached to the ballistic glass holder sleeve. The strike face side ballistic glass holder retention sleeve can be attached to the ballistic glass holder sleeves.

Apr 7, 2026

US12595985 - Customer-serviceable forearm assembly

A firearm forearm assembly is provided. Generally included is a forearm retainer that is a flexible component installed in the forearm, which is then momentarily deflected to admit each action bar. Once the forearm assembly is installed in the firearm, the firearm's magazine tube is introduced and prevents further deflection of the retainer, thus locking the forearm assembly together during use. As a result, the forearm assembly is easily disassembled by the user without the use of tools by deflection of the retainer and removal of the action bars. But at the same time, the integrity of the firearm is preserved during operation.

Mar 31, 2026

US12590784 - Handle assembly

A handle assembly is described. Embodiments of the handle assembly can include a main body and a cap. The main body can be contoured to be gripped by a user and can include a chamber for receiving a canister of deterrent spray therein. The contour of the main body can generally index knuckles of a user holding the main body with a dispensing nozzle of a canister configured to dispense a deterrent. The cap can be removably coupled to the main body and can encapsulate the canister in the chamber. To dispense contents of the canister, a user may first pop the cap off to engage the canister, second the user can activate the canister, and third the user can dispense the contents of the canister.

Mar 17, 2026

US12578168 - Locking adjustment assembly and method for an optical aiming device

The application is directed to a locking adjustment assembly for an optical aiming device. The locking adjustment assembly is usable across different optical platforms regardless of the focal length of a particular optical platform. The locking adjustment assembly is operationally configured to be reset to a zero position. The locking adjustment assembly may also provide an automatic lock at a zero position.

Mar 17, 2026

US12578169 - Archery sight mounting assembly

An archery sight mounting assembly includes an elevation rail having a longitudinal axis, an elevation carriage mounted on the elevation rail and a windage assembly connected with the elevation carriage. An elevation adjustment knob is connected with the elevation carriage and is operable to displace the carriage relative to the elevation rail. The windage assembly is operable to displace a scope in a direction normal to the longitudinal axis of the elevation rail. The windage assembly is spaced from the inner circumference of the elevation adjustment knob and includes a windage adjustment knob arranged on a side of the elevation carriage opposite the elevation knob. Alternatively, the windage adjustment knob may be arranged on a side of the elevation rail opposite and beyond the elevation adjustment knob relative to the archer. Rail guide and tension assemblies are also provided between the elevation carriage and the elevation rail.

Feb 24, 2026

US12560396 - Assembly for a firearm

An assembly ( 1 ) for a firearm ( 2 ). The assembly includes a muzzle device ( 3 ) configured to be attached to the firearm ( 2 ), a substantially tubular muzzle adapter ( 9 ), a substantially tubular attachment mount ( 15 ), a substantially tubular clutch collar ( 19 ), and a device ( 23 ) such as a sound suppressor. The device ( 23 ) is releasably attached to the substantially tubular attachment mount ( 15 ) by an attachment device ( 25 ). The muzzle device ( 3 ) is configured to be releasably received in the substantially tubular muzzle adapter ( 9 ). The substantially tubular muzzle adapter ( 9 ) is attached to the substantially tubular clutch collar ( 19 ) for rotation about the longitudinal central axis A together with the substantially tubular clutch collar ( 19 ) with respect to the device ( 23 ), to the muzzle device ( 3 ) and to the substantially tubular attachment mount ( 15 ) between (i) a locking position, and (ii) an unlocking position.

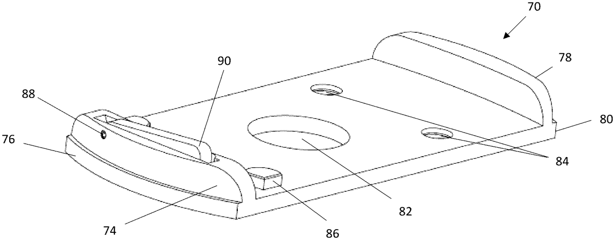
Feb 17, 2026

US12553677 - Firearm warning assembly

A firearm warning assembly includes a band comprising a first edge region having an insert hole and a second edge region opposite the first edge region having an attachment hole and an attachment insert. The attachment insert includes a base and a post extending from the base and engageable with the insert hole. A method includes engaging an attachment insert comprising a base and a post extending from the base with an insert hole in a first edge region of a band, positioning the band around a firearm, and engaging the post with an attachment hole in a second edge region of the band opposite the first edge region to secure the band to the firearm.

Feb 3, 2026

US12540789 - Firearm receiver cover and closure assembly

A firearm receiver cover and closure assembly that allows the cover to be moved between respective open and closed positions relative to an underlying receiver. The closure assembly includes a latch that defines a latch button that cooperates with a latch button opening formed in the cover. Cooperation of the latch with the receiver and the cooperation of the latch button with the latch opening formed in the cover provide fixed and repeatable vertical and lateral positioning of the cover relative to the underlying receiver, without adjustment or operation of a centering mechanism or structure, during each closing of the cover relative to the underlying receiver.

Dec 23, 2025

US12504243 - Magazine well assembly

A magazine well assembly for connecting a magazine to a firearm. The magazine well assembly has a housing defining a magazine receiving space. The magazine receiving space is adapted to receive the magazine. At least one first connector is configured to removably couple the housing to a lower receiver of the firearm.

Nov 18, 2025

US12474132 - Enhanced bolt carrier assembly

A bolt carrier assembly having a bolt carrier with at least one gas exit hole located at the bottom of the bolt carrier so as to allow the passage of gas generated from a discharged round of ammunition downward into the magazine and magazine well of a firearm, away from the user.

Oct 21, 2025

US12449214 - Hybrid ambidextrous receiver

A firearm receiver assembly includes a receiver body, a threaded mount at a rear portion of the receiver body, a magazine release assembly including a magazine release portion on at least one side of the receiver body, a bolt release assembly including a bolt release central portion and a bolt release portion on at least one side of the receiver body, and a safety selector assembly including a safety portion on at least one side of the receiver body. The bolt release central portion translates vertically within a cavity of the receiver body.

Oct 21, 2025

US12449221 - Assembly of a receiver with a barrel

An assembly of a receiver ( 1 ) with a barrel ( 4 ) wherein the barrel ( 4 ) is inserted into a barrel hole ( 7 ) in the receiver ( 1 ) and is attached in a replaceable manner by means of a clamping connection that comprises a longitudinal slot ( 2 ) that longitudinally divides the receiver ( 1 ) wall in the insertion location of the barrel ( 4 ). In the location of the longitudinal slot ( 2 ) at least two transversal screws ( 3 ) pass through the receiver ( 1 ). In the location of the longitudinal slot ( 2 ), a transversal hole ( 5 ) extends into the receiver ( 1 ) and a transversal pin ( 10 ) passes through the transversal hole ( 5 ) in such a way that the transversal pin ( 10 ) reaches into a corresponding transversal recess ( 9 ) in the barrel ( 4 ). Perpendicularly to the longitudinal axis of the transversal pin ( 10 ) a threaded hole ( 11 ) with a connecting screw ( 12 ) passes through the transversal pin ( 10 ). The connecting screw ( 12 ) further passes through a straight-through hole ( 6 ) in the receiver ( 1 ) and through a stock/frame ( 13 ) of the firearm to connect the receiver ( 1 ) to the stock/frame ( 13 ) of the firearm.

Oct 14, 2025

US12442610 - Firearm suppressor assembly

A firearm suppressor assembly includes a modular suppressor which comprises a tube and a pair of end caps each being attachable to opposing ends of the tube and a plurality of baffles each being positionable within the tube such that a first bullet hole in each of the pair of end caps is aligned with a second bullet hole in each of the plurality of baffles. A bullet from a firearm passes through the first bullet hole in the end caps and the second bullet hole in each of the plurality of baffles when the modular suppressor is attached to a firearm. Each of the plurality of baffles has a plurality of gas holes is in fluid communication with a vent hole in the tube to pass combustion gases through the gas holes and the vent hole thereby reducing the intensity of the report of the firearm.

Aug 5, 2025

US12379170 - Manual bolt assembly for a firearm

A manual bolt assembly for a firearm may include a bolt carrier, a bolt, a cam lock, and a bolt handle. The bolt carrier may include a first central passage extending from a proximal end to a distal end of the bolt carrier, and a cutout defined along a side of the bolt carrier. The bolt may extend through the first central passage and may include a second central passage extending from a proximal end of the bolt, and a first aperture extending through a wall of the bolt to the second central passage. The cam lock may engage the bolt carrier and may include an arm movably disposed within the cutout, a third central passage extending from a proximal end of the cam lock, and a second aperture extending through a wall of the cam lock to the third central passage. The bolt handle may be coupled to the cam lock and may include a lever extending away from the cam lock, and a protrusion extending through the second aperture and through the first aperture.

Jul 15, 2025

US12359887 - Firearm barrel with outer sleeve

A firearm barrel assembly having a barrel tube and an outer sleeve. A sleeve nut is threaded on the barrel tube to retain the outer sleeve on the sleeve nut and to tension the barrel tube.

Jun 10, 2025

US12326069 - Perforating gun and alignment assembly

A perforating gun and alignment assembly includes a perforating gun housing formed from a singular and monolithic piece of metal material, and an alignment ring rotatably secured to the housing. A shaped charge positioning device is positioned in a chamber of the housing.

Jun 10, 2025

US12326309 - Trigger relocation assembly for modern sporting firearm

A trigger relocation assembly for a modern sporting firearm includes a frame enclosing a trigger of the modern sporting firearm, an assembly trigger within the frame, the assembly trigger positioned forward of the trigger, an asymmetrical transfer bar coupled to transfer movement of the assembly trigger one-to-one to the trigger, and a plurality of bushings. The bushings are configured to guide the transfer bar within the frame.

Jun 3, 2025

US12320609 - Quick disassembly recoil group structure for firearms

Disclosed is a quick disassembly recoil group structure for firearms that are used in hunting and defense fields and that have various recoil groups due to its working principle, which enables simple assembly and disassembly of the recoil group using various hand tools in cases where cleaning, maintenance or part replacement is required.

May 27, 2025

US12313373 - Handguard assembly

A handguard assembly for a firearm includes an outer member disposed forward of an upper receiver of the firearm where, a barrel nut disposed within the rear cavity, and at least one alignment member. The outer member includes a rear cavity and a threaded portion. The at least one alignment member contacts both the outer member and the upper receiver for alignment.

Apr 22, 2025

US12281877 - Firearm accessory mounting assembly, firearm containing the same, and method of attachment

A quick-attachment/quick-release firearm accessory mounting assembly releasably and rotatably attached to a firearm rail, chassis, or handgun slide to receive any of a number of different accessories, such as, a telescopic sight, reflector sight, laser sight, night vision sight, thermal scope, range finder, and other secondary instruments. The mounting assembly is in the form of an adaptor plate having attachment structures for receiving the accessory on a top surface, and securing to the firearm structure on a bottom surface. The firearm is modified to receive the adaptor plate, the firearm frame having a recess portion with a center protrusion in rotatable communication with a center aperture in the adaptor plate, and having grooves or slots formed at each end of the recess portion to receive flanges at each end of the adaptor plate upon rotation.

Apr 15, 2025

US12276470 - Firearm receiver assembly

An upper receiver assembly for a firearm having an upper receiver with an integral barrel nut, a handguard assembly and a barrel nut assembly with a barrel and lock nut is provided. The barrel is received by the upper receiver and is secured directly to the upper receiver using the lock nut. The upper receiver also includes an integral handguard mounting member to which the handguard assembly may be directly attached. The upper receiver assembly allows the user to attach both the barrel and handguard assemblies directly to the upper receiver, independently of one another.