Recoil

Patents tagged Recoil

Apr 21, 2026

US12607425 - Opposing force recoil reduction in a firearm

A firearm which provides recoil reduction using the kinetic energy of the hammer to cancel a portion of the bolt's recoil after a round has been fired. After the bolt starts to move rearward in response to the detonation, the hammer's forward kinetic energy is transferred onto the bolt by striking it at the moment the bolt starts to travel rearward or after the bolt has started its rearward motion.

Apr 14, 2026

US12601560 - Buffer tube apparatus

A buffer tube apparatus for a weapon includes an outer tube defining a longitudinal axis, the outer tube having a first end configured to be coupled to the weapon and a second end opposite the first end, the second end configured to be coupled to a stock. A buffer assembly includes a shock absorber and is disposed within the outer tube. The buffer assembly is configured to absorb an impact of recoil generated by the weapon. An adjustment bar is configured to interact with the stock. The adjustment bar is coupled to the buffer assembly and slidable with respect to the outer tube along the longitudinal axis.

Apr 14, 2026

US12601561 - Recoil damping system for high pressure gas firearms

A recoil damping system includes at least one easily attached and detached spring tube of variable stiffness, absorbing the severe recoil created in firearms firing heavy-weight cartridges with high gas pressure. In the system in question, the spring tubes absorb the severe recoil that is created in firearms firing heavy-weight cartridges with high gas pressure in contrast to the known technique, and hence the impact on the shooter's shoulder is minimized. Thus, after the shot, the pain and injuries suffered by the shooter due to severe recoil are not in question any longer. The practical recoil damping system is compatible with all firearms firing heavy-weight cartridges with high gas pressure, where easily attached and detached spring tubes with variable stiffness can be applied.

Feb 24, 2026

US12560392 - Action system for firearm

An action system for reducing recoil and muzzle rise in firearms is provided. The action system includes an outer housing having an internal cavity, a buffer tube in operable communication with a bolt carrier group of a firearm, and a slidable buffer within the buffer tube. A lever arm, pivotally secured within the outer housing, is operably connected to the buffer and moves radially under the buffer's force. A spring in the cavity engages with the lever arm, compressing as the lever arm is acted upon by the linear force produced by a bolt carrier group until the spring force exceeds the linear force, thus forcing the buffer in a direction opposite the direction of the linear force.

Feb 24, 2026

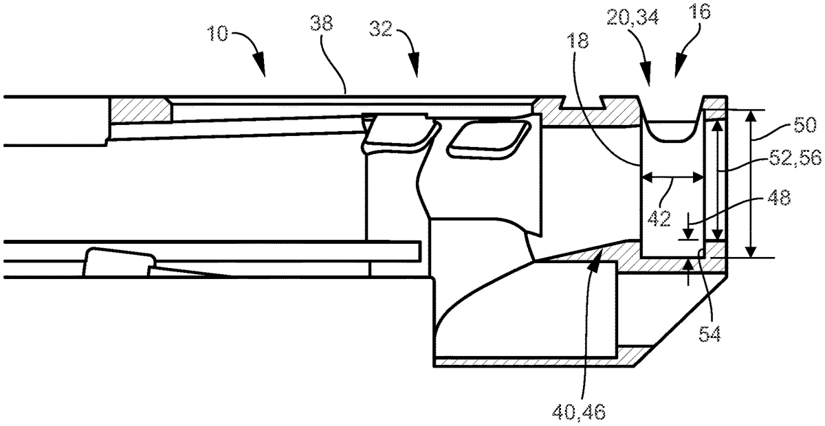
US12560402 - Recoil system

A field gun, comprising an elevating mass and a wheeled carriage. The elevating mass includes an ordnance for firing a projectile, and a cradle for holding the ordnance at a traverse and an elevation. The ordnance includes a barrel defining a barrel axis and having a muzzle towards a front end of the field gun and a breech assembly at a rear end of the barrel. The wheeled carriage is connected to the cradle and includes at least one wheel, a rechargeable electric storage device, and a regenerative braking system, which includes a brake control configured for applying a braking force to said at least one wheel in response to movement of the wheeled carriage, said movement caused by a recoil force from the firing of the projectile from the barrel.

Feb 10, 2026

US12546549 - Firearm

A firearm comprises a frame; a barrel; a hand grip; a breechblock slidable along the frame; a striker slidable in the breechblock; a longitudinal elastic device for the recovery of the recoil kinetic energy for rearming the striker; and a closing block for locking the breechblock in the closing position, the closing block having a body which extends longitudinally and having a rear wall engaged with a downward protrusion integral with the barrel, a front wall engageable with the breechblock and a longitudinal recess which opens at the front wall, where the longitudinal elastic device for the recovery of kinetic energy has a longitudinal rear portion housed in the recess and a longitudinal front portion retractable towards the inside of the recess, and is longitudinally interposed between a front stop abutment solidly constrained to the breechblock and a rear stop abutment solidly constrained to the frame.

Feb 10, 2026

US12546550 - Firearm

A firearm, particularly a gun operating by recoil exploitation, comprising: a frame; a barrel, a hand grip; a breechblock slidable for the closing of the breech of the barrel; a striker; a longitudinal elastic device for the recovery of the recoil kinetic energy of the breechblock for rearming the striker; a release lever having a coupling position and a release position of the striker; a single action trigger mechanism comprising a trigger and a trigger transmission rod operatively connected to the trigger and to the release lever, and an antagonist lever to the release lever, the mass of the antagonist lever being distributed and arranged to strain the antagonist lever with inertial forces that contrast the release lever for preventing the accidental release of the striker.

Jan 20, 2026

US12529533 - System for delayed blow-back action firearm

Provided is a blow-back bolt and recoil spring/buffer system for an autoloading firearm action. The blow-back bolt includes a bolt body and an actuator that is longitudinally movable relative to the bolt body to a limited extent by manual cycling. The recoil spring/buffer system has a longitudinal guide rod with at least one recess, a release component and a forward abutment slidably arranged together on the guide rod, a recoil spring is configured to bias the release component forwardly, and at least one roller body is arranged between the release component and the forward abutment. When the roller body is engaged in the recess, the release component and forward abutment are longitudinally slidably detained relative to the guide rod. Rearward movement of the actuator by manual cycling engages and displaces the release component such that the roller disengages from the guide rod recess to allow undetained rearward sliding movement against the recoil spring.

Jan 6, 2026

US12516899 - Hydraulic recoil device for handgun applications

A hydraulic recoil device for a handgun or pistol is provided. The device includes a cylinder defining an interior hollow compartment having a first end and a second end. The device further includes a first resilient member; a piston assembly arranged adjacent to the first resilient member and at least partially within the cylinder, where the piston assembly includes a piston head, a piston rod, and a piston cap; an accumulator arranged within the cylinder; and a second resilient member outside of the cylinder. The piston assembly is configured to remove an initial jolt in a firing cycle with a hydraulic resistance and the second resilient member is configured to provide recoil reduction after the initial jolt in the firing cycle. A method of reducing recoil in a handgun or pistol is also provided.

Dec 9, 2025

US12492878 - Recessed expansion chamber in a gun slide configured for improving recoil mitigation in firearms

A recessed expansion chamber in a gun slide is configured for improving recoil mitigation in firearms. The gun slide is for a pistol firearm with a barrel and includes a recessed expansion chamber. The recessed expansion chamber is positioned forward of the barrel end of the barrel. An expansion chamber opening is included through the gun slide in communication with the recessed expansion chamber. The recessed expansion chamber is configured to allow gases leaving the barrel at the barrel end to expand and be directed out of the gun slide through the expansion chamber opening.

Nov 11, 2025

US12467703 - Cartridges for recoil management of shoulder fired weapons

A cartridge ( 20 ) has a cartridge case ( 22 ) extending along an axis ( 500 ) from a base ( 104 ) to a mouth ( 102 ) and having an interior. A projectile ( 24 ) is mounted in the case. A propellant ( 26 ) is contained within the case. The propellant has an annular grain encircling the axis.

Nov 11, 2025

US12467710 - Self-propelled gun system

A self-propelled gun system ( 10 ) comprising a chassis ( 200 ) to which is mounted a gun barrel ( 300 ) having a gun barrel axis ( 302 ). The system also has a chassis suspension system ( 400 ) comprising a first wheel arm ( 402 ) extending away from the chassis ( 200 ) to a first wheel ( 404 ), the first wheel ( 404 ) being rotatably mounted on the first wheel arm ( 402 ), the first wheel ( 404 ) configured for engagement with, and travelling along, a support surface ( 500 ) to support the chassis ( 200 ) a distance (Dz) apart from the support surface ( 500 ). There is also provided a recoil mitigation system ( 900 ) comprising a recoil support leg ( 902 ) which extends away from the chassis ( 200 ) to a foot end ( 904 ), the foot end ( 904 ) operable to engage with the support surface ( 500 ) during firing of a projectile ( 340 ) from the gun barrel ( 300 ). The foot end ( 904 ) of the recoil support leg ( 902 ) is operable to be spaced apart from the support surface ( 500 ) when the gun system ( 10 ) is in transit. The recoil support leg ( 902 ) is configured to react against recoil force (Fr) in the z-axis from the firing of a projectile ( 340 ) from the gun barrel ( 300 ). The recoil mitigation system ( 900 ) further comprising a wheel brake control device ( 600 ) configured for applying a braking force to the chassis first wheel ( 404 ) after the firing of a projectile ( 340 ) from the gun barrel ( 300 ) and after the rotatable first wheel ( 404 ) has started rotating along the support surface ( 500 ) in response to the firing of a projectile ( 340 ) from the gun barrel ( 300 ).

Oct 28, 2025

US12455128 - Kinetic delay operating system for recoil firearms

A gun includes a kinetic delay to reduce total recoil energy transferred to a shooter and extend the time of the recoil impulse to reduce felt recoil and increase controllability. In one embodiment, a bolt of a gun is longitudinally separated from a bolt carrier of the gun such that there is a delay between firing the gun and the bolt longitudinally impacting the bolt carrier. In one embodiment, the barrel is longitudinally separated from the bolt carrier such that the barrel longitudinally impacts the bolt carrier before the barrel longitudinally impacts a barrel stop of the gun when the gun is fired. In one embodiment, a locking bolt includes a bolt pin extending through a bolt pin slot in the bolt carrier and the bolt pin slot is elongated such that the bolt pin does not contact either end of the bolt pin slot when the gun is cycled.

Oct 21, 2025

US12449223 - Firearm recoil attenuating devices

Firearm recoil attenuating devices may include a firearm support base having a base interior; a filler material in the base interior of the firearm support base, the filler material having a recoil-absorbing portion; and a recoil attenuating strap carried by the firearm support base proximate the recoil-absorbing portion of the filler material, the recoil attenuating strap configured for attachment to the firearm to transmit the recoil force from the firearm to the recoil-absorbing portion of the filler material upon firing of the firearm.

Sep 16, 2025

US12416463 - Helical electromagnetic counter recoil mechanism

An artillery configured to propel a projectile, the artillery comprising a firing mechanism, a barrel, and a helical electromagnetic recoil mechanism. The firing mechanism fires the projectile in a first direction toward a target. The barrel has an open-ended bore that guides the projectile in the first direction. The helical electromagnetic counter recoil mechanism includes an electrical energy source, a stator, and a helical electromagnetic armature. The electrical energy source provides electrical energy when the firing mechanism fires the projectile. The stator and armature generate an electromagnetic force via the electrical energy. The helical electromagnetic armature moves in a second direction opposite the first direction via the electromagnetic force when the firing mechanism fires the projectile in the first direction to minimize recoil of the artillery.

Aug 26, 2025

US12398969 - Handgun compensator

A recoil compensator for a handgun defines a through opening along a central axis, the through opening including a threaded portion configured to threadably engage the threads on the distal end portion of the barrel. The recoil compensator further defines a port in a top wall and defines fastener openings each configured to receive a taper pin. When the recoil compensator is installed on the barrel, the central axis is substantially coincident with the bore axis and the port is configured to vent a portion of propellant gases from the barrel upon firing the handgun. The threaded portion threadably engages the threads on the barrel with a distal end of the barrel positioned proximally of the port. Each taper pin is received in a respective fastener opening and engages a side of the barrel. A slide assembly and handgun including the compensator are also disclosed.

Aug 19, 2025

US12392574 - Recoil management system for a gun

A system is disclosed for extending a recoil impulse of a gun. The system elongates the recoil impulse to spread the recoil energy over time and reduce felt (i.e., peak) recoil force. Although the system adds weight to a gun, the system reduces felt recoil beyond what is possible by simply adding weight to a gun by using an inertial weight on a spring to absorb and release energy. To prevent shaking, the inertial weight system is tuned to a gun so that the inertial weight hits a pair of stops at certain points in the gun's discharge action cycle.

Aug 12, 2025

US12385704 - Firearm recoil devices, systems, and methods

A recoil system is deployed with a slide plug comprising a catch means along with a plug retainer comprising a catch means. The slide plug catch means and plug retainer catch means may be compatible to permit the slide plug catch means and the plug retainer catch means to interfit and hold the recoil system in a partially compressed configuration. A method comprising a step of interfitting a slide plug catch means with a plug retainer catch means to hold the recoil system in a partially compressed configuration is described.

Aug 5, 2025

US12379168 - Recoil bracket for a handgun

A handgun grip module assembly includes a grip module with a handgrip portion, a slide portion, and a trigger guard extending between and connecting the handgrip portion to the slide portion. The slide portion extends longitudinally along a central axis and has opposed sidewalls and a bottom wall. The slide portion defines a bracket recess in the bottom wall and defines a receiver well between the opposed sidewalls and above the handgrip portion. A recoil bracket is movably disposed in the bracket recess. In some examples, the grip module can be made of a metal or a metal-infused polymer. During use, the recoil bracket can move in response to forces exerted on it during the firing cycle.

Jul 29, 2025

US12372331 - Device for achieving frictionless linear movement in a single direction and stiffness in all other directions

A device for achieving linear movement in a single direction and stiffness in all other directions. As an example, a recoil causes strong forces in a linear movement, but any ridges will produce errors as two units each try to return to its original position. The device is a damper. The linear displacement by a recoil is mitigated using two set of blades, one absorbing the linear recoil, and a second for hindering the linear parallel deflection of the first set by the recoil or for increasing the stiffness provided by the first set of blades. The produced errors are much smaller or none as the recoil is mitigated using the very strong damper.

Jun 24, 2025

US12339086 - Hydraulic dampened high mass rotary barrel recoil system for handgun

A hydraulically dampened rotary barrel locking system for a handgun is provided which preferably includes a receiver, a barrel and a spring-loaded moveable slide. The barrel comprises one or more axially aligned locking lugs configured to allow the slide to travel down the barrel axis when the lugs align with a keyway slot in an extended lug boss at the discharge end of the slide. Felt recoil is reduced and accuracy is improved due to a more balanced slide-to-barrel mass ratio than prior art and hydraulic dampening between the barrel and slide due to improved journal bearing action.

Jun 24, 2025

US12339093 - Recoil pad assembly

A recoil pad for a firearm including at least two distinct lattice layers wherein at least one of the lattice layers is comprised of a gyroid structure designed to optimize the dissipation, redirection, absorption, and other effect of the felt recoil generated by shooting a firearm, and a protector for the recoil pad to minimize pressure placed on the recoil pad and prevent deformation, misalignment, warping, undesired compression, and damage when the firearm that the recoil pad is coupled with is transported and/or stored without removing the recoil pad.

Jun 24, 2025

US12339094 - Attaching a grip attachment or other attachment in a recoil environment at threadless region(s)

In various embodiments, an apparatus to operate in a recoil environment includes an attachment configured to slidable couple to a firearm, the attachment including a threadless region to couple to one or more corresponding threadless regions of at least one part: wherein the attachment includes: a slidable attachment interface to restrict a coupling movement of the attachment relative to the at least one part, to a fore/aft movement; and an additional interface associated with a plunger or other retaining part, the additional interface to restrict a fore/aft position of the attachment relative to the at least one part. Other embodiments may be disclosed and/or claimed.

Jun 3, 2025

US12320609 - Quick disassembly recoil group structure for firearms

Disclosed is a quick disassembly recoil group structure for firearms that are used in hunting and defense fields and that have various recoil groups due to its working principle, which enables simple assembly and disassembly of the recoil group using various hand tools in cases where cleaning, maintenance or part replacement is required.

May 20, 2025

US12305946 - Tool-less takedown rod for pistol

A recoil rod assembly is provided, including a front rod and a rear rod. A cylindrical protuberance is disposed at the rear end of the front rod or the front end of the rear rod. A cylindrical aperture is disposed at the other. The axis of the cylindrical protuberance or the axis of the cylindrical aperture is offset from the axis of the rear rod. The cylindrical protuberance is disposed in the cylindrical aperture, wherein the axis of the cylindrical protuberance and the axis of the cylindrical aperture are coaxial. The front rod is rotatable with respect to the rear rod about the coaxial axes from a first position wherein the axis of the front rod is coaxial with the axis of the rear rod to a second position wherein the axis of the front rod is offset from the axis of the rear rod.

May 13, 2025

US12298100 - Firearm accessory configured for attachment to a rail system

Disclosed is a firearm accessory with a clamping mechanism used to removably attach the firearm accessory to a rail system, such as a Picatinny rail. The clamping mechanism includes a pair of parallel engagement members and a reversibly extendable recoil lug, which is disposed within a guide groove in the firearm accessory. Additionally, the clamping mechanism includes a threaded fastener that is operatively connected to the recoil lug and is used to advance the recoil lug from, and retract the recoil lug into, the guide groove.

May 6, 2025

US12292250 - Recoil buffer assembly

A recoil buffer assembly for cushioning the impact of recoiling components of a firearm. The recoil buffer assembly comprises a first spring, a second spring, and a buffer. The first spring extends along a first axis. The second spring extends along the first axis. The buffer is positioned between a first end of the second spring and a second end of the first spring. The first spring is configured to act between the buffer and a bolt within the firearm. The second spring is configured to act between an end of the firearm and the buffer. A receiver assembly and firearm comprising the recoil buffer assembly are also included.