Firearms and Ammunition Patent Grants

Weekly firearms and ammunition patent grants.

Jun 17, 2025

US12329219 - Traumatic brain injury protection devices

A collar sized to be worn around the neck of a human subject has at least one member that defines an arc of less than 360° and greater than 180° having a diameter, a first compressor at a first end of the arc, a second compressor at a second end of the arc and a bend angle sensor. The collar is adapted to exert an inwardly-directed force on the first and second compressors when worn. The bend angle sensor is configured and positioned to detect a bend angle of the collar, wherein the bend angle correlates to the inwardly-directed force on the first and second compressors when worn.

Jun 17, 2025

US12329270 - Combination backpack and quiver

A combination backpack and quiver apparatus includes a backpack, a quiver, a planar insert and first and second quiver mounting rods. The planar insert is received in an outer pocket of the backpack. The insert includes a plurality of elongated quiver mounting receptacles extending substantially parallel to an insert length, the quiver mounting receptacles being spaced apart across an insert width. The quiver includes a hood, first and second elongated quiver rails extending from the hood, and at least one resilient arrow holder mounted on the rails and including a plurality of laterally open arrow receiving recesses defined in the resilient arrow holder. The first and second quiver mounting rods are received in first and second ones of the quiver mounting receptacles and are attached to the at least one resilient arrow holder to mount the quiver on the backpack.

Jun 17, 2025

US12330782 - Steerable rotating projectile

A method for controlling a flying projectile which rotates during flight, comprising: determining an angle of rotation of an inertial mass spinning about an axis during flight, and controlling at least one actuator for altering at least a portion of an aerodynamic structure, selectively in dependence on the determined angle of rotation and a control input, to control aerodynamic forces during flight. An aerodynamic surface may rotate and interact with surrounding air during flight, to produce aerodynamic forces. A sensor determines an angular rotation of the spin during flight. A control system, responsive to the sensor, produces a control signal in dependence on the determined angular rotation. An actuator selectively alters an aerodynamic characteristic of the aerodynamic surface in response to the control signal.

Jun 17, 2025

US12332005 - User authentication at an electromechanical gun

The present disclosure provides systems and techniques for authenticating a user at gun. The gun may include an authentication manager capable of implementing logic, processing signals, or executing instructions. The authentication manager may receive first query data from a first authentication sensor of the gun, receive second query data from a second authentication sensor of the gun, perform an authentication procedure to determine whether the first query data or the second query data matches enrollment data, where a match is determined based on the first query data or the second query data and the enrollment data satisfying a similarity threshold. The authentication manager may determine that the user is authorized to operate the gun and transmit a signal in response to the determining that the user is authorized to operate the gun. The signal may cause the gun to enter an active state which allows the gun to be fired.

user_authentication electromechanical firearm
Jun 17, 2025

US12332006 - Firearm magazine retention system with positive positioning feature

A firearm magazine retention and release system providing a motion-limiting engagement between a firearm and a magazine. The magazine is provided with a catch opening. The firearm is provided with a magazine catch having a protrusion positioned to engage the catch opening. The protrusion includes one or more sloping surfaces that provide a greater vertical engagement as the protrusion is urged further into the catch opening. The result is that the protrusion engages one or more edges of the catch opening—thereby inhibiting vertical travel of the magazine with respect to the firearm.

firearm magazine retention system
Jun 17, 2025

US12332007 - Trigger block

A plurality of trigger blocks are described. Embodiments of the trigger block can be implemented as a collapsible trigger block adapted to shroud a trigger to aid in preventing accidental discharges of a firearm. The collapsible trigger block can implement a linear ratchet assembly and a stop to secure the collapsible trigger block inside a trigger guard of a firearm.

trigger firearm safety
Jun 17, 2025

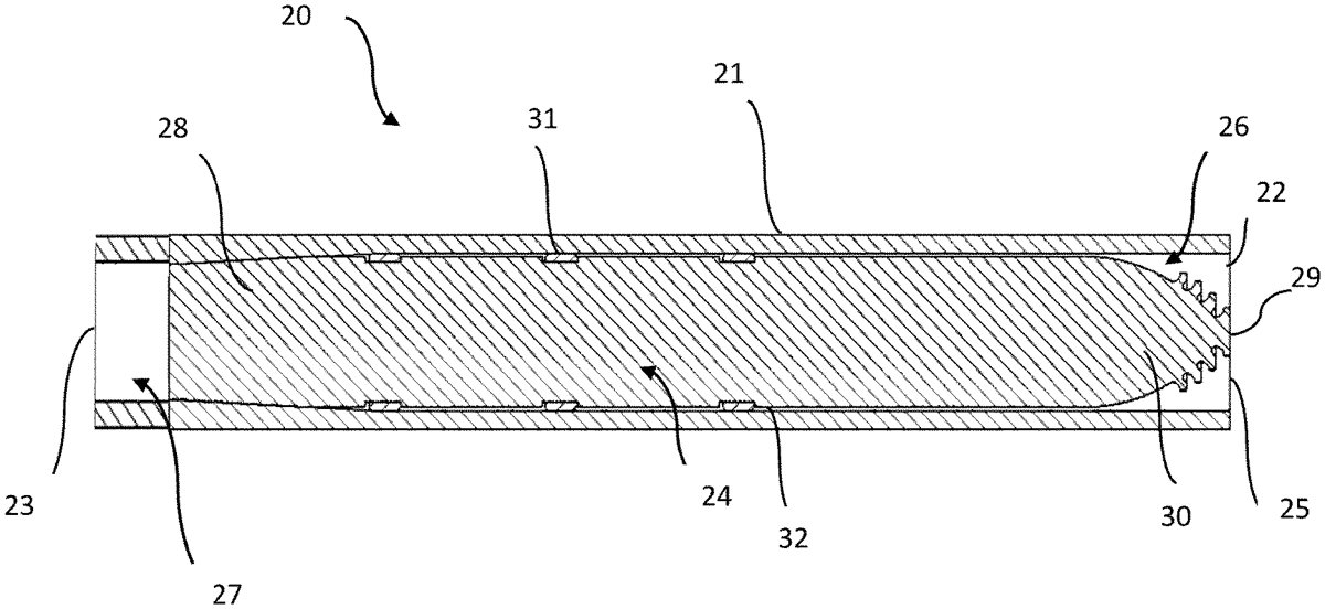
US12332008 - Firearm suppressor integrated with handguard

A suppressor assembly for a firearm having a receiver and a barrel connected to the receiver which includes a tube adapted to be coupled to the receiver and which serves as the handguard for the firearm. The tube circumferentially encloses and extends along the barrel and defines ports arranged proximate to the receiver and apertures arranged near the muzzle end. Near the ports is a modulator that adjusts the openings of the ports. Coupled to the end of the tube is noise suppression tube wherein orifices to vent propellant gases and a baffle assembly is disposed. Propellant gases expand within the expansion volume and exit the suppressor through the ports, the apertures, the orifices and through the opening for the bullet in the end cap.

firearm suppressor handguard
Jun 17, 2025

US12332009 - Arrangement of an elevation device for a vehicle mounted weapon system

The present invention relates to an arrangement for an elevation device of a vehicle mounted weapon system. The weapon system comprise a weapon and a feeding chute. Said elevation device is arranged to allow elevation movement of the weapon about an elevation axis. Said elevation is performed in connection to sides of said elevation device about said elevation axis. Said feeding chute is configured to be arranged in connection to one side. Said arrangement comprises an arc-shaped sector bearing device of a bearing configuration for facilitating said elevation. Said bearing device is arranged in connection to a front portion at said one side at a radial distance from said elevation axis so as to provide space for said feeding chute on said one side in connection to said elevation axis. The invention also relates to a vehicle with an arrangement according to the present invention.

vehicle weapon elevation ammunition
Jun 17, 2025

US12332010 - Weapon slide cover

The present disclosure provides systems and techniques that can be implemented in a gun. The gun may include or be coupled with a slide cover. The slide cover may include a first slide cover recess along a latitudinal axis of the slide cover, the first slide cover recess comprising a first cavity of a first portion of the slide cover and a first cavity of a second portion of the slide cover. The slide cover may include a second slide cover recess along the latitudinal axis of the slide cover, the second slide cover recess comprising a second cavity of the first portion of the slide cover and a second cavity of the second portion of the slide cover. The slide cover may include a first retainer coupling a sight component with the slide cover such that a longitudinal axis of the sight component is substantially parallel with a longitudinal axis of the slide cover.

firearm slide gun accessory
Jun 17, 2025

US12332011 - Inert launch control simulator

An electronic device ( 210 ) is provided for simulating launch activation of a missile. The missile has a rocket motor and a payload. The device connects to a launch controller ( 380 ) for the motor and an ordnance controller ( 390 ). The device includes a direct current (DC) power supply ( 220 ); a circuit board ( 440 ); a payload jack ( 340 ); and data jacks ( 350, 360 ). The circuit board ( 440 ) includes a voltage regulator ( 570, 580 ), a thrust vector control (TVC) circuit ( 510 ), input, output and power plugs ( 550, 560, 590 ). The power plug ( 590 ) connects to the power supply ( 220 ). The payload jack ( 340 ) connects the output plug ( 560 ) to the ordnance controller ( 390 ) and to the TVC circuit ( 510 ). The output data jack ( 350 ) connects the circuit board ( 440 ) to the ordnance controller ( 390 ). The input data jack ( 360 ) connects the circuit board ( 440 ) to the launch controller ( 380 ). The circuit board ( 440 ) receives a signal from the launch controller ( 380 ) to which said ordnance controller ( 390 ) responds.

Jun 17, 2025

US12332012 - Gas-operated firearm

A gas-operated firearm has a frame, a barrel defining a bore having a forward muzzle end and an opposed rear end defining a chamber, a bolt assembly received in the frame and operable to reciprocate between a battery position and a recoil position, the barrel defining a gas aperture communicating with the bore, a gas operating system connected to the frame, having a gas inlet, and operably connected to the bolt assembly to move the bolt assembly from the battery position toward the recoil position, and the gas inlet being forward of the gas aperture. There may be a gas conduit extending forward from the gas aperture to the gas inlet. The gas aperture may be proximate the rear end of the barrel. Unlike conventional gas-operated firearms, the barrel is free of contact with any other elements except proximate the rear end of the barrel.

firearm gas-operated
Jun 17, 2025

US12332013 - Firearm with dual feed magazine

A firearm with dual feed magazine has a frame defining a magazine well and defining a forward and rearward direction, a magazine configured to be received in the magazine well in a retained position, the magazine including a tubular body having an upper end and an opposed lower end, the tubular body defining adjacent first and second elongated passages, a first spring and first follower received in the first elongated passage, a second spring and second follower received in the second elongated passage, the first elongated passage configured to receive a first stack of ammunition, and the second elongated passage configured to receive a second stack of ammunition. The tubular body may include a divider between the first and second elongated passages and is configured to separate the first stack of ammunition from the second stack of ammunition. The divider may be a flat wall.

firearm magazine ammunition
Jun 17, 2025

US12332014 - Foldable break barrel airgun

A foldable break barrel air gun that is movable from a stowed configuration to a use configuration. The foldable break barrel air gun includes a stock having a butt stock pivotally connected to a forestock in which a firing engine is located. A barrel having a muzzle end and a breech end is provided, with the barrel being pivotally connected to the forestock proximate the breech end. A cocking linkage has a first portion that is pivotally connected to the barrel and a second portion that is connected and/or engaged with the firing engine by a releasable linkage connection. With the releasable linkage connection released, the butt stock is foldable relative to the forestock, and the barrel is foldable relative to the forestock such that the butt stock is arranged in proximity to and preferably attachable to the barrel proximate to the muzzle end in the stowed configuration.

Jun 17, 2025

US12332015 - Firearm stock with hydraulic dampening

The disclosure relates to the firearms and accessories manufacturing sector, and more specifically to a stock with a hydraulic damping system and anatomical regulation that supports and controls the shooter, allowing them to hold the weapon stably while aiming and firing accurately. This invention discloses a stock with a hydraulic damping system that aims to significantly reduce the impact of firing on firearms. The stock uses an internal hydraulic mechanism that absorbs and disperses some of the energy generated by the impact, providing a smoother and more comfortable shooting experience for the shooter. The hydraulic damping system consists of a piston, oil chamber and valve assembly designed to work together. When the gun is fired, the impact causes the piston to move inside the oil chamber, compressing the hydraulic fluid. This movement creates a controlled resistance, which helps cushion the impact and dissipate the energy of the gun shot.

firearm stock damping accessories
Jun 17, 2025

US12332016 - Firearm stock or arm brace

This disclosure describes a firearm stock or arm brace with an adjustable length of pull. The stock or arm brace can include a body and lower stock, where the body includes a buffer tube receiving aperture and the lower stock includes a hollow cavity with a plunger and two concentric springs therein. One or more buttons can be affixed to sides of the plunger in the hollow cavity that can be used to depress the plunger against the force of one or both of the springs. One of the two springs may be shorter than the other and have a greater spring constant than the longer spring. Depressing the plunger against the taller spring may allow a user to adjust the length of pull while greater pressure and engagement of the second spring allows the stock or arm brace to be removed from a buffer tube or receiver extension.

firearm stock arm brace adjustable
Jun 17, 2025

US12332017 - Handgun brace

A brace for stabilizing a handheld device such as a handgun against a user's forearm includes a vertically elongated body adapted to detachably engage a portion of the handheld device, and an arm pivotably connected to a portion of the body. The pivotable arm is selectably moveable between a stowed position wherein the arm is vertically aligned with the body, and a deployed position wherein the arm provides a surface against which a user's forearm is removably receivable to stabilize the handheld device when the body is engaged with the handheld device.

handgun brace stabilization
Jun 17, 2025

US12332018 - Pistol holster

A pistol holster which is formed by a rigid hollow body which fully covers the entire firearm except for the grip and thus protects it from damage, containing a longitudinal inner cavity situated inside and, under the back of the holster in which cavity there is movably and flexibly seated firearm sight guide, engaged in the holes in the body of which guide are spring elements mounted and locked therein, which also fit against the flat locking plate in the cavity of the holster with the holster also containing a sight cover to secure the position of the sight guide with the locking plate and spring elements in the cavity.

pistol holster
Jun 17, 2025

US12332019 - Adjustable target sight

A target sight for a firearm includes a base for securing a body of the target sight to the firearm, a light source coupled to a carrier mount that is disposed within a carrier plate, a horizontal adjustment system for the carrier plate structured to cause the carrier plate to move horizontally within the body of the target sight, and a vertical adjustment system for the carrier mount structured to cause the carrier mount to move vertically relative to the carrier plate. Methods are also described.

firearm sight adjustable
Jun 17, 2025

US12332020 - Throw lever for a magnification ring of an optical sight

The disclosure is related to a throw lever device for use with at least one magnification ring of at least one optical sight. The throw lever device includes a base member and a lever member pivotally attached to the base member. The lever member includes a detent assembly whereby the lever member may be held in multiple fixed positions about the base member including at least one fixed operable position for turning a magnification ring and at least one fixed non-operable position.

Jun 17, 2025

US12332021 - Scope mount system with offset accessory attachment mount

A mount for attaching an optical scope to a weapon includes a base and front and rear lower clamping members extending from the base. The rear lower clamping member is axially spaced apart from the front lower clamping member. A front upper clamping member is attached to the front lower clamping member to define a front scope ring having a front cylindrical bore. A rear upper clamping member is attached to the rear lower clamping member to define a rear scope ring having a rear cylindrical bore, and wherein the front and rear cylindrical bores are co-aligned with a first axis. An accessory mount configured to receive a weapon accessory extends from the front upper clamping member and has an elongate portion extending along a second axis. The first axis and second axis are parallel and the second axis is laterally offset with respect to the first axis.

scope mount accessory firearm
Jun 17, 2025

US12332022 - Optics mount and riser system for a firearm

An optic mount modular system includes a bridge portion that is mounted on the top rail of a firearm. The bridge portion can have either an integral optics riser on which a sight can be mounted, or a top rail section. The bridge portion has a front end and a rear end, each of which have a vertical face in which there is a horizontal bore. At the top of the bridge portion at the front and rear ends there are horizontal interfaces or surfaces in which there are vertically oriented threaded bores. Accessories such as rail extension portions and magnifier mounts can be mounted to the bridge portion at the front and rear ends. These accessories can include an alignment pin or protrusion than extends from a vertical face that mates against the vertical face at the front end or rear end of the bridge portion, and the alignment pin or protrusion will fit into the horizontal bore of the front or rear end. The accessories also have a tongue that extends over the top of the bridge portion at the front end or rear end, and a threaded fastener passes through an opening in the tongue that is aligned with the vertical threaded bore in the bridge portion. A threaded fastener can then securely attach the accessory to the bridge portion.

firearm optics mount accessories
Jun 17, 2025

US12332023 - Method and apparatus for improving terminal effect of an air-burst projectile

The method and apparatus for a remote weapon station or incorporated into manually-aimed weapons. The methodology requires use of a muzzle velocity sensor that refines the aiming of the second and subsequent fires or volleys fired from weapon systems. When firing the first volley a weapon uses an estimated velocity and, at firing, the muzzle velocity of a projectile is measured. When firing the second volley a weapon's fire control calculates an aiming point using the measured velocity of the first volley.

Jun 17, 2025

US12332024 - Method and computer program product for displaying virtual shooting targets on interchangeable rifle scope devices

Shooting scopes displaying virtual shooting targets are envisaged. When a virtual shooting target is visualized and shot using the shooting scope attached to a firearm, a pre-programmed computer-based processing element cooperating with the shooting scope determines a theoretical gunshot trajectory based on the position and orientation of the firearm. The processing element correlates the theoretical gunshot trajectory with the information indicative of the positioning of the virtual shooting target and thereby determines the accuracy with which the virtual gunshot was fired. The processing element also determines the shooter's consistency based on the proximity between the points of impact for a predetermined number of shots fired by the shooter and the center of the virtual shooting target. Based on the shooter's accuracy and consistency, the complexity associated with the virtual shooting targets are varied, and such virtual shooting targets having varying complexities are presented to the shooter for target shooting practice.

Jun 17, 2025

US12332025 - Lumbar support pouch for ballistic vest

A lumbar support pouch for a ballistics vest comprises an elongate pouch having a first open end and a second open end. A laterally extending tab is attached to an upper side of the elongate pouch and is configured to attach to a lower end of a ballistics vest. A first medical kit is inserted into and retained by the first pocket and has a first grasping strap extending from the first medical kit for grasping by a user. A second medical kit is inserted into and retained by the second pocket and has a second grasping strap extending from the second medical kit for grasping by a user. The pouch and medical kits form a lumbar support for a ballistics vest when attached thereto.

Jun 17, 2025

US12332026 - Device deterring movement of a detainee

A device for deterring movement of a detainee adapted to dispense pulsed electric current to a human's epidermis and dermis. The pulsed electric current can interfere temporarily with muscular locomotion of the detainee. Embodiments of the device for deterring movement of a detainee include, but are limited to bands, gloves and vests.

Jun 17, 2025

US12332027 - Systems and methods for cooperation between cameras and conducted electrical weapons

Police officers use conducted electrical weapons (“CEWs”) and cameras. A camera and a CEW may cooperate to improve the performance and use of the CEW and evidence collection by the camera. A camera and a CEW may also cooperate to improve the safety of the user and the target. Improvements may include improving targeting of the CEW, identifying and classifying body parts of the target as suitable or unsuitable for electrode deployment, adjusting electrode trajectory prior to launch, and automating electrode launch. Evidence collection may be improved by recording placement of electrodes on the target. Safety of the target may be improved by monitoring the movements of the target and altering characteristics of the delivered stimulus signal if potential harm to the target may occur.

Jun 17, 2025

US12332028 - Composite material

A composite material ( 10 ) comprising: a base layer ( 48 ); a plurality of protective plates ( 41, 51, 51 a, 51 b ) located on the base layer ( 48 ); an attaching means ( 43 ) to connect the base layer ( 48 ) to the protective plates ( 41 ), wherein the attaching means ( 43 ) is positioned along a first direction ( 46 ) on the base layer ( 48 ) to resist pivoting of each protective plate ( 41, 51, 51 a, 51 b ) about an axis normal to the base layer ( 48 ).

Jun 17, 2025

US12332029 - Wearable personal defense device

The present invention provides a personal defense device that is suitable for use by untrained and/or handicapped individuals when attacked. The device may be used by law enforcement personnel with a reduced chance of accidental discharge of a firearm. A strap is provided that fits around the wrist or another limb of the wearer. A controller is mounted to the main body along with an actuator and a pressurized gas reservoir. A housing is mounted to the main body to protect the components and may be removable. The device may be motion activated by an accelerometer connected to a circuit or other computer that recognizes a preprogrammed set of movements. The device may be voice activated or physically triggered by the user. The controller may provide at least one data function such as time stamping, geolocation, emergency texting, cell service, web access and Bluetooth compatibility.

Jun 17, 2025

US12332030 - Feedback device for ejecting items upon hitting target surface

A feedback device which ejects items upon hitting target surface is provided, including a target body, a bull's-eye, a flagpole, a first spring, and a second spring. The target body has an installation cavity, and an installation hole is provided at the center of the front face of the target body. The bull's-eye is configured to be telescopically movable within the installation cavity and extends through the installation hole. The flagpole is also configured to be telescopically movable within the installation cavity and extends outward from the target body. The flagpole is detachably connected to the bull's-eye. The first spring is positioned within the installation seat and drives the bull's-eye to extend forward. The second spring is located within the installation cavity and drives the flagpole to extend outward. This allows players to quickly determine whether the bull's-eye has been hit, providing convenience and enhancing enjoyments of shooting games.

Jun 17, 2025

US12332031 - Decoy target, system and method for protecting an object

A decoy target, system, and method for protecting moving objects. The decoy target has at least two corner reflectors which reflect radar radiation, wherein the corner reflectors are arranged in a reflector matrix in a staggered manner in terms of height, width and/or depth, specified by the at least one connecting element, corresponding to a target to be simulated.

Jun 17, 2025

US12332032 - Barrier-breaching munition

Flown munition that is rocket-propelled for hitting a target behind a barrier, and which comprises a rocket motor; and a successive payload that is mounted behind the rocket motor in a tandem configuration and is towed by it; and wherein the rocket motor is used for accelerating the munition towards the barrier and also serves as a sort of kinetic penetrator to clear a passage through the barrier for the successive pay load, which is connected to it and towed by it, and the successive payload (e.g.—a high-explosive charge) is adapted for delayed detonation following and just after said rocket motor hits the barrier.

munition rocket explosive
Jun 17, 2025

US12332033 - Munition with directional projection explosive

A munition has an explosive charge with direction explosive characteristics, such as a nonuniform detonation velocities. The explosive charge may have multiple portions of explosives with nonuniform characteristics, and/or may have portions with graded nonuniform characteristics. The explosive charge may be used to propel a material from the munition in a desired manner. For example the material may be fragments that are part of a fragmentation munition. Alternatively the material may be a layer of a material, such as a metal, that produces an explosively formed penetrator or shaped charge. The explosive charge may be configured to control the spread and/or direction of the material to be propelled from the munition.

munition explosive fragmentation shaped_charge
Jun 17, 2025

US12332034 - Initiator head with circuit board

An initiator head may include a housing extending in an axial direction, a circuit board provided in an interior space of the housing, a line-in terminal provided on a first side of the housing in the axial direction and accessible from an exterior of the housing, and a fuse displaced from the circuit board in the axial direction. A thickness direction of the circuit board may be substantially parallel with the axial direction. The line-in terminal may be in electrical communication with the circuit board. The fuse may be in electrical communication with the circuit board. The circuit board may be configured to activate the fuse in response to a control signal received at the line-in terminal.

Jun 17, 2025

US12332035 - Customizable projectile designed to tumble

Projectiles and methods of making and using same are disclosed herein. A projectile comprises a first portion having a first cylindrical portion having a first flat end surface, a first section extending from the first cylindrical portion at a first acute angle, a second section extending from the first section at a second acute angle, and a tip section extending from the second section and terminating in a pointed tip. The projectile includes a second portion having a second cylindrical portion having a second flat end surface and a trailing portion having a generally frustoconical shape. The trailing portion tapers towards a trailing end of the projectile. A post couples the first cylindrical portion and the second cylindrical portion. The post is in contact with each of the first flat end surface and the second flat end surface.

projectile ammunition tumble
Jun 17, 2025

US12332036 - Automatic retention firearm magazine carrier

An automatic retention firearm magazine includes a mounting plate, a face plate, and a web. The mounting plate and the face plate are arranged opposite to each other. Each of the first side and second side of the mounting plate comprises a plurality of mounting plate attachment points. Each of the first side and second side of the face plate comprises a plurality of face plate attachment points. The web comprises a plurality of mounting plate complementary attachment points and a plurality of face plate complementary attachment points corresponding to the plurality of mounting plate attachment points and the plurality of face plate attachment points, respectively. The web is resilient to provide a retention force to keep the mounting plate and face plate in position.

firearm magazine carrier
Jun 17, 2025

US12332037 - Switch assembly

A switch assembly and a method of effecting a battery to initiate. The switch assembly includes a support that is adapted to operably engage with a battery. The switch assembly also include a slide operably engaged with the support and moveable in a first direction relative to the support between a primed position and a released position. The switch assembly also includes a cover operably engaged with the support and enclosing the slide. The switch assembly also includes a firing pin mechanism operably engaged with the support, the slide, and the cover and moveable in a second direction relative to the slide and the support. In the switch assembly, the second direction of the firing pin mechanism is different than the first direction of the slide.

Jun 17, 2025

US12332038 - Efficient cut blasting method for medium-length holes in deep high-stress rock roadway based on crustal stress induction effect

An efficient cut blasting method for medium-length holes in deep high-stress rock roadway is disclosed. The method may comprise steps of carrying out a crustal stress blasting test on the free face of the in-situ rock roadway to be excavated, and obtaining a distribution state of cracks under a synergistic action of crustal stress, explosion stress waves and clamping force of surrounding rock of a rock mass in the stratum where the in-situ rock roadway to be excavated is located; arranging a cutting hole net on the free face of the rock roadway to be excavated according to a distribution state of the cracks; performing cut blasting based on the cutting hole net.

Jun 17, 2025

US12332039 - Avalanche triggering apparatus

An avalanche triggering apparatus having a tower, a detonation chamber, and gas supply lines that are configured to deliver fuel gas and oxidizer to the detonation chamber. The flow is gas is controlled remotely, and a spark plug is configured to ignite gases within the detonation chamber based on the flow of fuel gas through a flow switch that acts as a sensor. The detonation chamber has a closed, rounded top and an open bottom end that is configured to face a snow surface. The detonation chamber is connected to the tower via mounting brackets and two pairs of isolator springs. Each isolator spring is comprised of a helical cable isolator that is inserted through a plurality of holes in two aluminum members in a helical configuration. The tower is comprised of at least two sections that are secured together via flanges.

Jun 17, 2025

US12332040 - Ordnance disarming device

An ordnance disarming device in the form of a percussion active, non-electric disrupter has an outer barrel and an inner barrel extending through the outer barrel. A receiver/breech cap is threaded onto the forward end of the inner barrel. The receiver/breech cap has exhaust ports for expelling combustion gasses, so as to function as a muzzle brake. The receiver/breech cap automatically centers the inner barrel in the outer barrel, such that the assembly is self-centering. No O-rings are needed, such that the device can be used in extreme temperatures.

ordnance disarming firearm
Jun 17, 2025

US12333876 - Techniques for dynamically managing a gun component

The present disclosure provides systems and techniques for dynamically operating a peripheral component of a gun, such as a flashlight, an electronic sight, or a haptic motor. The gun may perform an authentication procedure to identify a user operating the gun, retrieve a configuration file from memory housed in the gun in response to the authentication procedure, and perform a function at the peripheral component based on the configuration file indicating that the function is to be performed for the user. The gun may collect authentication data, such as biometric data or token data, and the gun may identify the user operating the gun based on the authentication data. The user operating the gun may be identified in response to matching the collected authentication data to authentication data stored in the memory, and the gun may determine the function based on the configuration file indicating the function for the user.

Jun 17, 2025

US12334638 - Low-profile passive reflectors for radar detection of road markings

Low-profile radar reflectors are provided for reradiating when illuminated by a vertically-polarized incident wave generated by an automotive radar. One example reflector includes a ground plane, a substrate having a top surface and a bottom surface, and radiating elements positioned on the substrate. Each radiating element includes opposing vertical metallic side segments connected to the ground plane, and a horizontal metallic segment extending between the opposing vertical metallic side segments and along the top surface of the substrate. The horizontal metallic segment of each radiating element has a defined length such that, when the radiating element is illuminated by a vertically-polarized incident wave from an automotive radar, each radiating element is at its resonance causing currents in the opposing vertical metallic side segments to flow in the same direction and reradiates back to the automotive radar. Other example low-profile reflectors and methods of fabricating low-profile reflectors are also disclosed.

Jun 10, 2025

US12325224 - Lightweight, low-thickness, durable and reliable multi-band radar stealth-bulletproof integrated metamaterial

A lightweight, low-thickness, durable, and reliable multi-band radar stealth-bulletproof integrated metamaterial includes a ceramic layer, an ultrahigh molecular weight polyethylene (UHMWPE) fiber composite bulletproof layer, a graphene-based metamaterial filter layer, an UHMWPE fiber composite attenuation layer, and a carbon fiber composite reflective layer stacked in sequence. The two UHMWPE fiber composite layers are configured to attenuate radar waves. The circuit resonance of the graphene-based metamaterial filter layer is configured to generate a passband and a stopband simultaneously. The bulletproof layer and the attenuation layer are controlled by the graphene-based metamaterial filter layer in terms of working conditions in different radar frequency bands to establish a structure capable of generating λ/4 resonance at both low and high frequencies, so as to arrive at a stealth-bulletproof integrated metamaterial with small thickness and excellent dual-band radar wave absorption capability.

Jun 10, 2025

US12325520 - Ammunition support system

The present invention relates to an ammunition (M) attached to the air vehicle for attacking its target; at least one body ( 2 ) on the air vehicle, which is a structural part; at least one sway brace ( 3 ) which contacts the ammunition (M) to support the ammunition (M); at least one rotating rod ( 4 ) located on the body ( 2 ) so as to rotate around an axis on which it is supported on the body ( 2 ), wherein the rotating rod ( 4 ) is rotated to allow the sway brace ( 3 ) to be moved.

ammunition support system
Jun 10, 2025

US12326068 - Perforating gun system

An improved perforating gun system. The perforating gun system includes a perforating gun having a shaped charge positioning tube that is securely received within a female opening in a tandem to provide a 360-degree connection to ground. The shaped charge positioning tube includes segmented end portions that extend over first and second contact housings. Each contact housing includes a contact pin that is biased outwardly by a spring, the spring comprising a portion of an electrical path for a firing signal.

firearm perforating gun system
Jun 10, 2025

US12326069 - Perforating gun and alignment assembly

A perforating gun and alignment assembly includes a perforating gun housing formed from a singular and monolithic piece of metal material, and an alignment ring rotatably secured to the housing. A shaped charge positioning device is positioned in a chamber of the housing.

perforating firearm assembly
Jun 10, 2025

US12326307 - Firearm with cocking safety lever

A firearm, including a hammer, a safety lever configured to select an operation mode, a trigger, an electromechanical sear, wherein the operation modes include an electromechanical mode, and the firearm is configured so that when changing to the electromechanical mode the safety lever moves the position of the hammer to be held by the electromechanical sear instead of by the trigger. Likewise when changing the operation mode from the electromechanical mode to other modes the safety lever moves the position of the hammer so that the hammer. is released from the electromechanical sear and held by the trigger.

firearm safety trigger mechanism
Jun 10, 2025

US12326308 - Detection of articles in a security zone using radio frequency identification tag embedded within the article

A system and method for detecting the presence of firearms and metal articles adapted with embedded RFID tags is disclosed. A plurality of RFID interrogators sequentially and intermittently transmit short burst interrogating signals thereby causing RFID tags within range to transmit a responsive signal which may be used to activate alarms and other security measures. RFID tags are configured using an ASIC chip enabled for 10 Ghz wireless communication. The ASIC chip is embedded within a bolt carrier that includes a slotted antenna aperture resulting in extended range wireless communication. A plurality of RFID interrogators are installed in an detection area and transmit a radio frequency signals which excite any RFID enabled devices within range causing the devices to generate and transmit a response signal which may be used to trigger a variety of security measures such as sounding an alarm, locking doors, contacting law enforcement, etc.

Jun 10, 2025

US12326309 - Trigger relocation assembly for modern sporting firearm

A trigger relocation assembly for a modern sporting firearm includes a frame enclosing a trigger of the modern sporting firearm, an assembly trigger within the frame, the assembly trigger positioned forward of the trigger, an asymmetrical transfer bar coupled to transfer movement of the assembly trigger one-to-one to the trigger, and a plurality of bushings. The bushings are configured to guide the transfer bar within the frame.

trigger firearm assembly modern_sporting
Jun 10, 2025

US12326310 - Firearm noise suppressor

A suppressor system for a firearm having aligned sleeve openings between the barrel or a central tube and an inner sleeve. The suppressor system further includes dividers located between an outer sleeve and the inner sleeve. The suppressor system provides improved noise attenuation through the expansion of hot gasses multiple cavities in the suppressor system and also by slowing the hot gasses via tortuous pathways or collision of hot gasses in the suppressor system.

firearm suppressor noise attenuation
Jun 10, 2025

US12326311 - Modular bolt action

A modular bolt action for a bolt action firearm is provided. The bolt action includes a receiver and a bolt assembly, the receiver being reconfigurable in a variety of different ways to accommodate a variety of different bolt assemblies. In this way, the modular bolt action can be reconfigured from a left-handed action to a right-handed action and/or from a two-lug action to a three-lug action. Fabrication of the modular bolt action includes adjusting the receiver to accommodate a desired bolt assembly and engaging such bolt assembly with the receiver.

bolt action firearm modular
Jun 10, 2025

US12326312 - Bullpup conversion kit and gun including the same

A bullpup conversion kit and a gun including the same are provided, wherein bullpup conversion kit includes: a housing configured to be attached to the gun; a linkage member rotatably connected to the housing, and including a first end and a second end rotatable in opposing directions, the second end being configured to actuate a trigger of the gun; a trigger rotatably connected to the housing; an adaptor associated and movable with the trigger; and a first rod connected to the adaptor and the first end of the linkage member.

bullpup conversion firearm
Jun 10, 2025

US12326313 - Firearm magazine engagement mechanisms and related techniques

The techniques described herein relate to methods and apparatus for a magazine release for a firearm. The magazine release includes an arm configured to engage with a magazine on a first side of the magazine, and an actuator operatively coupled to the arm and configured to transition the arm from a first position to a second position when actuated, wherein in the first position the arm is engaged with the magazine to hold the magazine and in the second position the arm is disengaged from the magazine, wherein the actuator is configured to be accessible from both the first side of the magazine and a second side of the magazine opposite the first side.

firearm magazine mechanism
Jun 10, 2025

US12326314 - Gun magazine base pad with cantilever spring latch mechanism

A firearm magazine base pad having a significantly reduced overall height. The base pad is slidably engaged to the bottom of the magazine tube-thereby securing a magazine spring and follower inside the tube. A plunger latch mechanism is provided to lock the base pad in place. The plunger can be depressed in order to release the base pad and allow it to slide free of the magazine tube. The plunger is biased upward by a lateral cantilever spring. A fixed end of the cantilever spring is attached to the base pad. A free end of the cantilever spring moves with the plunger.

firearm magazine base pad
Jun 10, 2025

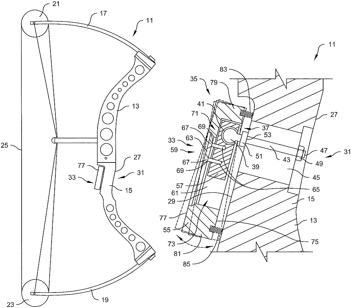
US12326315 - Archery bow limb assembly

In some embodiments, an archery bow comprises a riser, a limb member and a support member. The limb member is supported by the riser at a first location. The limb member supports an axle at a second location. The support member is supported by the riser and arranged to support the limb member. The support member contacts the limb member at a contact location. The contact location is oriented between the first location and the second location along the length of the limb member.